TOP
|
特許
|
意匠
|
商標
特許ウォッチ
Twitter
他の特許を見る
公開番号
2025163480
公報種別
公開特許公報(A)
公開日
2025-10-29
出願番号
2024066772
出願日
2024-04-17
発明の名称
建物構造、及び建物構造を含む建築物
出願人
株式会社大林組
代理人
個人
,
個人
主分類
E04B
1/58 20060101AFI20251022BHJP(建築物)
要約
【課題】 梁の固定部に用いられる金属材料を、固定部を下方から見上げたときに見え難くする。
【解決手段】 金属プレートと、上下方向に視て、金属プレートに重なるようにそれぞれの先端部が配置される木製の複数の梁と、金属プレートに複数の梁のそれぞれの先端部を、固定する第1固定部材とを備え、金属プレートは、下方から視て、複数の梁のそれぞれの先端部により隠される、建物構造が開示される。
【選択図】図3
特許請求の範囲
【請求項1】
金属プレートと、
上下方向に視て、前記金属プレートに重なるようにそれぞれの先端部が配置される木製の複数の梁と、
前記金属プレートに前記複数の梁のそれぞれの先端部を、固定する第1固定部材とを備え、
前記金属プレートは、下方から視て、前記複数の梁のそれぞれの先端部により隠される、建物構造。
続きを表示(約 610 文字)
【請求項2】
前記複数の梁は、上下方向に視て前記金属プレートに重なる側の前記先端部が、他方側の先端部よりも上方に位置する態様で、水平面に対して傾斜して配置され、
前記金属プレートが上端を覆うように設けられる柱と、
前記金属プレートを前記柱の上端に上方から固定する第2固定部材とを更に備え、
前記金属プレートは、下方から視て、前記複数の梁と前記柱により全体が隠される、請求項1に記載の建物構造。
【請求項3】
前記金属プレートは、上下方向に視て、円形の形態であり、
前記複数の梁は、上下方向に視て、前記金属プレートと重なる領域において、先細りの形態を有する、請求項2に記載の建物構造。
【請求項4】
前記複数の梁は、上下方向に視て、前記柱を中心として放射状に配置され、かつ、上方から上下方向に視て、前記柱の少なくとも一部が見えるように、前記先端部同士が長手方向で離れており、
前記第2固定部材は、上下方向に視て、前記柱の少なくとも一部に重なる、請求項3に記載の建物構造。
【請求項5】
前記複数の梁のそれぞれの先端部を支持する構造に含まれる金属は、前記金属プレート、前記第1固定部材、及び第2固定部材からなる、請求項2に記載の建物構造。
【請求項6】
請求項1から5のうちのいずれか1項に記載の建物構造を含む建築物。
発明の詳細な説明
【技術分野】
【0001】
本開示は、建物構造、及び建物構造を含む建築物に関する。
続きを表示(約 1,200 文字)
【背景技術】
【0002】
建築物の梁を支持する構造に金属材料を用いる技術が知られている。
【先行技術文献】
【特許文献】
【0003】
特開2003-013538号公報
特開平11-200492号公報
【発明の概要】
【発明が解決しようとする課題】
【0004】
ところで、木製の梁建を利用する建築物においては、梁の固定部に用いられる金属材料が可視となることが、見栄え等の観点から嫌われる場合がある。
【0005】
そこで、本開示は、梁の固定部に用いられる金属材料を、固定部を下方から見上げたときに見え難くすることを目的とする。
【課題を解決するための手段】
【0006】
1つの側面では、金属プレートと、
上下方向に視て、前記金属プレートに重なるようにそれぞれの先端部が配置される木製の複数の梁と、
前記金属プレートに前記複数の梁のそれぞれの先端部を、固定する第1固定部材とを備え、
前記金属プレートは、下方から視て、前記複数の梁のそれぞれの先端部により隠される、建物構造が提供される。
【発明の効果】
【0007】
本開示によれば、梁の固定部に用いられる金属材料を、固定部を下方から見上げたときに見え難くすることが可能となる。
【図面の簡単な説明】
【0008】
建物構造を含む建築物の一例を示す概略的な側面図である。
柱がない変形例の説明図である。
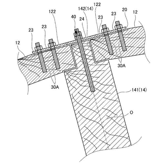
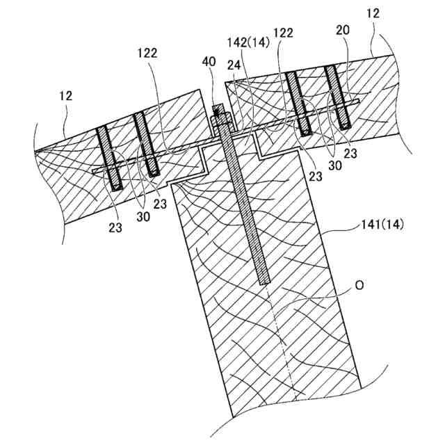
複数の梁の固定部構造の説明図であり、図1のQ3部を上方から上下方向に視た平面図である。
図3のラインA-Aに沿った断面図である。
単品状態の金属プレートの一例を示す平面図である。
複数の梁の固定部構造の他の実施例(変形例)の説明図であり、図3に対応する平面図である。
複数の梁の固定部構造の他の実施例(変形例)の説明図であり、図4に対応する断面図である。
【発明を実施するための形態】
【0009】
以下、添付図面を参照しながら各実施例について詳細に説明する。なお、図面の寸法比率はあくまでも一例であり、これに限定されるものではなく、また、図面内の形状等は、説明の都合上、部分的に誇張している場合がある。また、図面では、見易さのために、複数存在する同一属性の部位には、一部のみしか参照符号が付されていない場合がある。
【0010】
図1は、建物構造10を含む建築物1の一例を示す概略的な側面図である。図2は、変形例の説明図である。図3は、複数の梁12の固定部構造の説明図であり、図1のQ3部を上方から上下方向に視た平面図である。図4は、図3のラインA-Aに沿った断面図である。図5は、単品状態の金属プレート20の一例を示す平面図である。
(【0011】以降は省略されています)
この特許をJ-PlatPat(特許庁公式サイト)で参照する
関連特許
株式会社大林組
飛込み台
2か月前
株式会社大林組
開封装置
24日前
株式会社大林組
接合構造
1か月前
株式会社大林組
操縦装置
27日前
株式会社大林組
接合構造
27日前
株式会社大林組
加熱装置
24日前
株式会社大林組
接続構造
27日前
株式会社大林組
ドリル装置
27日前
株式会社大林組
建物の構造
1か月前
株式会社大林組
折畳み構造物
1か月前
株式会社大林組
スロープ構造
24日前
株式会社大林組
梁筋の配筋方法
16日前
株式会社大林組
床板の設置方法
2か月前
株式会社大林組
可搬式充電設備
1か月前
株式会社大林組
災害時支援装置
16日前
株式会社大林組
鋼矢板の圧入方法
1か月前
株式会社大林組
進捗管理システム
3日前
株式会社大林組
大梁胴縁接続構造
18日前
株式会社大林組
電動式運搬補助装置
26日前
株式会社大林組
構造物及び施工方法
16日前
株式会社大林組
繊維材供給システム
24日前
株式会社大林組
自動屋根開閉システム
1か月前
株式会社大林組
建設現場支援システム
17日前
株式会社大林組
柱接合構造の施工方法
16日前
株式会社大林組
クレーンの自動運転装置
1か月前
株式会社大林組
クレーン自動運転システム
1か月前
株式会社大林組
耐火構造、耐火板支持構造
1か月前
株式会社大林組
シート部材及び、施工方法
19日前
株式会社大林組
リフトアップ装置の制御装置
24日前
株式会社大林組
施工支援装置及び施工支援方法
26日前
株式会社大林組
作業補助装置及び表面処理装置
1か月前
株式会社大林組
施工支援装置及び施工支援方法
26日前
株式会社大林組
評価支援装置及び評価支援方法
25日前
株式会社大林組
有機フッ素化合物の不溶化方法
27日前
株式会社大林組
墜落防止設備及び墜落防止方法
26日前
株式会社大林組
施工支援装置及び施工支援方法
26日前
続きを見る
他の特許を見る