TOP
|
特許
|
意匠
|
商標
特許ウォッチ
Twitter
他の特許を見る
10個以上の画像は省略されています。
公開番号
2025162826
公報種別
公開特許公報(A)
公開日
2025-10-28
出願番号
2024066276
出願日
2024-04-16
発明の名称
施工支援装置及び施工支援方法
出願人
株式会社大林組
代理人
個人
,
個人
主分類
E02D
1/00 20060101AFI20251021BHJP(水工;基礎;土砂の移送)
要約
【課題】杭孔の施工を支援するための施工支援装置及び施工支援方法を提供する。
【解決手段】杭の支持層への到達の判定を支援する管理装置30は、表示装置、計測装置20に接続された制御部を備える。管理装置30が、工事現場の支持層までの地盤の深度に応じて地層情報を特定し、地盤を支持層まで掘削した深度に応じた計測情報を特定し、計測情報を用いて、地層情報における杭孔位置の地層の深度範囲に応じた地層対応計測情報を特定し、計測装置20から、新規計測情報を取得した場合、地層対応計測情報を用いて、新規計測情報において、支持層への到達に関する情報を、表示装置に出力する。
【選択図】図1
特許請求の範囲
【請求項1】
計測装置及び表示装置に接続された制御部を備え、杭孔の掘削状況の管理を支援する施工支援装置であって、
前記制御部が、
工事現場の支持層までの地盤の深度に応じて地層情報を特定し、
前記地盤を支持層まで掘削した深度に応じた計測情報を特定し、
前記計測情報を用いて、前記地層情報における杭孔位置の地層の深度範囲に応じた地層対応計測情報を特定し、
前記計測装置から、新規計測情報を取得した場合、前記地層対応計測情報を用いて、前記新規計測情報において、前記支持層への到達に関する情報を、前記表示装置に出力することを特徴とする施工支援装置。
続きを表示(約 430 文字)
【請求項2】
前記制御部が、
前記表示装置に、前記工事現場の地盤の地層モデルを表示し、
前記杭孔位置に表示した杭孔モデルに対応させて、前記杭孔の掘削時の前記計測情報を表示することを特徴とする請求項1に記載の施工支援装置。
【請求項3】
計測装置及び表示装置に接続された制御部を備えた施工支援装置を用いて、杭孔の掘削状況の管理を支援する方法であって、
前記制御部が、
工事現場の支持層までの地盤の深度に応じて地層情報を特定し、
前記地盤を支持層まで掘削した深度に応じた計測情報を特定し、
前記計測情報を用いて、前記地層情報における杭孔位置の地層の深度範囲に応じた地層対応計測情報を特定し、
前記計測装置から、新規計測情報を取得した場合、前記地層対応計測情報を用いて、前記新規計測情報において、前記支持層への到達に関する情報を、前記表示装置に出力することを特徴とする施工支援方法。
発明の詳細な説明
【技術分野】
【0001】
本開示は、杭を設置する杭孔の施工を支援する施工支援装置及び施工支援方法に関する。
続きを表示(約 1,700 文字)
【背景技術】
【0002】
構造物を建設する場合、複数の杭を支持層に打ち込むことにより、杭を介して、支持層において構造物の荷重を支える場合がある。このため、杭を挿入する杭孔を支持層にまで到達させる。しかしながら、支持層への到達確認においては、定性的な判定指標を定めることが難しい。そこで、地盤の固さを効率的に評価することができる地盤固さ推定システムが検討されている(例えば、特許文献1を参照)。特許文献1に記載された地盤固さ推定システムは、削孔深度計測器、流量計測器、電流計測器及び振動計測器において測定された値を取得する。そして、取得した計測値と固さ指標値とを、説明変数及び目的変数とした多変量解析を行なう。評価対象の杭孔の掘削時の計測値を取得した場合、これら計測値と重回帰式とにより、評価対象の杭孔が掘削された地盤における固さ指標値を推定する。
【0003】
また、建物の建設予定地の地盤の評価を支援するための評価支援装置も検討されている(例えば、特許文献2を参照)。特許文献2に記載された評価支援装置は、モデリング装置から、地層情報に基づいて生成された3次元の地層推定モデルを取得する。
【先行技術文献】
【特許文献】
【0004】
特開2021-80737号公報
特開2023-144684号公報
【発明の概要】
【発明が解決しようとする課題】
【0005】
しかしながら、工事現場の地盤は複数の地層によって構成される。このため、杭孔の掘削時の計測値は、地層構成の影響を受ける。従って、的確な掘削状況の判定ができない。
【課題を解決するための手段】
【0006】
上記課題を解決する施工支援装置は、計測装置及び表示装置に接続された制御部を備え、杭孔の掘削状況の管理を支援する。前記制御部が、工事現場の支持層までの地盤の深度に応じて地層情報を特定し、前記地盤を支持層まで掘削した深度に応じた計測情報を特定し、前記計測情報を用いて、前記地層情報における杭孔位置の地層の深度範囲に応じた地層対応計測情報を特定し、前記計測装置から、新規計測情報を取得した場合、前記地層対応計測情報を用いて、前記新規計測情報において、支持層への到達に関する情報を、前記表示装置に出力する。
【発明の効果】
【0007】
本開示によれば、杭孔の施工を支援することができる。
【図面の簡単な説明】
【0008】
実施形態における施工支援システムの概略構成の説明図である。
実施形態のハードウェア構成の説明図である。
実施形態における施工支援システムの管理装置の機能の説明図である。
実施形態における処理手順の説明図である。
実施形態における処理手順の説明図である。
実施形態における処理手順の説明図である。
実施形態における地層推定モデルの説明図である。
実施形態における地層推定モデルと杭孔モデルとの関係の説明図である。
実施形態における地層と掘削管理情報との対応付けの説明図である。
実施形態における表示画面の説明図である。
別例における表示画面の説明図である。
【発明を実施するための形態】
【0009】
以下、図1~図10を用いて、施工支援装置及び施工支援方法を具体化した一実施形態を説明する。
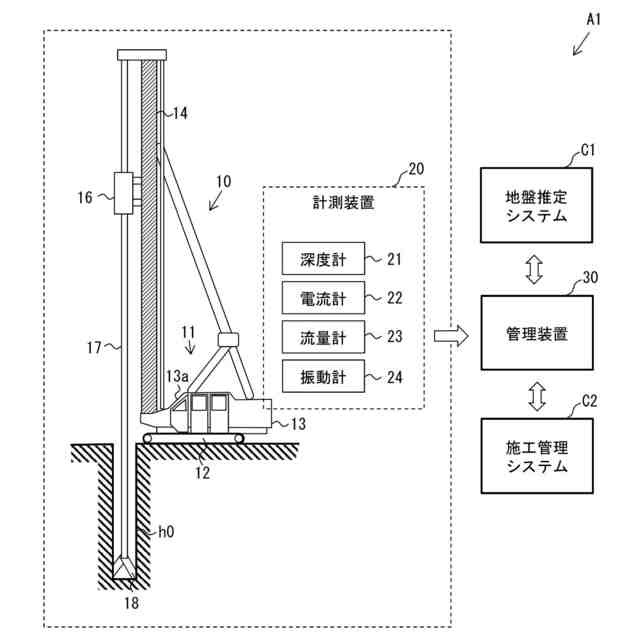
図1に示すように、施工支援システムA1は、ネットワークで接続された地盤推定システムC1、施工管理システムC2、計測装置20、管理装置30(施工支援装置)を備える。
【0010】
そして、建物の杭を設置する杭孔h0を掘削する場合、掘削装置としての掘削機10を用いる。掘削機10は、ベースマシン11、マスト14、及びオーガマシン16を備えている。ベースマシン11は、クローラ12を含む下部走行体と、操作室13aを含む上部旋回体13とを備えている。
(【0011】以降は省略されています)
この特許をJ-PlatPat(特許庁公式サイト)で参照する
関連特許
他の特許を見る