TOP
|
特許
|
意匠
|
商標
特許ウォッチ
Twitter
他の特許を見る
10個以上の画像は省略されています。
公開番号
2025162827
公報種別
公開特許公報(A)
公開日
2025-10-28
出願番号
2024066277
出願日
2024-04-16
発明の名称
施工支援装置及び施工支援方法
出願人
株式会社大林組
代理人
個人
,
個人
主分類
E02D
1/00 20060101AFI20251021BHJP(水工;基礎;土砂の移送)
要約
【課題】杭孔の施工を支援するための施工支援装置及び施工支援方法を提供する。
【解決手段】杭の支持層への到達の判定を支援する管理装置30は、表示装置に接続された制御部を備える。管理装置30が、工事現場の地盤の深度に応じた地層を特定し、地層において、杭孔位置の支持層を特定し、支持層の上面形状に応じて、杭孔の中で優先掘削位置を特定して、表示装置に出力する。
【選択図】図1
特許請求の範囲
【請求項1】
表示装置に接続された制御部を備え、杭孔の掘削状況の管理を支援する施工支援装置であって、
前記制御部が、
工事現場の地盤の深度に応じた地層を特定し、
前記地層において、杭孔位置の支持層を特定し、
前記支持層の上面形状に応じて、杭孔の中で優先掘削位置を特定して、前記表示装置に出力することを特徴とする施工支援装置。
続きを表示(約 230 文字)
【請求項2】
表示装置に接続された制御部を備えた施工支援装置を用いて、杭孔の掘削状況の管理を支援する方法であって、
前記制御部が、
工事現場の地盤の深度に応じた地層を特定し、
前記地層において、杭孔位置の支持層を特定し、
前記支持層の上面形状に応じて、杭孔の中で優先掘削位置を特定して、前記表示装置に出力する処理を実行し、
掘削機を用いて、前記優先掘削位置で、杭孔を掘削することを特徴とする施工支援方法。
発明の詳細な説明
【技術分野】
【0001】
本開示は、杭を設置する杭孔の施工を支援する施工支援装置及び施工支援方法に関する。
続きを表示(約 1,700 文字)
【背景技術】
【0002】
構造物を建設する場合、複数の杭を支持層に打ち込むことにより、杭を介して、支持層において構造物の荷重を支える場合がある。このため、杭を挿入する杭孔を支持層にまで到達させる。しかしながら、支持層への到達確認においては、定性的な判定指標を定めることが難しい。そこで、地盤の固さを効率的に評価することができる地盤固さ推定システムが検討されている(例えば、特許文献1を参照)。特許文献1に記載された地盤固さ推定システムは、削孔深度計測器、流量計測器、電流計測器及び振動計測器において測定された値を取得する。そして、取得した計測値と固さ指標値とを、説明変数及び目的変数とした多変量解析を行なう。評価対象の杭孔の掘削時の計測値を取得した場合、これら計測値と重回帰式とにより、評価対象の杭孔が掘削された地盤における固さ指標値を推定する。
【0003】
また、建物の建設予定地の地盤の評価を支援するための評価支援装置も検討されている(例えば、特許文献2を参照)。特許文献2に記載された評価支援装置は、モデリング装置から、地層情報に基づいて生成された3次元の地層推定モデルを取得する。
【0004】
また、大規模な敷地に大量の杭を施工する場合に、杭の施工を行なうための杭施工方法も検討されている(例えば、特許文献3を参照)。特許文献3に記載された杭施工方法において、地盤調査地点の支持層深度情報から杭打ち対象地で想定される支持層の全貌を示す支持層データを作成する。そして、支持層データに基づいて杭打ち地点毎に杭長を設定する。更に、杭打ち作業にて逐次取得される杭打ち地点毎の杭の支持層到達深度情報を支持層深度情報として追加して支持層データを更新する。
【先行技術文献】
【特許文献】
【0005】
特開2021-80737号公報
特開2023-144684号公報
特開2019-100082号公報
【発明の概要】
【発明が解決しようとする課題】
【0006】
しかしながら、支持層の上面形状によっては、杭孔の掘削を考慮する必要がある。例えば、所定の杭位置の支持層の上面が急峻な場合、杭長を長くする等の対策を行なう場合がある。
【課題を解決するための手段】
【0007】
上記課題を解決する施工支援装置は、表示装置に接続された制御部を備え、杭孔の掘削状況の管理を支援する。前記制御部が、工事現場の地盤の深度に応じた地層を特定し、前記地層において、杭孔位置の支持層を特定し、前記支持層の上面形状に応じて、杭孔の中で優先掘削位置を特定して、前記表示装置に出力する。
【発明の効果】
【0008】
本開示によれば、杭孔の施工を支援することができる。
【図面の簡単な説明】
【0009】
実施形態における施工支援システムの概略構成を説明する説明図である。
実施形態のハードウェア構成の説明図である。
実施形態における施工支援システムの管理装置の機能の説明図である。
実施形態における処理手順の説明図である。
実施形態における処理手順の説明図である。
実施形態における地層推定モデルの説明図である。
実施形態における地層推定モデルと杭孔モデルとの関係の説明図である。
実施形態における地層推定モデルと杭孔モデルとの関係の説明図である。
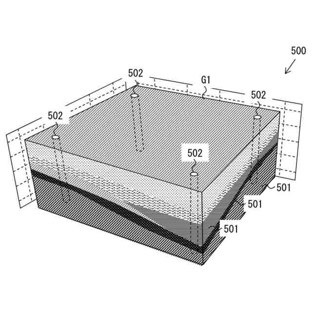
実施形態における支持層の上面の説明図であって、(a)は緩勾配の形状、(b)は急勾配の形状の説明図である。
実施形態における表示画面の説明図である。
【発明を実施するための形態】
【0010】
以下、図1~図10を用いて、施工支援装置及び施工支援方法を具体化した一実施形態を説明する。
図1に示すように、施工支援システムA1は、ネットワークで接続された地盤推定システムC1、施工管理システムC2、計測装置20、管理装置30(施工支援装置)を備える。
(【0011】以降は省略されています)
この特許をJ-PlatPat(特許庁公式サイト)で参照する
関連特許
株式会社大林組
開封装置
24日前
株式会社大林組
接続構造
27日前
株式会社大林組
操縦装置
27日前
株式会社大林組
接合構造
27日前
株式会社大林組
加熱装置
24日前
株式会社大林組
ドリル装置
27日前
株式会社大林組
折畳み構造物
1か月前
株式会社大林組
スロープ構造
24日前
株式会社大林組
災害時支援装置
16日前
株式会社大林組
梁筋の配筋方法
16日前
株式会社大林組
進捗管理システム
3日前
株式会社大林組
大梁胴縁接続構造
18日前
株式会社大林組
電動式運搬補助装置
26日前
株式会社大林組
構造物及び施工方法
16日前
株式会社大林組
繊維材供給システム
24日前
株式会社大林組
自動屋根開閉システム
1か月前
株式会社大林組
建設現場支援システム
17日前
株式会社大林組
柱接合構造の施工方法
16日前
株式会社大林組
シート部材及び、施工方法
19日前
株式会社大林組
リフトアップ装置の制御装置
24日前
株式会社大林組
施工支援装置及び施工支援方法
26日前
株式会社大林組
有機フッ素化合物の不溶化方法
27日前
株式会社大林組
施工支援装置及び施工支援方法
26日前
株式会社大林組
施工支援装置及び施工支援方法
26日前
株式会社大林組
墜落防止設備及び墜落防止方法
26日前
株式会社大林組
評価支援装置及び評価支援方法
25日前
株式会社大林組
免震構造及び免震構造の施工方法
19日前
株式会社大林組
動作制御装置および動作制御方法
25日前
株式会社大林組
建物構造、及び建物構造を含む建築物
25日前
株式会社大林組
押し込み治具及び、定着具の設置方法
16日前
株式会社大林組
噴射物拡散部材、表面処理装置及び表面処理方法
18日前
株式会社大林組
ステーリング及びステーリングの反力監視支援システム
17日前
株式会社大林組
コンクリート床付き鉄骨梁の評価方法およびコンクリート床付き鉄骨梁
18日前
株式会社大林組
構造体の制振システム
17日前
他の特許を見る