TOP
|
特許
|
意匠
|
商標
特許ウォッチ
Twitter
他の特許を見る
公開番号
2025162919
公報種別
公開特許公報(A)
公開日
2025-10-28
出願番号
2024066428
出願日
2024-04-16
発明の名称
墜落防止設備及び墜落防止方法
出願人
株式会社大林組
代理人
個人
,
個人
主分類
A62B
35/00 20060101AFI20251021BHJP(人命救助;消防)
要約
【課題】設置が簡便であり、かつ安全性が高い墜落防止設備及び墜落防止方法を提供する。
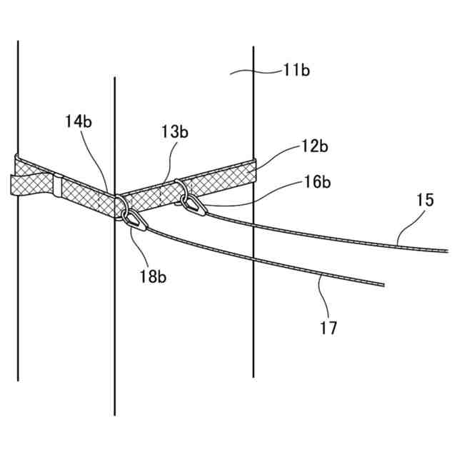
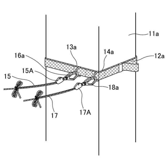
【解決手段】本発明は、環状金具(13、14)が設けられた複数のラッシングベルト12a及び12bと、両端にフック(16、18)を有する、異なる色柄の2本の親綱15及び17と、を備え、ラッシングベルト12a及び12bが、建築物の隣り合う2つの柱11a及び11bに1本ずつ巻き締められており、親綱15及び17それぞれにおいて、一方のフック16a及び18aが、2つの柱のうちの一方の柱11aに巻き締められたラッシングベルト12aの環状金具13a及び14aに連結され、他方のフック16b及び18bが他方の柱11bに巻き締められたラッシングベルト12bの環状金具13b及び14bに連結されることにより、2本の親綱15及び17が、2つの柱11a及び11bの間に並列に架設されている墜落防止設備10である。
【選択図】図1
特許請求の範囲
【請求項1】
少なくとも1つの環状金具が設けられた複数のラッシングベルトと、
両端にフックを有する、異なる色柄の複数の親綱と、
を備え、
前記ラッシングベルトが、建築物の隣り合う2つの柱に少なくとも1本ずつ巻き締められており、
前記親綱それぞれにおいて、一端のフックが前記2つの柱のうちの一方の柱に巻き締められた前記ラッシングベルトの環状金具に連結され、他端のフックが他方の柱に巻き締められた前記ラッシングベルトの環状金具に連結されることにより、前記複数の親綱が、前記2つの柱の間に並列に架設されている墜落防止設備。
続きを表示(約 390 文字)
【請求項2】
少なくとも1つの環状金具が設けられた、複数のラッシングベルトを、建築物の隣り合う2つの柱に少なくとも1本ずつ巻き締めて固定する工程と、
両端にフックを有し、一端側に緊張機を備えた、異なる色柄の複数の親綱を準備する工程と、
前記親綱それぞれにおいて、一方のフックを前記2つの柱のうちの一方の柱に巻き締められた前記ラッシングベルトの環状金具に連結させ、他方のフックを他方の柱に巻き締められた前記ラッシングベルトの環状金具に連結させて、前記複数の親綱を、前記一方の柱から前記他方の柱に並列に架設する工程と、
前記親綱1本につき、ランヤードが1本、フックにより前記親綱に掛け止められる工程と
を有する墜落防止方法。
【請求項3】
前記ランヤードの色柄が、掛け止める前記親綱と同じ色柄である請求項2に記載の墜落防止方法。
発明の詳細な説明
【技術分野】
【0001】
本開示は、墜落防止設備及び墜落防止方法に関する。
続きを表示(約 2,500 文字)
【背景技術】
【0002】
高層ビルの建設現場においては、高所作業者は安全を確保するためフルハーネス安全帯ベルトを着用し、安全帯ベルトに連結されたランヤードを親綱(転落防止ロープ)に架けることで落下を防止している。特許文献1には、親綱に加わる急激な張力を緩和し、支柱が破損等することを抑制できる落下予防設備、及び親綱に加わる張力を緩和することができる支柱が提案されている。
通常、親綱は、構造体に取り付けられた親綱支柱に張り巡らされている。親綱支柱は、搬入トラックのスペース確保、鉄骨の積み重ねによる運搬効率を考慮して、作業現場で設置されることが多い。このようなことから、例えば、特許文献2には、設置作業及び撤去作業の負担を軽減することができる親綱支柱が提案されている。
【0003】
ところで、高層ビルの外装ユニットの設置方法として、まず、作業階に外装ユニットを準備し、次に、作業階の直上階に設置されたカニクレーン等でビル開口部から外装ユニットを外部に吊り出す方法がある。そして、既に設置済の階下の外装パネルとの結合は、作業者によって開口部のスラブ端部で行われる。このような箇所での作業においては、親綱支柱を設置することが困難なため、柱鉄骨のピースに親綱を設置したり、市販の仮設手摺(ボーゴレール等)を用いることが一般的である。
【先行技術文献】
【特許文献】
【0004】
特開2023-022748号公報
特開2021-085240号公報
【発明の概要】
【発明が解決しようとする課題】
【0005】
しかしながら、天井部分のH形鋼のフランジへの取付及び撤去作業には、脚立、梯子等が必要となる。万が一、脚立等が倒れると親綱支柱を取り付ける作業者がスラブ端部の開口部から落下することが懸念される。また、親綱には、万が一墜落した場合、安全ブロックのロープが引き出されないようにロック機構が付いている。このロック機構の有効範囲は、垂直線に対して15°の範囲(円錐状)であり、その範囲を超えた場合にはロック機構の有効性を保証していない。したがって、安全ブロックの取り付け位置は、厳密に計画する必要があり、正規の使用範囲では作業範囲を網羅することが困難である。
また、仮設工業会の認定を受けた親綱は、1本の親綱に架けられる作業者は1人と定められていることから、スラブ端部で作業が複数人である場合には、取付箇所も複数であり、また、親綱の設置とその親綱設置個所については、他の作業者と絡まないよう安全な位置に設置する必要がある。
本発明は、上記事情に鑑みてなされたものであり、設置が簡便であり、かつ安全性が高い墜落防止設備及び墜落防止方法を提供することを目的とする。
【課題を解決するための手段】
【0006】
本発明者は、建築物の構造部材の柱を親綱支柱の代替物とし、さらに、異なる色柄の親綱を少なくとも2本並列に架設することで、上記課題を解決できることを見出し、本発明に至った。
すなわち、本発明は以下の手段を提供する。
[1] 少なくとも1つの環状金具が設けられた複数のラッシングベルトと、両端にフックを有する、異なる色柄の複数の親綱と、を備え、上記ラッシングベルトが、建築物の隣り合う2つの柱に少なくとも1本ずつ巻き締められており、上記親綱それぞれにおいて、一端のフックが上記2つの柱のうちの一方の柱に巻き締められた上記ラッシングベルトの環状金具に連結され、他端のフックが他方の柱に巻き締められた上記ラッシングベルトの環状金具に連結されることにより、上記複数の親綱が、上記2つの柱の間に並列に架設されている墜落防止設備。
[2] 少なくとも1つの環状金具が設けられた、複数のラッシングベルトを、建築物の隣り合う2つの柱に少なくとも1本ずつ巻き締める工程と、両端にフックを有し、一端側に緊張機を備えた、異なる色柄の複数の親綱を準備する工程と、上記親綱それぞれにおいて、一方のフックを上記2つの柱のうちの一方の柱に巻き締められた上記ラッシングベルトの環状金具に連結させ、他方のフックを他方の柱に巻き締められた上記ラッシングベルトの環状金具に連結させて、上記複数の親綱を、上記一方の柱から上記他方の柱に並列に架設する工程と、上記親綱1本につき、ランヤードが1本、フックにより上記親綱に掛け止められる工程と、を有する墜落防止方法。
[3] 上記ランヤードの色柄が、掛け止める上記親綱と同じ色柄である[2]に記載の墜落防止方法。
【発明の効果】
【0007】
本発明によれば、設置が簡便であり、かつ安全性が高い墜落防止設備及び墜落防止方法を提供することができる。
【図面の簡単な説明】
【0008】
本発明の墜落防止設備の一実施形態を示す正面図である。
図1における、一方の柱部分の詳細図である。
図1における、他方の柱部分の詳細図である。
高層ビルの外装パネルの設置作業の一実施形態を示す側面図である。
【発明を実施するための形態】
【0009】
以下、本発明の一実施形態について、図面を参照しながら詳細に説明する。
【0010】
[墜落防止設備]
本実施形態の墜落防止設備10は、図1に示すように、建築物の構造部材である柱11aと隣り合う柱11bとの間に設けられる。
具体的には、2つの環状金具13a及び14aが設けられたラッシングベルト12aと、2つの環状金具13b及び14bが設けられたラッシングベルト12bと、両端にフック16a及び16bを有し、一端側に緊張機15Aを有する親綱15、両端にフック18a及び18bを有し、一端側に緊張機17Aを有する親綱17と、を備える。親綱15と親綱17は、互いに異なる色柄である。
(【0011】以降は省略されています)
この特許をJ-PlatPat(特許庁公式サイト)で参照する
関連特許
株式会社大林組
操縦装置
27日前
株式会社大林組
飛込み台
2か月前
株式会社大林組
接続構造
27日前
株式会社大林組
加熱装置
24日前
株式会社大林組
開封装置
24日前
株式会社大林組
接合構造
27日前
株式会社大林組
接合構造
1か月前
株式会社大林組
測定方法
2か月前
株式会社大林組
仮設建築物
2か月前
株式会社大林組
建物の構造
1か月前
株式会社大林組
ドリル装置
27日前
株式会社大林組
スロープ構造
24日前
株式会社大林組
折畳み構造物
1か月前
株式会社大林組
耐火被覆構造
2か月前
株式会社大林組
ルーバー構造
2か月前
株式会社大林組
床板の設置方法
2か月前
株式会社大林組
梁筋の配筋方法
16日前
株式会社大林組
可搬式充電設備
1か月前
株式会社大林組
災害時支援装置
16日前
株式会社大林組
リフトアップ装置
2か月前
株式会社大林組
鋼矢板の圧入方法
1か月前
株式会社大林組
リフトアップ装置
2か月前
株式会社大林組
進捗管理システム
3日前
株式会社大林組
大梁胴縁接続構造
18日前
株式会社大林組
構造物及び施工方法
16日前
株式会社大林組
電動式運搬補助装置
26日前
株式会社大林組
繊維材供給システム
24日前
株式会社大林組
建築物及び建築方法
2か月前
株式会社大林組
袋体付き排水パイプ
2か月前
株式会社大林組
袋体付き排水パイプ
2か月前
株式会社大林組
柱接合構造の施工方法
16日前
株式会社大林組
自動屋根開閉システム
1か月前
株式会社大林組
建設現場支援システム
17日前
株式会社大林組
クレーンの自動運転装置
1か月前
株式会社大林組
建物の構築方法及び建物
2か月前
株式会社大林組
継手装置及び複合支持杭
2か月前
続きを見る
他の特許を見る