TOP
|
特許
|
意匠
|
商標
特許ウォッチ
Twitter
他の特許を見る
公開番号
2025152745
公報種別
公開特許公報(A)
公開日
2025-10-10
出願番号
2024054798
出願日
2024-03-28
発明の名称
耐火構造、耐火板支持構造
出願人
株式会社大林組
,
YKK AP株式会社
代理人
個人
,
個人
,
個人
主分類
E04B
1/94 20060101AFI20251002BHJP(建築物)
要約
【課題】火災時に長時間に亘って耐火板を脱落させずに耐火性能を維持でき、設計段階で、必要な耐火性能に応じて低コストで仕様変更が可能であり、且つ耐火板外観の意匠性を確保し易い耐火構造を提供する。
【解決手段】建物の壁に設けられ、耐火板と、前記耐火板を支持する耐火板支持構造とを有する耐火構造であって、前記耐火板の前記下横辺を載せる載置部、及び前記載置部から上方に前記耐火板の背面側に沿って縦方向に延設される延設部をそれぞれ有する左右一対の下横辺支持材と、前記耐火板の前記左縦辺を抱く左縦辺抱き部、左の前記下横辺支持材に接合される左接合部、及び前記建物の躯体に連結される左連結部を有し、前記左の下横辺支持材を前記躯体に連結する左連結構造と、前記右の下横辺支持材を前記躯体に連結する右連結構造とを有する耐火構造。
【選択図】図1
特許請求の範囲
【請求項1】
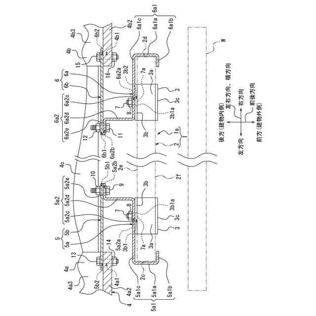
建物の壁に設けられ、上横辺及び下横辺と、前記上横辺及び前記下横辺を連ねる左縦辺及び右縦辺とを有する耐火板と、前記耐火板を支持する耐火板支持構造とを有する耐火構造であって、前記耐火板支持構造は、
前記耐火板の前記下横辺を載せる載置部、及び前記載置部から上方に前記耐火板の背面側に沿って縦方向に延設される延設部をそれぞれ有する左右一対の下横辺支持材と、
前記耐火板の前記左縦辺を抱く左縦辺抱き部、左の前記下横辺支持材に接合される左接合部、及び前記建物の躯体に連結される左連結部を有し、前記左の下横辺支持材を前記躯体に連結する左連結構造と、
前記耐火板の前記右縦辺を抱く右縦辺抱き部、右の前記下横辺支持材に接合される右接合部、及び前記建物の躯体に連結される右連結部を有し、前記右の下横辺支持材を前記躯体に連結する右連結構造とを有する耐火構造。
続きを表示(約 1,000 文字)
【請求項2】
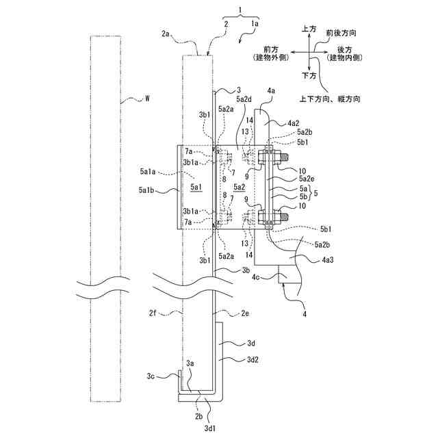
前記左連結構造は、前記左縦辺抱き部及び前記左接合部を有する左接合抱き板と、前記左接合部を左の前記延設部に接合する延設部用ボルト及び延設部用ナットとを有し、前記延設部用ボルトは、前記耐火板に対向する平面基調の頭部頂面を有し、あるいは、
前記右連結構造は、前記右縦辺抱き部及び前記右接合部を有する右接合抱き板と、前記右接合部を右の前記延設部に接合する延設部用ボルト及び延設部用ナットとを有し、前記延設部用ボルトは、前記耐火板に対向する平面基調の頭部頂面を有する、請求項1に記載の耐火構造。
【請求項3】
前記左連結構造は、前記左縦辺抱き部及び前記左接合部を有する左接合抱き板を有し、前記左接合部は、左側の前記延設部に接合するための前後方向の左接合貫通孔と、前記左連結部に連結するための前記前後方向の左連結部連結貫通孔とを有し、あるいは、
前記右連結構造は、前記右縦辺抱き部及び前記右接合部を有する右接合抱き板を有し、前記右接合部は、右側の前記延設部に接合するための前記前後方向の右接合貫通孔と、前記右連結部に連結するための前記前後方向の右連結部連結貫通孔とを有する、請求項1に記載の耐火構造。
【請求項4】
前記左連結部は、前記左接合部に連結するための前後方向の左連結貫通孔と、前記躯体に連結するための前記前後方向の躯体連結貫通孔とを有する左連結板を有し、あるいは、
前記右連結部は、前記右接合部に連結するための前記前後方向の右連結貫通孔と、前記躯体に連結するための前記前後方向の躯体連結貫通孔とを有する右連結板を有する、請求項1に記載の耐火構造。
【請求項5】
建物の壁に設けられ、上横辺及び下横辺と、前記上横辺及び前記下横辺を連ねる左縦辺及び右縦辺とを有する耐火板を支持する耐火板支持構造であって、
前記耐火板の前記下横辺を載せる載置部、及び前記載置部から上方に前記耐火板の背面側に沿って縦方向に延設される延設部をそれぞれ有する左右一対の下横辺支持材と、
前記耐火板の前記左縦辺を抱く左縦辺抱き部、左の前記下横辺支持材に接合される左接合部、及び前記建物の躯体に連結される左連結部を有し、前記左の下横辺支持材を前記躯体に連結する左連結構造と、
前記耐火板の前記右縦辺を抱く右縦辺抱き部、右の前記下横辺支持材に接合される右接合部、及び前記建物の躯体に連結される右連結部を有し、前記右の下横辺支持材を前記躯体に連結する右連結構造とを有する耐火板支持構造。
発明の詳細な説明
【技術分野】
【0001】
本発明は耐火構造、耐火板支持構造に関する。
続きを表示(約 1,800 文字)
【背景技術】
【0002】
2008年以前は、建物外壁の仕様としては耐火板をアルミ枠で支持する構法が一般的であり、火災時にアルミが溶融すると耐火板が脱落する危険があった。2008年5月に「カーテンウォールの構造方法について(国土交通省 技術的助言)」が発行され、『盛期火災時における耐火板の脱落を防止するため、耐火ボードを躯体から直接支持すること及びアルミ枠と耐火板は構造的に縁を切る』よう求められたことを受けて、特許文献1~2に示される、金物類を介して耐火板を躯体から支持する構法が検討され、脱落の危険が回避されるようになった。
【0003】
特許文献1に示される構法は、「隣り合う耐火板の目地部を耐火材で塞ぐこと」を特徴に含むが、耐火材は長時間の加熱を経ると脱落する可能性が高く、目地に開きが生じて、耐火性能が維持できない可能性が高い。また、耐火パネルを支持する金属製支持具は一体の仕様であるため、必要な耐火性能に応じて仕様を変更する場合には、コストに対する影響が大きい。
【0004】
特許文献2に示される構法は、耐火板の固定にあたり、耐火板に座彫りを行う必要がある。埋め戻しを行っても表面に凹凸が生じ、耐火板外観の意匠性が劣るため、表層部に化粧仕上げ材を施す必要がある。また、カーテンウォール用耐火ボードと縦枠用耐火ボードが独立した構成になっており、施工の煩雑性、コスト上の問題が大きい。
【先行技術文献】
【特許文献】
【0005】
特許第5294305号公報
特許第6207147号公報
【発明の概要】
【発明が解決しようとする課題】
【0006】
本発明の目的は、火災時に長時間に亘って耐火板を脱落させずに耐火性能を維持でき、設計段階で、必要な耐火性能に応じて低コストで仕様変更が可能であり、且つ耐火板外観の意匠性を確保し易い耐火構造、耐火板支持構造を提供することにある。
【課題を解決するための手段】
【0007】
本発明の一態様は以下のとおりである。
【0008】
[1]
建物の壁に設けられ、上横辺及び下横辺と、前記上横辺及び前記下横辺を連ねる左縦辺及び右縦辺とを有する耐火板と、前記耐火板を支持する耐火板支持構造とを有する耐火構造であって、前記耐火板支持構造は、
前記耐火板の前記下横辺を載せる載置部、及び前記載置部から上方に前記耐火板の背面側に沿って縦方向に延設される延設部をそれぞれ有する左右一対の下横辺支持材と、
前記耐火板の前記左縦辺を抱く左縦辺抱き部、左の前記下横辺支持材に接合される左接合部、及び前記建物の躯体に連結される左連結部を有し、前記左の下横辺支持材を前記躯体に連結する左連結構造と、
前記耐火板の前記右縦辺を抱く右縦辺抱き部、右の前記下横辺支持材に接合される右接合部、及び前記建物の躯体に連結される右連結部を有し、前記右の下横辺支持材を前記躯体に連結する右連結構造とを有する、耐火構造。
【0009】
[2]
前記左連結構造は、前記左縦辺抱き部及び前記左接合部を有する左接合抱き板と、前記左接合部を左の前記延設部に接合する延設部用ボルト及び延設部用ナットとを有し、前記延設部用ボルトは、前記耐火板に対向する平面基調の頭部頂面を有し、あるいは、
前記右連結構造は、前記右縦辺抱き部及び前記右接合部を有する右接合抱き板と、前記右接合部を右の前記延設部に接合する延設部用ボルト及び延設部用ナットとを有し、前記延設部用ボルトは、前記耐火板に対向する平面基調の頭部頂面を有する、[1]に記載の耐火構造。
【0010】
[3]
前記左連結構造は、前記左縦辺抱き部及び前記左接合部を有する左接合抱き板を有し、前記左接合部は、左側の前記延設部に接合するための前後方向の左接合貫通孔と、前記左連結部に連結するための前記前後方向の左連結部連結貫通孔とを有し、あるいは、
前記右連結構造は、前記右縦辺抱き部及び前記右接合部を有する右接合抱き板を有し、前記右接合部は、右側の前記延設部に接合するための前記前後方向の右接合貫通孔と、前記右連結部に連結するための前記前後方向の右連結部連結貫通孔とを有する、[1]又は[2]に記載の耐火構造。
(【0011】以降は省略されています)
この特許をJ-PlatPat(特許庁公式サイト)で参照する
関連特許
株式会社大林組
操縦装置
12日前
株式会社大林組
接続構造
12日前
株式会社大林組
加熱装置
9日前
株式会社大林組
開封装置
9日前
株式会社大林組
接合構造
12日前
株式会社大林組
接合構造
1か月前
株式会社大林組
ドリル装置
12日前
株式会社大林組
建物の構造
1か月前
株式会社大林組
折畳み構造物
15日前
株式会社大林組
スロープ構造
9日前
株式会社大林組
可搬式充電設備
1か月前
株式会社大林組
梁筋の配筋方法
1日前
株式会社大林組
災害時支援装置
1日前
株式会社大林組
鋼矢板の圧入方法
1か月前
株式会社大林組
大梁胴縁接続構造
3日前
株式会社大林組
電動式運搬補助装置
11日前
株式会社大林組
繊維材供給システム
9日前
株式会社大林組
構造物及び施工方法
1日前
株式会社大林組
自動屋根開閉システム
15日前
株式会社大林組
柱接合構造の施工方法
1日前
株式会社大林組
建設現場支援システム
2日前
株式会社大林組
クレーンの自動運転装置
1か月前
株式会社大林組
耐火構造、耐火板支持構造
29日前
株式会社大林組
クレーン自動運転システム
1か月前
株式会社大林組
シート部材及び、施工方法
4日前
株式会社大林組
リフトアップ装置の制御装置
9日前
株式会社大林組
墜落防止設備及び墜落防止方法
11日前
株式会社大林組
作業補助装置及び表面処理装置
1か月前
株式会社大林組
表面処理装置及び表面処理方法
1か月前
株式会社大林組
有機フッ素化合物の不溶化方法
12日前
株式会社大林組
評価支援装置及び評価支援方法
10日前
株式会社大林組
施工支援装置及び施工支援方法
11日前
株式会社大林組
施工支援装置及び施工支援方法
11日前
株式会社大林組
施工支援装置及び施工支援方法
11日前
株式会社大林組
免震構造及び免震構造の施工方法
4日前
株式会社大林組
地下外壁の形成方法及び地下外壁
1か月前
続きを見る
他の特許を見る