TOP
|
特許
|
意匠
|
商標
特許ウォッチ
Twitter
他の特許を見る
公開番号
2025140714
公報種別
公開特許公報(A)
公開日
2025-09-29
出願番号
2024040269
出願日
2024-03-14
発明の名称
表面処理装置及び表面処理方法
出願人
株式会社大林組
,
太陽建機レンタル株式会社
代理人
弁理士法人一色国際特許事務所
主分類
B24C
5/02 20060101AFI20250919BHJP(研削;研磨)
要約
【課題】突起部や段差により生じる隅部などが存在する処理対象面を、効率よくかつ均質に表面処理することである。
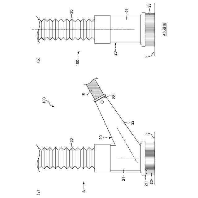
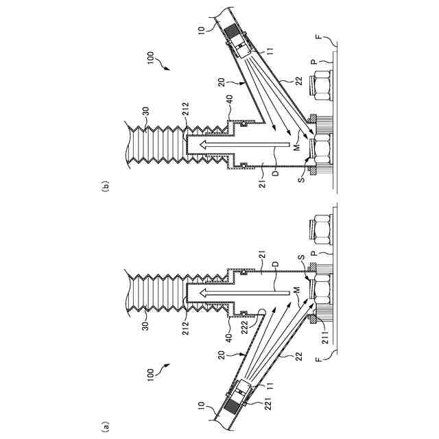
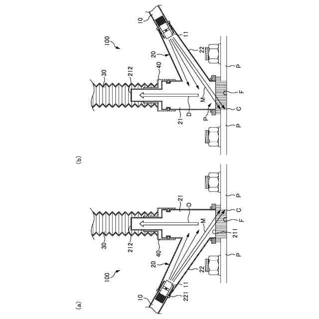
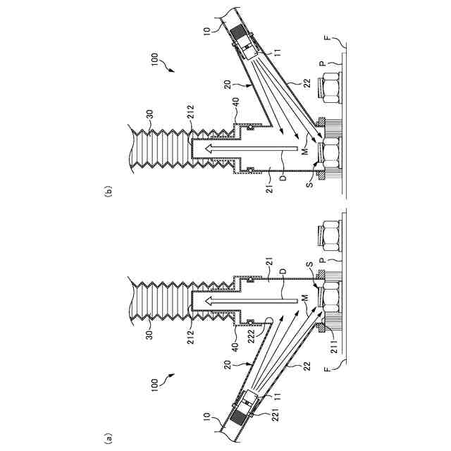
【解決手段】処理対象面に向けて噴射物を噴射する表面処理装置であって、噴射物を噴射する噴射ノズルと、噴射された前記噴射物を回収する回収ホースと、前記噴射ノズル及び前記回収ホースが装着されるケーシングと、を含み、前記ケーシングは、一方の端部開口を前記処理対象面と対向させる筒体と、該筒体の側部に設けられ、前記噴射ノズルを前記筒体の一方の端部開口に向ける姿勢で装着可能なノズル装着部と、を備えることを特徴とする。
【選択図】図2
特許請求の範囲
【請求項1】
処理対象面に向けて噴射物を噴射する表面処理装置であって、
噴射物を噴射する噴射ノズルと、
噴射された前記噴射物を回収する回収ホースと、
前記噴射ノズル及び前記回収ホースが装着されるケーシングと、を含み、
前記ケーシングは、
一方の端部開口を前記処理対象面と対向させる筒体と、
該筒体の側部に設けられ、前記噴射ノズルを前記筒体の一方の端部開口に向ける姿勢で装着可能なノズル装着部と、を備えることを特徴とする表面処理装置。
続きを表示(約 510 文字)
【請求項2】
請求項1に記載の表面処理装置において、
前記回収ホースが、前記筒体の他方の端部開口に、軸線まわりに回転自在に接続されていることを特徴とする表面処理装置。
【請求項3】
請求項1に記載の表面処理装置において、
前記筒体が円筒状に形成されるとともに、前記ノズル装着部が錐台形状に形成されることを特徴とする表面処理装置。
【請求項4】
請求項1から3のいずれか1項に記載の表面処理装置を用いた表面処理方法であって、
前記筒体における前記一方の端部開口を前記処理対象面に対向させて、前記ケーシングを前記処理対象面上に配置し、
前記噴射物を噴射することを特徴とする表面処理方法。
【請求項5】
請求項4に記載の表面処理方法において、
前記処理対象面に位置する突起部を前記一方の端部開口内に配置し、前記筒体を軸線まわりに回転させつつ、前記噴射物を噴射することを特徴とする表面処理方法。
【請求項6】
請求項4に記載の表面処理方法において、
前記噴射物が、研削材であることを特徴とする表面処理方法。
発明の詳細な説明
【技術分野】
【0001】
本発明は、部材表面に噴射物を噴射する表面処理装置及び表面処理方法に関する。
続きを表示(約 1,500 文字)
【背景技術】
【0002】
例えば、構造物の壁面などを塗装する工事では、壁面の異物を除去する研削作業を実施する。研削作業には様々な方法があるが、一般にはブラスト装置を採用し、処理対象面を研削する場合が多い。
【0003】
ブラスト装置は、特許文献1に開示されているように、処理対象面に開口部が押し当てられるカップ形状のケース、ケース内で処理対象の表面に向けて研削材を噴射するノズル、及び噴射した研削材やこの研削材を処理対象の表面に衝突させることで発生した粉塵などを吸引する吸引ホースを備えている。処理対象面の研削作業は、上記のケースを処理対象面に押し当てつつ移動させることで実施する。
【先行技術文献】
【特許文献】
【0004】
特開2016-172295号公報
【発明の概要】
【発明が解決しようとする課題】
【0005】
特許文献1のようなブラスト装置は、処理対象面に対して研削材を略直交方向に衝突させる構造であるため、処理対象面が比較的な滑らかな状態である場合に有効である。ところが、処理対象面に突起部などが存在する場合、側面や細部を精度よく研削できないおそれがある。
【0006】
例えば橋梁の塗替塗装工事などにおいて、橋梁の主桁や対傾構などに存在する鋼材接合部が、処理対象面に含まれる場合がある。鋼材接合部の構造は一般に、一対の添接板を隣り合う鋼材を跨ぐようにして、かつこれらを挟み込むようにして重ねて配置し、鋼材とともにボルト結合する。
【0007】
すると、鋼材接合部の表面にはボルトナットによる突起部や、添接板と鋼材との段差部に形成される隅部などが生じる。このような鋼材接合部の表面に向けて、研削材を略直交方向に衝突させるのみでは、突起部の側面や隅部を精度よく研削できない。このため、鋼材接合部の表面に対して研削材を横方向や斜め方向から衝突させるべく、ブラスト装置のケースを様々な向きに変えて何度も研削作業を繰り返すこととなる。
【0008】
上記のブラスト装置のケースを様々な向きに変える作業は、処理対象面が狭隘な部分にあると、対応が困難となりやすく、また、突起部などに対して横方向から研削材を衝突させる作業は、ケースを備えるブラスト装置では対応できない。そこで、別作業として、ケーシングを使用せずに研削材を処理対象面に衝突させるオープンブラスト作業を追加実施することとなるが、作業工程が増えるとともに、研削材を処理対象の表面に衝突させることで発生した粉塵などの回収作業も発生するなど、作業が煩雑となる。
【0009】
本発明は、かかる課題に鑑みなされたものであって、その主な目的は、突起部や段差により生じる隅部などが存在する処理対象面を、効率よくかつ均質に表面処理することである。
【課題を解決するための手段】
【0010】
かかる目的を達成するため、本発明の表面処理装置は、処理対象面に向けて噴射物を噴射する表面処理装置であって、噴射物を噴射する噴射ノズルと、噴射された前記噴射物を回収する回収ホースと、前記噴射ノズル及び前記回収ホースが装着されるケーシングと、を含み、前記ケーシングは、一方の端部開口を前記処理対象面と対向させる筒体と、該筒体の側部に設けられ、前記噴射ノズルを前記筒体の一方の端部開口に向ける姿勢で装着可能なノズル装着部と、を備えることを特徴とする。
(【0011】以降は省略されています)
この特許をJ-PlatPat(特許庁公式サイト)で参照する
関連特許
株式会社大林組
飛込み台
1か月前
株式会社大林組
接合構造
13日前
株式会社大林組
操縦装置
13日前
株式会社大林組
接続構造
13日前
株式会社大林組
測定方法
1か月前
株式会社大林組
加熱装置
10日前
株式会社大林組
開封装置
10日前
株式会社大林組
接合構造
1か月前
株式会社大林組
基礎構造
2か月前
株式会社大林組
仮設建築物
1か月前
株式会社大林組
ドリル装置
13日前
株式会社大林組
建物の構造
1か月前
株式会社大林組
免震建築物
2か月前
株式会社大林組
折畳み構造物
16日前
株式会社大林組
空調システム
2か月前
株式会社大林組
スロープ構造
10日前
株式会社大林組
監視システム
2か月前
株式会社大林組
耐火被覆構造
2か月前
株式会社大林組
ルーバー構造
2か月前
株式会社大林組
可搬式充電設備
1か月前
株式会社大林組
梁筋の配筋方法
2日前
株式会社大林組
建物の躯体構造
2か月前
株式会社大林組
建物の躯体構造
2か月前
株式会社大林組
災害時支援装置
2日前
株式会社大林組
床板の設置方法
1か月前
株式会社大林組
作業支援システム
2か月前
株式会社大林組
鋼矢板の圧入方法
1か月前
株式会社大林組
日射遮蔽発電装置
2か月前
株式会社大林組
リフトアップ装置
1か月前
株式会社大林組
リフトアップ装置
1か月前
株式会社大林組
安全支援システム
2か月前
株式会社大林組
大梁胴縁接続構造
4日前
株式会社大林組
電動式運搬補助装置
12日前
株式会社大林組
袋体付き排水パイプ
1か月前
株式会社大林組
繊維材供給システム
10日前
株式会社大林組
建築物及び建築方法
1か月前
続きを見る
他の特許を見る