TOP
|
特許
|
意匠
|
商標
特許ウォッチ
Twitter
他の特許を見る
公開番号
2025148716
公報種別
公開特許公報(A)
公開日
2025-10-08
出願番号
2024048974
出願日
2024-03-26
発明の名称
地下外壁の形成方法及び地下外壁
出願人
株式会社大林組
代理人
個人
,
個人
主分類
E02D
5/20 20060101AFI20251001BHJP(水工;基礎;土砂の移送)
要約
【課題】その剛性を設計に組み込むことができる態様で金属製プレートを地下外壁の形成に利用する。
【解決手段】地中壁体の壁面に対して金属製プレートの表面が対向する態様で、地中壁体に対して隙間を空けて複数の金属製プレートを配置する工程と、複数の金属製プレートのうちの、隣り合う金属製プレート同士を結合することで、複数の金属製プレートを一体化する工程と、一体化した複数の金属製プレートを型枠として隙間にコンクリートを打設することで、金属製プレートとコンクリートの合成壁を、地下外壁として形成する工程とを含む、地下外壁の形成方法が開示される。
【選択図】図7
特許請求の範囲
【請求項1】
地中壁体の壁面に対して金属製プレートの表面が対向する態様で、前記地中壁体に対して隙間を空けて複数の前記金属製プレートを配置する工程と、
複数の前記金属製プレートのうちの、隣り合う前記金属製プレート同士を結合することで、複数の前記金属製プレートを一体化する工程と、
一体化した複数の前記金属製プレートを型枠として前記隙間にコンクリートを打設することで、前記金属製プレートと前記コンクリートの合成壁を、地下外壁として形成する工程とを含む、地下外壁の形成方法。
続きを表示(約 500 文字)
【請求項2】
前記金属製プレートは、上下方向に視て、凹凸状の形態であり、
複数の前記金属製プレートの全体の幅をW0とし、前記地中壁体に向く側の凸部の幅の合計をW1としたとき、W1/W0は、1/2未満である、請求項1に記載の地下外壁の形成方法。
【請求項3】
前記金属製プレートは、複数連結され、かつ、連結部で締結具により固定される、請求項1に記載の地下外壁の形成方法。
【請求項4】
地中壁体の壁面に対して平行に配置される複数の金属製プレートであって、隣り合う前記金属製プレート同士が結合することで一体化した複数の金属製プレートと、
前記地中壁体と複数の前記金属製プレートとの間にコンクリート部とを含み、
複数の前記金属製プレートは、前記コンクリート部と接合する、地下外壁。
【請求項5】
前記金属製プレートは、上下方向に視て、凹凸状の形態であり、
複数の前記金属製プレートの全体の幅をW0とし、前記地中壁体に向く側の凸部の幅の合計をW1としたとき、W1/W0は、1/2未満である、請求項4に記載の地下外壁。
発明の詳細な説明
【技術分野】
【0001】
本開示は、地下外壁の形成方法及び地下外壁に関する。
続きを表示(約 1,500 文字)
【背景技術】
【0002】
耐震壁としては、鋼板を波形に加工した波形鋼板を、波形の折筋の向きを水平にして架構の構面に配置した波形鋼板耐震壁が提案されている。
【先行技術文献】
【特許文献】
【0003】
特開2009-138485号公報
【発明の概要】
【発明が解決しようとする課題】
【0004】
ところで、従来の地下外壁の形成には、撤去不要な鋼製の型枠を利用する場合があるが、かかる鋼製の型枠は、その剛性を本設設計に組み込むことができる合成壁とならない。
【0005】
そこで、本開示は、その剛性を本設設計に組み込むことができる態様で金属製プレートを地下外壁の形成に利用することを目的とする。
【課題を解決するための手段】
【0006】
1つの側面では、地中壁体の壁面に対して金属製プレートの表面が対向する態様で、前記地中壁体に対して隙間を空けて複数の前記金属製プレートを配置する工程と、
複数の前記金属製プレートのうちの、隣り合う前記金属製プレート同士を結合することで、複数の前記金属製プレートを一体化する工程と、
一体化した複数の前記金属製プレートを型枠として前記隙間にコンクリートを打設することで、前記金属製プレートと前記コンクリートの合成壁を、地下外壁として形成する工程とを含む、地下外壁の形成方法が開示される。
【発明の効果】
【0007】
本開示によれば、その剛性を本設設計に組み込むことができる態様で金属製プレートを地下外壁の形成に利用することが可能となる。
【図面の簡単な説明】
【0008】
本実施例の地下外壁の形成方法及び地下外壁に関する簡易な説明図である。
図1の矢印V2に沿った側面視で地下外壁を示す図である。
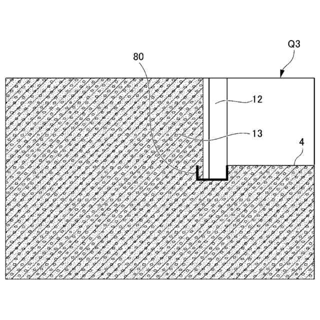
本実施例の地下外壁に係る構造の説明図であり、図1のQ3部の拡大図に対応する。
地下外壁に係る構造の側面図である。
金属製プレートの単品状態を上面視で示す図である。
他の合成壁構造の一例を断面視で示す概略図である。
本実施例の地下外壁の形成方法の一例を示すフローチャートである。
金属製プレートの支持構造の他の例を示す説明図である。
【発明を実施するための形態】
【0009】
以下、添付図面を参照しながら各実施例について詳細に説明する。なお、図面の寸法比率はあくまでも一例であり、これに限定されるものではなく、また、図面内の形状等は、説明の都合上、部分的に誇張している場合がある。また、図面では、見易さのために、複数存在する同一属性の部位には、一部のみしか参照符号が付されていない場合がある。
【0010】
図1は、本実施例の地下外壁10の形成方法及び地下外壁に関する簡易な説明図である。図1は、地下外壁の形成現場を上面視で示す簡易な説明図である。なお、図1においては、梁3の下方にある地下外壁10が透視で示されている。図1に示す現場1において、符号2は柱であり、地下外壁10は、本設エリアS1の外側を境界付ける態様で配置されている。すなわち、地下外壁10は、地中連続壁ないし山留め壁90(地中壁体の一例)と本設エリアS1との間を仕切る態様で設けられる。なお、地下外壁10の内側とは、本設エリアS1を指し、地下外壁10の外側とは、山留め壁90側を指す。
(【0011】以降は省略されています)
この特許をJ-PlatPat(特許庁公式サイト)で参照する
関連特許
株式会社大林組
建物
3か月前
株式会社大林組
加泥材
2か月前
株式会社大林組
飛込み台
21日前
株式会社大林組
減衰装置
2か月前
株式会社大林組
減衰装置
2か月前
株式会社大林組
接続構造
2か月前
株式会社大林組
基礎構造
1か月前
株式会社大林組
接合構造
9日前
株式会社大林組
測定方法
21日前
株式会社大林組
建物の構造
8日前
株式会社大林組
免震建築物
1か月前
株式会社大林組
仮設建築物
21日前
株式会社大林組
摩擦ダンパー
3か月前
株式会社大林組
ルーバー構造
1か月前
株式会社大林組
監視システム
1か月前
株式会社大林組
耐火被覆構造
1か月前
株式会社大林組
空調システム
1か月前
株式会社大林組
耐火被覆構造
2か月前
株式会社大林組
耐火被覆構造
2か月前
株式会社大林組
土壌改良方法
2か月前
株式会社大林組
床板の設置方法
21日前
株式会社大林組
シャッター装置
2か月前
株式会社大林組
可搬式充電設備
8日前
株式会社大林組
積層材成型方法
2か月前
株式会社大林組
建物の躯体構造
1か月前
株式会社大林組
建物の躯体構造
1か月前
株式会社大林組
地震損失評価方法
2か月前
株式会社大林組
安全支援システム
1か月前
株式会社大林組
鋼矢板の圧入方法
7日前
株式会社大林組
日射遮蔽発電装置
1か月前
株式会社大林組
リフトアップ装置
22日前
株式会社大林組
リフトアップ装置
22日前
株式会社大林組
作業支援システム
1か月前
株式会社大林組
建築物及び建築方法
22日前
株式会社大林組
新設床版の設置工法
1か月前
株式会社大林組
袋体付き排水パイプ
21日前
続きを見る
他の特許を見る