TOP
|
特許
|
意匠
|
商標
特許ウォッチ
Twitter
他の特許を見る
10個以上の画像は省略されています。
公開番号
2025156941
公報種別
公開特許公報(A)
公開日
2025-10-15
出願番号
2024059719
出願日
2024-04-02
発明の名称
定着装置、及び外ケーブルの架設方法
出願人
株式会社大林組
,
株式会社エスイー
代理人
弁理士法人一色国際特許事務所
主分類
E01D
22/00 20060101AFI20251007BHJP(道路,鉄道または橋りょうの建設)
要約
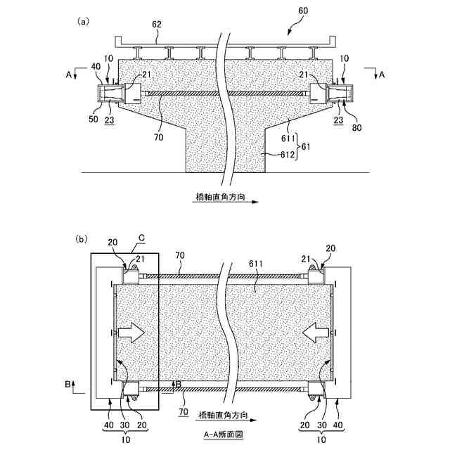
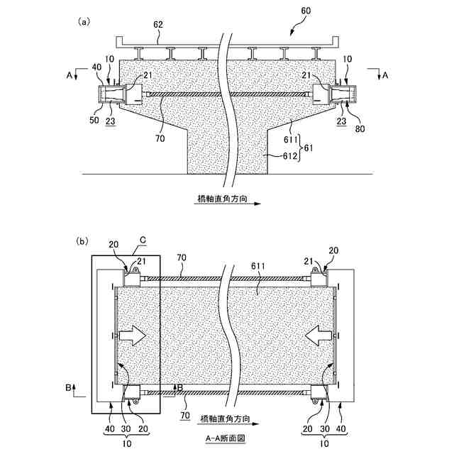
【課題】橋梁周辺のスペースに制約がある場合にも、橋梁の下部構造を外ケーブル方式による補強工法で補強する際の施工性を向上することである。
【解決手段】橋梁の下部構造にプレストレスを導入する外ケーブルの定着装置であって、前記下部構造のプレストレス導入方向の一端を囲うように配置されるフレームと、該フレームの両端に設けられる一対のケーブル定着部と、を備え、前記ケーブル定着部は、前記外ケーブルが定着される定着板、及び該定着板からフレーム内に連続する前記外ケーブルを緊張する作業空間を含み、前記定着板は、前記下部構造のプレストレス導入方向に沿う側面の範囲内に配置されていることを特徴とする。
【選択図】図1
特許請求の範囲
【請求項1】
橋梁の下部構造にプレストレスを導入する外ケーブルの定着装置であって、
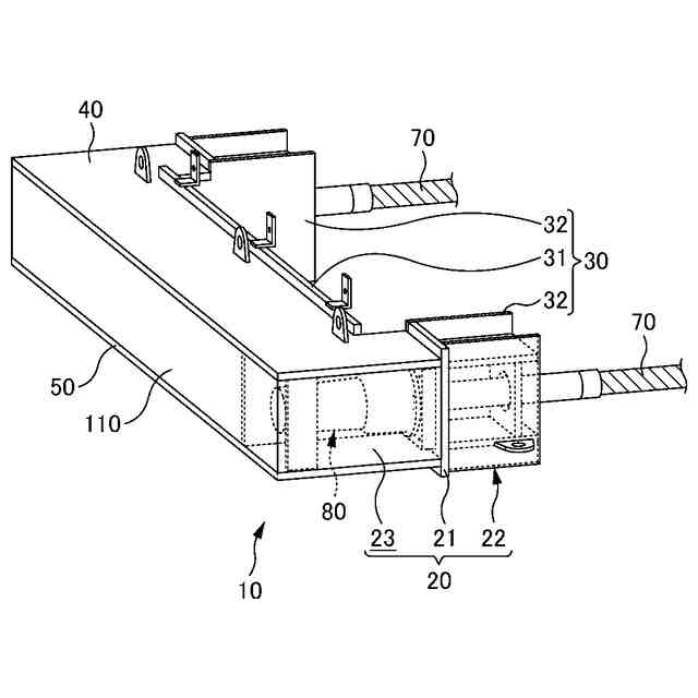
前記下部構造のプレストレス導入方向の一端を囲うように配置されるフレームと、
該フレームの両端に設けられる一対のケーブル定着部と、を備え、
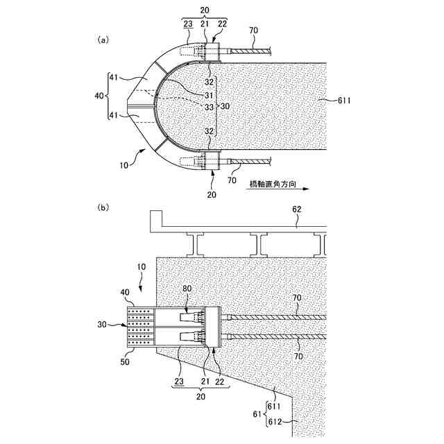
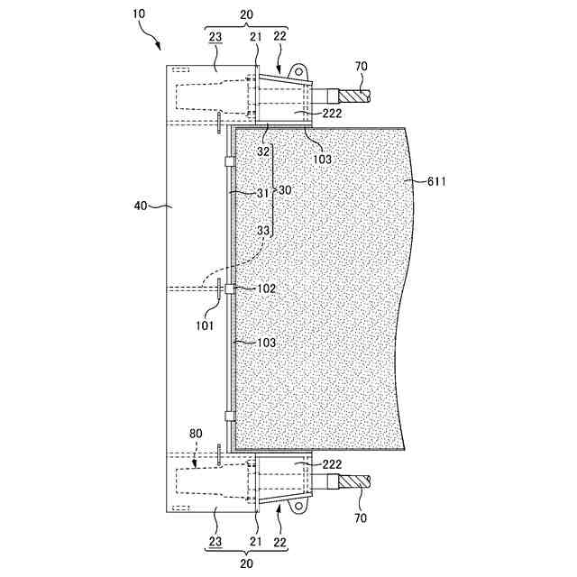
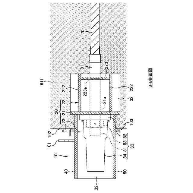
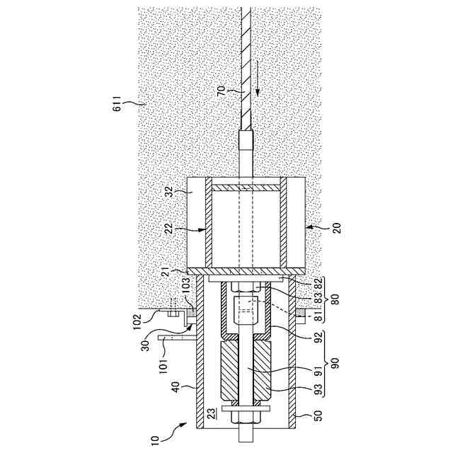
前記ケーブル定着部は、前記外ケーブルが定着される定着板を含み、
前記定着板は、前記下部構造のプレストレス導入方向に沿う側面の範囲内に配置されていることを特徴とする定着装置。
続きを表示(約 760 文字)
【請求項2】
請求項1に記載の定着装置において、
前記フレームが、複数に分割可能に形成されていることを特徴とする定着装置。
【請求項3】
請求項1に記載の定着装置において、
前記定着板から前記フレーム内に連続する領域に、前記外ケーブルを緊張する作業空間が設けられていることを特徴とする定着装置。
【請求項4】
請求項1に記載の定着装置において、
前記フレームと一対のケーブル定着部の組み合わせが、前記下部構造の高さ方向に複数連続して設けられることを特徴とする定着装置。
【請求項5】
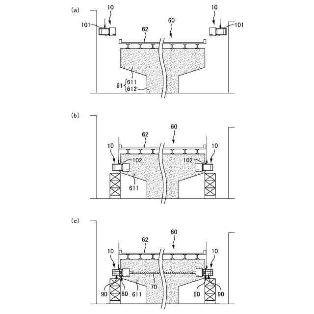
請求項1に記載の定着装置を用いた外ケーブルの架設方法であって、
前記定着装置を、前記フレームで前記下部構造のプレストレス導入方向の一端を囲うように配置する工程と、
一対の前記外ケーブルをそれぞれ、前記下部構造のプレストレス導入方向に平行な一対の側面に沿って配置する工程と、
前記定着板から前記フレーム内に連続する領域に設けた作業空間を利用して前記外ケーブルを緊張し、該外ケーブルの一端を前記定着板に定着させるする工程と、
を含むことを特徴とする外ケーブルの架設方法。
【請求項6】
請求項5に記載の外ケーブルの架設方法において、
前記定着装置を対をなして、前記下部構造のプレストレス導入方向の両端に配置し、
一対の前記外ケーブル各々の両端を、対をなす前記定着装置各々に備えた前記定着板に定着させることを特徴とする外ケーブルの架設方法。
【請求項7】
請求項5に記載の外ケーブルの架設方法において、
前記下部構造が、橋脚の梁部であることを特徴とする外ケーブルの架設方法。
発明の詳細な説明
【技術分野】
【0001】
本発明は、橋梁の下部構造にプレストレスを導入するために用いる外ケーブルの定着装置、及び定着装置を利用した外ケーブルの架設方法に関する。
続きを表示(約 1,400 文字)
【背景技術】
【0002】
従来より、コンクリート造の橋桁や橋脚に外ケーブルを用いてプレストレスを導入する外ケーブル方式の橋梁補強工法が知られている。例えば、特許文献1では、ケーブル支持部を備えた一対の鋼製ブラケット(定着装置)を既設橋桁の下部に間隔を設けて設置したのち、外ケーブルの両端をケーブル支持部(定着部)各々に定着させて、既設橋桁を補強している。
【0003】
具体的には、略コの字形状の鋼製ブラケットを一対用意し、これらを既設橋桁の下部であって長手方向中間部に間隔を設けて配置する。鋼製ブラケットは、既設橋桁の下部を嵌め入れた状態で、既設橋桁に設けた貫通孔を挿通する締結材を利用して、既設橋桁に締め付け固定する。こののち、外ケーブルを緊張して、鋼製ブラケットの下端に設けたケーブル支持部にその両端を定着する。
【0004】
特許文献1の鋼製ブラケットは、橋桁だけでなく橋脚の梁部などの構造物を、補強対象として採用することも可能であるが、補強対象となる構造物に、鋼製ブラケットを設置するための貫通孔を設ける工程が発生する。このような貫通孔を設ける工程は、鉄筋の干渉に配慮する必要があるなど作業が煩雑であり、施工性に課題が生じる。
【0005】
また、一対の鋼製ブラケットは、補強対象となる構造物の長手方向中間部に設ける態様となるため、補強対象となる既設構造物において、一対の鋼製ブラケットに挟まれた区間には、外ケーブルの緊張によるプレストレスが導入される。しかし、プレストレスが導入された区間の両側には引張力が発生することから、場合によってはこの両側を補強する構造を、別途設ける必要が生じる。
【0006】
このため、例えば特許文献2では、外ケーブルを利用して既設橋脚の梁部の両端に新設の梁部を一体化させつつ補強するにあたって、外ケーブルの端部を定着する定着部を、新設の梁部の端部に設ける構成が開示されている。
【先行技術文献】
【特許文献】
【0007】
特開2023-141428号公報
特開2014-234687号公報
【発明の概要】
【発明が解決しようとする課題】
【0008】
橋脚の梁部において、外ケーブルを定着する定着部を端部に設ける場合、外ケーブルを緊張させる作業に必要な作業スペースや、緊張した外ケーブルを定着部に定着させる定着具の配置スペースが必要となる。ところが、これらのスペースは、梁部の端部から大きくはみ出た位置、つまりは道路橋から外側へはみ出た位置に設けることとなる。
【0009】
このため、周辺構造物や建築限界が道路橋に近接しているなどの制約があると、上記のスペースを確保できない。また、これらのスペースを確保できる場合であっても、外ケーブルの端部を定着させる定着部は、道路橋から外側へはみ出た雨雪などに晒されやすい位置に露出された状態に置かれるため、耐久性に課題が生じる。
【0010】
本発明は、かかる課題に鑑みなされたものであって、その主な目的は、橋梁周辺のスペースに制約がある場合にも、外ケーブルを緊張して橋梁の下部構造にプレストレスを導入する作業の作業性と、緊張した外ケーブルを定着する定着具の耐久性を向上することである。
【課題を解決するための手段】
(【0011】以降は省略されています)
この特許をJ-PlatPat(特許庁公式サイト)で参照する
関連特許
株式会社大林組
飛込み台
28日前
株式会社大林組
接合構造
16日前
株式会社大林組
測定方法
28日前
株式会社大林組
建物の構造
15日前
株式会社大林組
免震建築物
1か月前
株式会社大林組
仮設建築物
28日前
株式会社大林組
ルーバー構造
1か月前
株式会社大林組
耐火被覆構造
1か月前
株式会社大林組
空調システム
1か月前
株式会社大林組
監視システム
1か月前
株式会社大林組
建物の躯体構造
1か月前
株式会社大林組
建物の躯体構造
1か月前
株式会社大林組
可搬式充電設備
15日前
株式会社大林組
床板の設置方法
28日前
株式会社大林組
安全支援システム
1か月前
株式会社大林組
リフトアップ装置
29日前
株式会社大林組
リフトアップ装置
29日前
株式会社大林組
日射遮蔽発電装置
1か月前
株式会社大林組
鋼矢板の圧入方法
14日前
株式会社大林組
袋体付き排水パイプ
28日前
株式会社大林組
建築物及び建築方法
29日前
株式会社大林組
袋体付き排水パイプ
28日前
株式会社大林組
CO2固定量測定方法
1か月前
株式会社大林組
継手装置及び複合支持杭
29日前
株式会社大林組
クレーンの自動運転装置
14日前
株式会社大林組
建物の構築方法及び建物
28日前
株式会社大林組
被吊り下げ物の安定化構造
1か月前
株式会社大林組
耐火構造、耐火板支持構造
7日前
株式会社大林組
多孔質部材の漏洩検知方法
28日前
株式会社大林組
クレーン自動運転システム
14日前
株式会社大林組
散水装置及び異物除去方法
28日前
株式会社大林組
飛込み台及びその施工方法
28日前
株式会社大林組
建設用溶接方法及び建設物
1か月前
株式会社大林組
セメント組成物の製造方法
1か月前
株式会社大林組
制振システム、及び制振方法
28日前
株式会社大林組
浮体構造物における接合構造
1か月前
続きを見る
他の特許を見る