TOP
|
特許
|
意匠
|
商標
特許ウォッチ
Twitter
他の特許を見る
公開番号
2025137008
公報種別
公開特許公報(A)
公開日
2025-09-19
出願番号
2024035973
出願日
2024-03-08
発明の名称
制振システム、及び制振方法
出願人
株式会社大林組
代理人
弁理士法人一色国際特許事務所
主分類
F16F
15/02 20060101AFI20250911BHJP(機械要素または単位;機械または装置の効果的機能を生じ維持するための一般的手段)
要約
【課題】風に対する居住性の改善を図る。
【解決手段】構造物の振動を抑制する制振システムであって、前記構造物に配置されるセミアクティブマスダンパーと、前記構造物に外力が作用した際に、前記セミアクティブマスダンパーを制御する制御部と、を備え、前記制御部は、風に対する居住性を向上させるための減衰力を強化学習した制御則を用いて、前記セミアクティブマスダンパーを制御する、ことを特徴とする制振システム。
【選択図】図1
特許請求の範囲
【請求項1】
構造物の振動を抑制する制振システムであって、
前記構造物に配置されるセミアクティブマスダンパーと、
前記構造物に外力が作用した際に、前記セミアクティブマスダンパーを制御する制御部と、
を備え、
前記制御部は、風に対する居住性を向上させるための減衰力を強化学習した制御則を用いて、前記セミアクティブマスダンパーを制御する、
ことを特徴とする制振システム。
続きを表示(約 620 文字)
【請求項2】
請求項1に記載の制振システムであって、
前記制御則の学習波は、前記風を模擬したものである、
ことを特徴とする制振システム。
【請求項3】
請求項1又は請求項2に記載の制振システムであって、
前記制御則の学習波による前記構造物に対する加振力が、正又は負の何れかの範囲のみにおいて変動する、
ことを特徴とする制振システム。
【請求項4】
請求項1又は請求項2に記載の制振システムであって、
前記制御則は、正弦波に直流成分波を合成した合成波を用いて学習したものである、
ことを特徴とする制振システム。
【請求項5】
請求項4に記載の制振システムであって、
前記直流成分波は、階段状の成分波を含む、
ことを特徴とする制振システム。
【請求項6】
請求項1又は請求項2に記載の制振システムであって、
前記構造物は建物であり、
前記セミアクティブマスダンパーは、前記建物の頂部に配置されている、
ことを特徴とする制振システム。
【請求項7】
セミアクティブマスダンパーを備える構造物の制振を行う制振方法であって、
風に対する居住性を向上させるための減衰力を強化学習した制御則を用いて、前記セミアクティブマスダンパーを制御する、
ことを特徴とする制振方法。
発明の詳細な説明
【技術分野】
【0001】
本発明は、構造物の制振システム、及び制振方法に関する。
続きを表示(約 1,400 文字)
【背景技術】
【0002】
錘(マス)を用いて、各種外乱に起因する構造物の振動を低減させる手法として、錘を揺れに同調させるチューンドマスダンパー(TMD)や、錘を能動的に動かすアクティブマスダンパー(AMD:例えば特許文献1参照)が知られている。TMDは、構造が単純で電力を使用しないため、安価で信頼性も高いが、AMDと比べて制振能力が劣る。AMDは、制振能力は高いが、錘を動かす制御が必要になるため構造が複雑になりがちで、高価でエネルギー消費量も一般的に大きい。
【0003】
また、構造物と錘を結合するバネの剛性やダンパーの減衰力を可変にしたセミアクティブマスダンパー(SAMD)も知られている。SAMDは、TMDとAMDの中間の性能・コストであり、制振能力と信頼性を両立するものとして注目されている。
【先行技術文献】
【特許文献】
【0004】
特開平1-275867号公報
【発明の概要】
【発明が解決しようとする課題】
【0005】
SAMDでは、一般的に、制御工学に基づく制御則(制御理論)に基づいて制御が行われており、制御理論の各パラメータを、経験ある技術者が試行錯誤により調整する必要がある。このため、例えば、風による建物の揺れ(風揺れ)に対応する最適な制振性能を得ることは困難であり、居住性を改善できないおそれがあった。
【0006】
本発明は、かかる課題に鑑みてなされたものであり、その目的とするところは、風に対する居住性の改善を図ることにある。
【課題を解決するための手段】
【0007】
上記目的を達成するための主たる発明は、構造物の振動を抑制する制振システムであって、前記構造物に配置されるセミアクティブマスダンパーと、前記構造物に外力が作用した際に、前記セミアクティブマスダンパーを制御する制御部と、を備え、前記制御部は、風に対する居住性を向上させるための減衰力を強化学習した制御則を用いて、前記セミアクティブマスダンパーを制御することを特徴とする制振システムである。
【0008】
本発明の他の特徴については、本明細書及び添付図面の記載により明らかにする。
【発明の効果】
【0009】
本発明によれば、風に対する居住性の改善を図ることができる。
【図面の簡単な説明】
【0010】
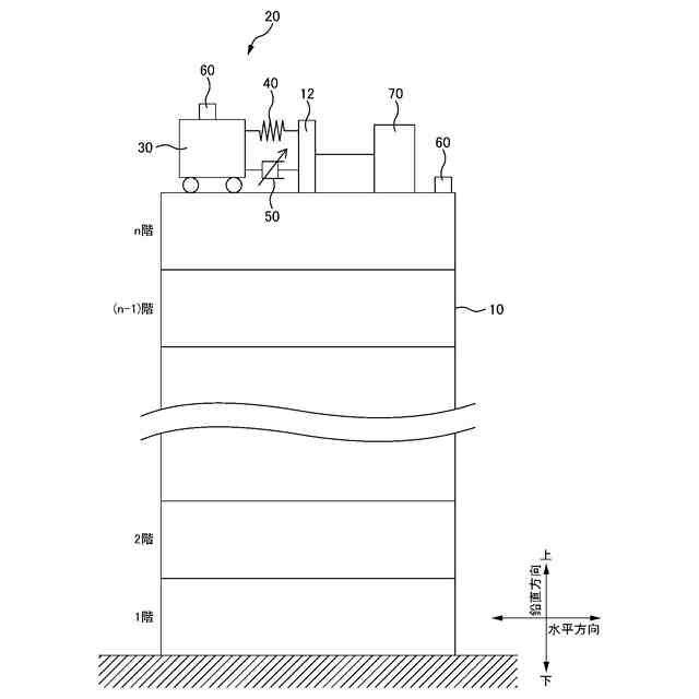
本実施形態に係る制振システムの構成を示す図である。
図1をモデル化した図である。
一般的なSAMD制御について説明するフロー図である。
本実施形態のSAMD制御について説明するフロー図である。
図2のモデルを2質点に簡略化した図である。
比較例の学習波を示す図である。
実施例の学習波を示す図である。
風洞実験で観察した風力(実在風力)を示す図である。
比較例と実施例の数値解析の結果を示す図である。
第1変形例の説明図である。
第2変形例の説明図である。
第3変形例の説明図である。
第4変形例の説明図である。
第5変形例の説明図である。
【発明を実施するための形態】
(【0011】以降は省略されています)
この特許をJ-PlatPat(特許庁公式サイト)で参照する
関連特許
株式会社大林組
基礎構造
2か月前
株式会社大林組
接合構造
22日前
株式会社大林組
飛込み台
1か月前
株式会社大林組
測定方法
1か月前
株式会社大林組
仮設建築物
1か月前
株式会社大林組
建物の構造
21日前
株式会社大林組
免震建築物
1か月前
株式会社大林組
ルーバー構造
1か月前
株式会社大林組
耐火被覆構造
1か月前
株式会社大林組
監視システム
1か月前
株式会社大林組
空調システム
1か月前
株式会社大林組
建物の躯体構造
1か月前
株式会社大林組
建物の躯体構造
1か月前
株式会社大林組
可搬式充電設備
21日前
株式会社大林組
床板の設置方法
1か月前
株式会社大林組
リフトアップ装置
1か月前
株式会社大林組
日射遮蔽発電装置
2か月前
株式会社大林組
安全支援システム
1か月前
株式会社大林組
リフトアップ装置
1か月前
株式会社大林組
鋼矢板の圧入方法
20日前
株式会社大林組
作業支援システム
2か月前
株式会社大林組
建築物及び建築方法
1か月前
株式会社大林組
梁段差部の仕口構造
2か月前
株式会社大林組
新設床版の設置工法
2か月前
株式会社大林組
袋体付き排水パイプ
1か月前
株式会社大林組
袋体付き排水パイプ
1か月前
株式会社大林組
改良土の品質管理方法
2か月前
株式会社大林組
CO2固定量測定方法
1か月前
株式会社大林組
クレーンの自動運転装置
20日前
株式会社大林組
建物の構築方法及び建物
1か月前
株式会社大林組
継手装置及び複合支持杭
1か月前
株式会社大林組
散水装置及び異物除去方法
1か月前
株式会社大林組
クレーン自動運転システム
20日前
株式会社大林組
多孔質部材の漏洩検知方法
1か月前
株式会社大林組
建設用溶接方法及び建設物
1か月前
株式会社大林組
セメント組成物の製造方法
2か月前
続きを見る
他の特許を見る