TOP
|
特許
|
意匠
|
商標
特許ウォッチ
Twitter
他の特許を見る
公開番号
2025158724
公報種別
公開特許公報(A)
公開日
2025-10-17
出願番号
2024061548
出願日
2024-04-05
発明の名称
旋回揚重機構、揚重装置、資機材の揚重方法
出願人
株式会社大林組
,
株式会社日進製作所
代理人
弁理士法人一色国際特許事務所
主分類
B66C
11/08 20060101AFI20251009BHJP(巻上装置;揚重装置;牽引装置)
要約
【課題】資機材の重量や揚重空間の状態に対応して、揚重作業を効率よく実施することである。
【解決手段】平面視リング形状の旋回レールと、前記旋回レール沿って移動する複数の旋回トロリーと、複数の前記旋回トロリーを等間隔に保持する回転フレームと、前記回転フレームに等間隔で設置され、資機材を支持する複数の吊下機構と、を備えることを特徴とする。
【選択図】図1
特許請求の範囲
【請求項1】
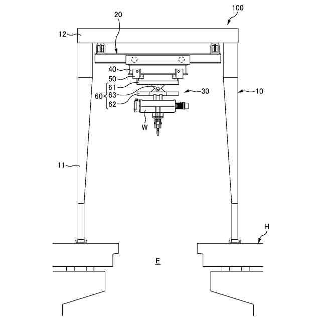
平面視リング形状の旋回レールと、
前記旋回レールに沿って移動する複数の旋回トロリーと、
複数の前記旋回トロリーを等間隔に保持する回転フレームと、
前記回転フレームに等間隔で設置され、資機材を支持する複数の吊下機構と、
を備えることを特徴とする旋回揚重機構。
続きを表示(約 1,000 文字)
【請求項2】
請求項1に記載の旋回揚重機構において、
前記回転フレームが、上部フレームと下部フレームとを備え、
前記上部フレームに前記旋回トロリーが接続され、前記下部フレームに複数の前記吊下機構が支持されていることを特徴とする旋回揚重機構。
【請求項3】
請求項1に記載の旋回揚重機構において、
前記吊下機構が、ホイストであることを特徴とする旋回揚重機構。
【請求項4】
請求項1に記載の旋回揚重機構において、
前記旋回トロリーが、前記旋回レールの外周に沿って走行する外周側走行部、及び内周に沿って走行する内周側走行部を含み、
前記外周側走行部は、前記旋回レールの接線と平行な方向に隣り合う複数の走行輪を備え、
前記内周側走行部は、前記旋回レールの内周に沿う方向に隣り合う複数の走行輪を備えることを特徴とする旋回揚重機構。
【請求項5】
請求項1に記載の旋回揚重機構と、
柱材、桁材、及び梁材を備える支持フレームと、
該支持フレーム内に設けられ、前記旋回揚重機構を桁方向及び梁方向に移動可能に支持する移動機構と、を備えることを特徴とする揚重装置。
【請求項6】
請求項5に記載の揚重装置において、
前記移動機構が、
前記桁材と平行な走行レールと、
該走行レールに設けられた走行トロリーと、
前記走行レールに直交する横行ガーターと、
該横行ガーターに設けられた横行トロリーと、を備え、
前記走行トロリーに、前記横行ガーターが接続され、
前記横行トロリーに、前記旋回揚重機構が接続されることを特徴とする揚重装置。
【請求項7】
請求項5または6に記載の揚重装置を用いた資機材の揚重方法であって、
前記支持フレームを、揚重空間を跨いでその上方に設置し、
前記吊下機構で吊り下げた資機材を、揚重空間を利用して揚重することを特徴とする資機材の揚重方法。
【請求項8】
請求項7に記載の資機材の揚重方法において、
前記揚重空間が、道路橋の中央分離帯開口部であり、
前記支持フレームを前記道路橋上に設置し、
前記吊下機構で吊り下げた資機材を、前記中央分離帯開口部を利用して揚重することを特徴とする資機材の揚重方法。
発明の詳細な説明
【技術分野】
【0001】
本発明は、資機材を揚重及び旋回する旋回揚重機構、旋回揚重機構を備えた揚重装置、及び揚重装置を用いた資機材の揚重方法に関する。
続きを表示(約 1,200 文字)
【背景技術】
【0002】
例えば、道路橋の床版取替工事などにおいて、中央分離帯開口部を利用して上部工を拡幅する上部工拡幅工事を併せて実施し、車線を追加する場合がある。上部工拡幅工事では、中央分離帯開口部を塞ぐ中央分離帯の併合作業を行うこととなる。
【0003】
中央分離帯の併合作業は、上り線及び下り線の中央分離帯開口部に隣接する壁高欄を切断撤去する工程、桁の増設工程、増設した桁上に新設床版を取付ける工程などを実施する。これらの工程には、地上との間で資機材を揚重する作業や、揚重した資機材を旋回して向きを変更する作業などが含まれる。
【0004】
このような資機材の揚重と旋回の両者を実現できる装置として、例えば特許文献1に、スライド式旋回装置が開示されている。特許文献1のスライド式旋回装置は、リング状の第3支持部材と、この第3支持部材に沿って移動する複数の第3走行部材と、複数の第3走行部材各々に設けた吊り上げ保持具を備えている。
【先行技術文献】
【特許文献】
【0005】
特許第6908962号公報
【発明の概要】
【発明が解決しようとする課題】
【0006】
特許文献1のスライド式旋回装置は、資機材を、複数の第3走行部材(以降、「旋回トロリー」という)各々に設けた吊り上げ保持具を利用して複数点で吊り上げ、支持部材に沿って直線状に位置移動できる。さらには、リング状の第3支持部材(以降、「旋回レール」という)に沿って、旋回できる。
【0007】
ところが、吊り上げ保持具を旋回トロリーに直接設置する構造であることから、資機材を複数の吊り上げ保持具で揚重しても、その荷重が、複数の旋回トロリー及び旋回レールに均等に分散されない可能性がある。このため、資機材が、チェーンブロックで吊り上げ可能な程度の重量であれば対応可能であるが、ホイストの使用が求められるような重量物である場合、取り扱いに課題が生じる。
【0008】
また、吊り上げ保持具が設置されている旋回トロリーは、旋回レールに対して等間隔で配置する。このため、資機材の揚重空間が狭隘な場合、資機材に取り付けた吊り上げ保持具のチェーンやワイヤーなどが、揚重空間に近接する構造物などと干渉するおそれがある。
【0009】
本発明は、かかる課題に鑑みなされたものであって、その主な目的は、資機材の重量や揚重空間の状態に対応して、揚重作業を効率よく実施することである。
【課題を解決するための手段】
【0010】
かかる目的を達成するため、本発明の旋回揚重機構は、平面視リング形状の旋回レールと、前記旋回レールに沿って移動する複数の旋回トロリーと、複数の前記旋回トロリーを等間隔に保持する回転フレームと、前記回転フレームに等間隔で設置され、資機材を支持する複数の吊下機構と、を備えることを特徴とする。
(【0011】以降は省略されています)
この特許をJ-PlatPat(特許庁公式サイト)で参照する
関連特許
株式会社大林組
飛込み台
1か月前
株式会社大林組
接合構造
21日前
株式会社大林組
測定方法
1か月前
株式会社大林組
建物の構造
20日前
株式会社大林組
仮設建築物
1か月前
株式会社大林組
可搬式充電設備
20日前
株式会社大林組
床板の設置方法
1か月前
株式会社大林組
リフトアップ装置
1か月前
株式会社大林組
リフトアップ装置
1か月前
株式会社大林組
鋼矢板の圧入方法
19日前
株式会社大林組
袋体付き排水パイプ
1か月前
株式会社大林組
袋体付き排水パイプ
1か月前
株式会社大林組
建築物及び建築方法
1か月前
株式会社大林組
クレーンの自動運転装置
19日前
株式会社大林組
建物の構築方法及び建物
1か月前
株式会社大林組
継手装置及び複合支持杭
1か月前
株式会社大林組
クレーン自動運転システム
19日前
株式会社大林組
散水装置及び異物除去方法
1か月前
株式会社大林組
多孔質部材の漏洩検知方法
1か月前
株式会社大林組
耐火構造、耐火板支持構造
12日前
株式会社大林組
飛込み台及びその施工方法
1か月前
株式会社大林組
制振システム、及び制振方法
1か月前
株式会社大林組
作業補助装置及び表面処理装置
23日前
株式会社大林組
表面処理装置及び表面処理方法
23日前
株式会社大林組
地下外壁の形成方法及び地下外壁
14日前
株式会社大林組
打設管理システム及び、打設管理方法
8日前
株式会社大林組
定着装置、及び外ケーブルの架設方法
7日前
株式会社大林組
設計支援システム、及び、設計支援方法
23日前
株式会社大林組
旋回揚重機構、揚重装置、資機材の揚重方法
5日前
株式会社大林組
構造部材同士を繋ぐ接合部への充填材の充填方法
20日前
株式会社大林組
ステーリングの取付方法及びステーリングの運搬装置
1か月前
株式会社大林組
運搬予約装置、運搬予約方法および運搬予約プログラム
5日前
株式会社大林組
免震構造の設計システム、設計方法及び設計プログラム
26日前
株式会社大林組
コンクリート補強棒材及びコンクリート部材の補強構造
8日前
株式会社大林組
施工支援システム、施工支援方法及び施工支援プログラム
7日前
株式会社大林組
積層構造の施工方法
1か月前
続きを見る
他の特許を見る