TOP
|
特許
|
意匠
|
商標
特許ウォッチ
Twitter
他の特許を見る
公開番号
2025155126
公報種別
公開特許公報(A)
公開日
2025-10-14
出願番号
2024058597
出願日
2024-04-01
発明の名称
打設管理システム及び、打設管理方法
出願人
株式会社大林組
代理人
弁理士法人プロスペック特許事務所
,
個人
主分類
E04G
21/02 20060101AFI20251006BHJP(建築物)
要約
【課題】コンクリートの打設管理において、コンクリートの充填状況及び締固め状況を効果的に把握する。
【解決手段】型枠内にコンクリートを打ち込むことにより所望のコンクリート構造物を構築する際のコンクリートの充填状況及び締固め状況を管理する打設管理システム1であって、コンクリートの型枠内への充填状況を取得する充填状況取得手段10と、型枠内に充填されたコンクリートの締固め状況を取得する締固め状況取得手段20と、充填状況取得手段10により取得される充填状況及び、締固め状況取得手段20により取得される締固め状況を示す画像G1~G4を生成する画像生成手段30,160と、画像生成手段30,160により生成される画像G1~G4を表示する画像表示手段40,41とを備えた。
【選択図】図1
特許請求の範囲
【請求項1】
型枠内にセメント系組成物を打ち込むことにより所望の構造物を構築する際の前記セメント系組成物の充填状況及び締固め状況を管理する打設管理システムであって、
前記セメント系組成物の前記型枠内への充填状況を取得する充填状況取得手段と、
前記型枠内に充填された前記セメント系組成物の締固め状況を取得する締固め状況取得手段と、
前記充填状況取得手段により取得される前記充填状況及び、前記締固め状況取得手段により取得される前記締固め状況を示す画像を生成する画像生成手段と、
前記画像生成手段により生成される前記画像を表示する画像表示手段と、を備える
ことを特徴とする打設管理システム。
続きを表示(約 1,100 文字)
【請求項2】
請求項1に記載の打設管理システムであって、
前記画像生成手段は、前記画像として、前記構造物の3次元モデルに前記充填状況及び、前記締固め状況を重畳した3次元画像を生成する
ことを特徴とする打設管理システム。
【請求項3】
請求項2に記載の打設管理システムであって、
前記画像生成手段は、前記充填状況として、前記セメント系組成物の充填に伴い色が変化する充填インジケータを前記3次元モデルに重畳するとともに、前記締固め状況として、前記セメント系組成物の締固めに伴い色が変化する締固めインジケータを前記3次元モデルに重畳する
ことを特徴とする打設管理システム。
【請求項4】
請求項3に記載の打設管理システムであって、
前記3次元モデルをセメント系組成物の許容打ち重ね時間間隔を満たし、且つ、打設の作業性を確保し得る大きさを基準とする複数のブロックに分割するブロック割り処理を実施するブロック割り処理手段をさらに備え、
前記画像表示手段は、少なくとも前記ブロック毎に前記充填インジケータ及び、前記締固めインジケータを重畳する
ことを特徴とする打設管理システム。
【請求項5】
請求項1又は2に記載の打設管理システムであって、
前記締固め状況取得手段は、前記型枠内に充填された前記セメント系組成物に振動を付与するバイブレータの駆動時間を累積するとともに、累積した駆動時間が所定の閾値時間に達すると、前記締固め状況として前記セメント系組成物の締固めが完了したと判定する
ことを特徴とする打設管理システム。
【請求項6】
請求項1又は2に記載の打設管理システムであって、
前記画像表示手段は、前記構造物の施工現場の作業員が所持する携帯端末装置の表示部であり、
前記画像生成手段は、ネットワークを通じて前記画像を前記表示部に表示する
ことを特徴とする打設管理システム。
【請求項7】
型枠内にセメント系組成物を打ち込むことにより所望の構造物を構築する際の前記セメント系組成物の充填状況及び締固め状況を管理する打設管理方法であって、
前記セメント系組成物の前記型枠内への充填状況を取得し、
前記型枠内に充填された前記セメント系組成物の締固め状況を取得し、
取得した前記充填状況及び、前記締固め状況を示す画像を生成し、
生成した前記画像を画像表示手段に表示する
ことを特徴とする打設管理方法。
発明の詳細な説明
【技術分野】
【0001】
本開示は、打設管理システム及び、打設管理方法に関し、コンクリート(フレッシュコンクリート)等のセメント系組成物の打設管理に好適な技術に関するものである。
続きを表示(約 1,700 文字)
【背景技術】
【0002】
例えば、特許文献1には、コンクリートが打ち込まれる型枠内に、静電容量式のレベルセンサを複数設置し、各レベルセンサの検出結果に基づいて型枠内におけるコンクリートの充填状況を把握するようにした技術が開示されている。
【先行技術文献】
【特許文献】
【0003】
特開2022-003221号公報
【発明の概要】
【発明が解決しようとする課題】
【0004】
コンクリートの打設作業は、コンクリート打設管から型枠内にコンクリートを打ち込んだ後、型枠内に充填されたコンクリートにバイブレータから振動を付与し、コンクリートを締固めることにより行われる。特許文献1記載の技術では、型枠内にコンクリートが充填されたか否かについては把握できるが、コンクリートが実際に締固められたかについては把握することができない。すなわち、コンクリートの打設管理に改善の余地があるといえる。
【0005】
本開示の技術は、上記事情に鑑みてなされたものであり、コンクリートを含むセメント系組成物の打設管理において、セメント系組成物の充填状況及び締固め状況を効果的に把握することができる技術を提供することを目的とする。
【課題を解決するための手段】
【0006】
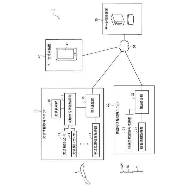
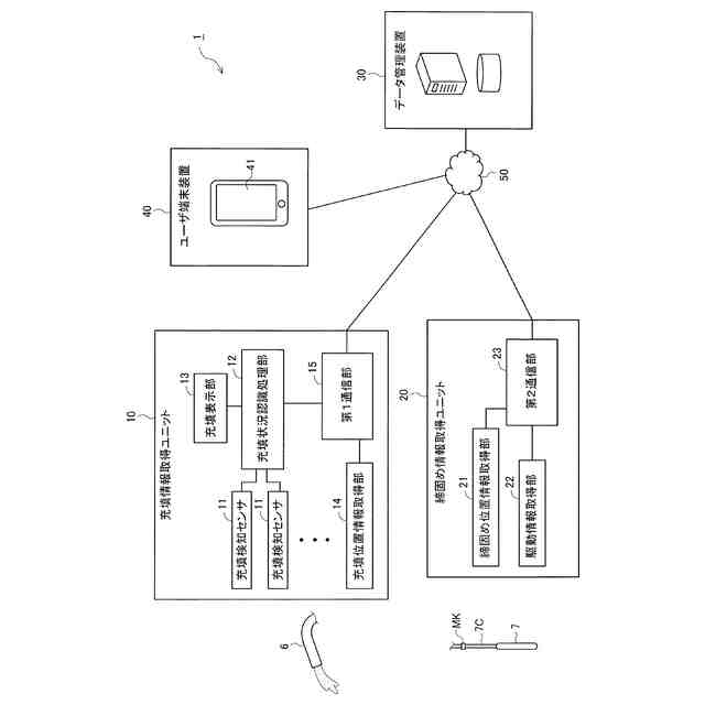
本開示のシステムは、
型枠内にセメント系組成物を打ち込むことにより所望の構造物を構築する際の前記セメント系組成物の充填状況及び締固め状況を管理する打設管理システム(1)であって、
前記セメント系組成物の前記型枠内への充填状況を取得する充填状況取得手段(10)と、
前記型枠内に充填された前記セメント系組成物の締固め状況を取得する締固め状況取得手段(20)と、
前記充填状況取得手段(10)により取得される前記充填状況及び、前記締固め状況取得手段(20)により取得される前記締固め状況を示す画像(G1~G4)を生成する画像生成手段(30,160)と、
前記画像生成手段(30,160)により生成される前記画像(G1~G4)を表示する画像表示手段(40,41)と、を備える
ことを特徴とする。
【0007】
本開示の他の態様の打設管理システム(1)において、
前記画像生成手段(30,160)は、前記画像として、前記構造物の3次元モデル(MD)に前記充填状況及び、前記締固め状況を重畳した3次元画像(G1~G4)を生成することが望ましい。
【0008】
本開示の他の態様の打設管理システム(1)において、
前記画像生成手段(30,160)は、前記充填状況として、前記セメント系組成物の充填に伴い色が変化する充填インジケータ(IGF1~IGF3)を前記3次元モデル(MD)に重畳するとともに、前記締固め状況として、前記セメント系組成物の締固めに伴い色が変化する締固めインジケータ(IGC)を前記3次元モデル(MD)に重畳することが望ましい。
【0009】
本開示の他の態様の打設管理システム(1)は、
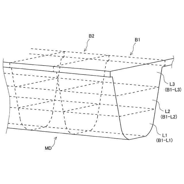
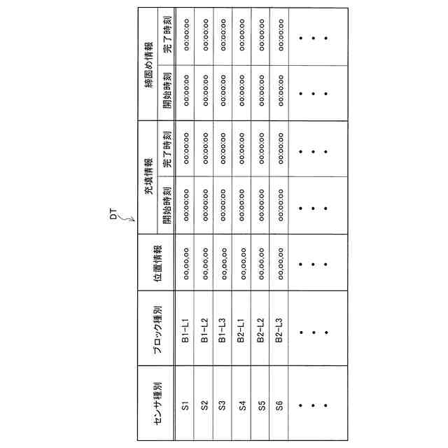
前記3次元モデル(MD)をセメント系組成物の許容打ち重ね時間間隔を満たし、且つ、打設の作業性を確保し得る大きさを基準とする複数のブロック(B1,B2・・・)に分割するブロック割り処理を実施するブロック割り処理手段(30,110)をさらに備え、
前記画像表示手段(30,160)は、少なくとも前記ブロック(B1,B2・・・)毎に前記充填インジケータ(IGF1~IGF3)及び、前記締固めインジケータ(IGC)を重畳することが望ましい。
【0010】
本開示の他の態様の打設管理システム(1)において、
前記締固め状況取得手段(20)は、前記型枠内に充填された前記セメント系組成物に振動を付与するバイブレータ(7)の駆動時間を累積するとともに、累積した駆動時間(T
SUM
)が所定の閾値時間(Tv)に達すると、前記セメント系組成物が締固められたと判定することが望ましい。
(【0011】以降は省略されています)
この特許をJ-PlatPat(特許庁公式サイト)で参照する
関連特許
株式会社大林組
測定方法
2か月前
株式会社大林組
飛込み台
2か月前
株式会社大林組
接続構造
23日前
株式会社大林組
操縦装置
23日前
株式会社大林組
加熱装置
20日前
株式会社大林組
接合構造
23日前
株式会社大林組
開封装置
20日前
株式会社大林組
接合構造
1か月前
株式会社大林組
基礎構造
3か月前
株式会社大林組
建物の構造
1か月前
株式会社大林組
仮設建築物
2か月前
株式会社大林組
免震建築物
2か月前
株式会社大林組
ドリル装置
23日前
株式会社大林組
空調システム
2か月前
株式会社大林組
監視システム
2か月前
株式会社大林組
ルーバー構造
2か月前
株式会社大林組
耐火被覆構造
2か月前
株式会社大林組
土壌改良方法
3か月前
株式会社大林組
スロープ構造
20日前
株式会社大林組
耐火被覆構造
3か月前
株式会社大林組
折畳み構造物
26日前
株式会社大林組
耐火被覆構造
3か月前
株式会社大林組
建物の躯体構造
2か月前
株式会社大林組
建物の躯体構造
2か月前
株式会社大林組
積層材成型方法
3か月前
株式会社大林組
床板の設置方法
2か月前
株式会社大林組
シャッター装置
3か月前
株式会社大林組
可搬式充電設備
1か月前
株式会社大林組
梁筋の配筋方法
12日前
株式会社大林組
災害時支援装置
12日前
株式会社大林組
リフトアップ装置
2か月前
株式会社大林組
リフトアップ装置
2か月前
株式会社大林組
安全支援システム
2か月前
株式会社大林組
日射遮蔽発電装置
3か月前
株式会社大林組
作業支援システム
3か月前
株式会社大林組
大梁胴縁接続構造
14日前
続きを見る
他の特許を見る