TOP
|
特許
|
意匠
|
商標
特許ウォッチ
Twitter
他の特許を見る
公開番号
2025063487
公報種別
公開特許公報(A)
公開日
2025-04-16
出願番号
2023172729
出願日
2023-10-04
発明の名称
フレッシュコンクリートの製造方法
出願人
鹿島建設株式会社
代理人
個人
,
個人
主分類
B28C
5/42 20060101AFI20250409BHJP(セメント,粘土,または石材の加工)
要約
【課題】アジテータ車のミキシングドラム内に中空微小球等の飛散しやすい粉体状の混和材を投入して攪拌する手法によってフレッシュコンクリートを製造する際に、当該粉体状の混和材の飛散による材料の損失を防止して、フレッシュコンクリートの製造における経済性と品質安定性を向上させること。
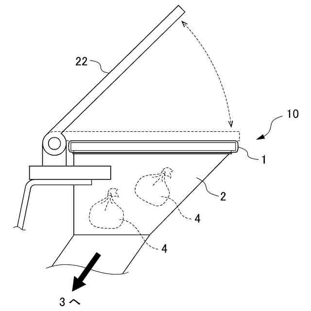
【解決手段】アジテータ車10のホッパ開口部21からミキシングドラム3内に粉体状の混和材を投入する、粉体投入工程と、樹脂製又は布製のドーム状の形状からなるカバーであって、カバー底面側開口113の周長を増減させる機能を有するアジャスター12がカバー底面側開口113の外縁に設けられているホッパカバー1で覆うことによって、ホッパ開口部21を密閉する、ホッパ密閉工程と、ミキシングドラム3内で、フレッシュコンクリート材料と粉体状の混和材を攪拌する、攪拌工程と、を行う、フレッシュコンクリートの製造方法とする。
【選択図】図3
特許請求の範囲
【請求項1】
アジテータ車のミキシングドラム内で行う、フレッシュコンクリートの製造方法であって、
セメント材、骨材、及び、水を含んでなるフレッシュコンクリート材料が積載されている前記アジテータ車のホッパ開口部から前記ミキシングドラム内に粉体状の混和材を投入する、粉体投入工程と、
樹脂製又は布製のドーム状の形状からなるカバーであって、カバー底面側開口の周長を増減させる機能を有するアジャスターが前記カバー底面側開口の外縁に設けられているホッパカバーで覆うことによって、前記ホッパ開口部を密閉する、ホッパ密閉工程と、
前記ミキシングドラム内で、前記フレッシュコンクリート材料と前記粉体状の混和材を攪拌する、攪拌工程と、
を行う、
フレッシュコンクリートの製造方法。
続きを表示(約 860 文字)
【請求項2】
前記粉体状の混和材が中空微小球である、
請求項1に記載のフレッシュコンクリートの製造方法。
【請求項3】
前記ホッパカバーが透明なカバーである、
請求項1又は2に記載のフレッシュコンクリートの製造方法。
【請求項4】
前記粉体投入工程においては、前記粉体状の混和材を水溶性袋体に封入した状態で、前記ホッパ開口部から前記ミキシングドラム内に投入する、
請求項1又は2に記載のフレッシュコンクリートの製造方法。
【請求項5】
前記ホッパカバーは、カバー天面に供給管挿入用開口部を有し、供給管挿入用開口部の外縁にも前記アジャスターが設置されていて、
前記粉体投入工程は、前記ホッパ開口部に前記ホッパカバーを設置した状態で、粉体供給管を前記供給管挿入用開口部から前記ミキシングドラム内に挿入して行い、
前記ホッパ密閉工程においては、前記供給管挿入用開口部の外縁に設けられている前記アジャスターによって、前記供給管挿入用開口部の内径を縮小させて該供給管挿入用開口部を閉止することによって、前記ホッパ開口部を密閉する、
請求項1又は2に記載のフレッシュコンクリートの製造方法。
【請求項6】
アジテータ車のミキシングドラム内でフレッシュコンクリートを製造するためのホッパの密閉構造であって、
逆円錐台形状のホッパと、
樹脂製又は布製のドーム状の形状からなるカバーであって、カバー底面側開口の周長を増減させる機能を有するアジャスターがカバー底面側開口の外縁に設けられているホッパカバーと、
を含んでなり、
前記ホッパカバーがホッパ開口部を覆って設置されていて、前記アジャスターの前記機能によって前記カバー底面側開口の外縁が前記ホッパ開口部の近傍のホッパの外側面に密着していることによって、前記ホッパ開口部が密閉されている、
アジテータ車のホッパの密閉構造。
発明の詳細な説明
【技術分野】
【0001】
本発明は、フレッシュコンクリートの製造方法に関する。本発明は、詳しくは、アジテータ車のミキシングドラム内のフレッシュコンクリート材料中に中空微小球等の粉体状の混和材を後添加で投入することによって、フレッシュコンクリートの製造を行うフレッシュコンクリートの製造方法に関する。
続きを表示(約 1,700 文字)
【背景技術】
【0002】
コンクリート中に適切な空気量の範囲で適切な粒径の微細な気泡を形成することにより、凍結融解抵抗性に優れるコンクリート(本明細書において「耐凍害性微細気泡コンクリート」と言う)を得ることができることは広く知られている。このようなコンクリートを得るために、微細な気泡をコンクリート内に適切に形成する手段の一つとして、フレッシュコンクリート材料に樹脂製の中空微小球を混入させるフレッシュコンクリートの製造方法の開発が進んでいる(特許文献1、2参照)。
【0003】
一方、一般的な調合のフレッシュコンクリート材料に対して各種の混和材を追加的に投入して機能性を高めるフレッシュコンクリートを製造する場合、生コンクリート工場で予め一般的な所定の調合で練り混ぜられた状態でアジテータ車に積載されて搬送されてきたフレッシュコンクリート材料に対して、コンクリートの打設現場において特定の混和材を後添加でミキシングドラム内に投入する手法によって、打設用のフレッシュコンクリートを製造することが広く行われている(特許文献3参照)。
【0004】
上述の「耐凍害性微細気泡コンクリート」の製造も、多くの場合、中空微小球を、コンクリートの打設現場において、アジテータ車のミキシングドラム内に後添加で投入し、ミキシングドラム内でフレッシュコンクリート材料とともに高速攪拌する手法によって行われている。
【0005】
しかしながら、上記の中空微小球は、密度0.13g/cm
3
と非常に軽く、上述の手法により製造時に、ミキシングドラムによる高速攪拌時に攪拌工程の初期時点で中空微小球の一部が飛散してしまい、材料の損失や品質のばらつきが発生することが問題となっていた。
【0006】
この問題に対して、現状では、上記の損失を見込んで、中空微小球の投入量を、経験値等による推測や既往の実験データに基づき、割り増しすることで対策を行っていたが、経済性に問題があり、品質安定性の面でも改善の余地があった。
【先行技術文献】
【特許文献】
【0007】
特開2016-47790号公報
特開2017-105655号公報
特開2006-117466号公報
【発明の概要】
【発明が解決しようとする課題】
【0008】
本発明は、上記状況に鑑みて開発されたものであり、アジテータ車のミキシングドラム内に中空微小球等の飛散しやすい粉体状の混和材を投入して攪拌する手法によってフレッシュコンクリートを製造する際に、当該粉体状の混和材の飛散による材料の損失を防止して、フレッシュコンクリートの製造における経済性と品質安定性を向上させることを目的とする。
【課題を解決するための手段】
【0009】
本発明者は、飛散しやすい粉体状の混和材を投入して攪拌する手法によってフレッシュコンクリートを製造する際において、逆円錐台形状であって開口部が円形或いは略円形であるミキシングドラムへの材料投入用のホッパの形状に合わせて形状及び機能を最適化したホッパカバーを用いるようにすることで、上記課題を解決できることを見出し、本発明を完成させるに至った。本発明は具体的には、以下の各製造方法等を提供する。
【0010】
(1) アジテータ車のミキシングドラム内で行う、フレッシュコンクリートの製造方法であって、セメント材、骨材、及び、水を含んでなるフレッシュコンクリート材料が積載されている前記アジテータ車のホッパ開口部から前記ミキシングドラム内に粉体状の混和材を投入する、粉体投入工程と、樹脂製又は布製のドーム状の形状からなるカバーであって、カバー底面側開口の周長を増減させる機能を有するアジャスターが前記カバー底面側開口の外縁に設けられているホッパカバーで覆うことによって、前記ホッパ開口部を密閉する、ホッパ密閉工程と、前記ミキシングドラム内で、前記フレッシュコンクリート材料と前記粉体状の混和材を攪拌する、攪拌工程と、を行う、フレッシュコンクリートの製造方法。
(【0011】以降は省略されています)
この特許をJ-PlatPat(特許庁公式サイト)で参照する
関連特許
鹿島建設株式会社
壁体
1か月前
鹿島建設株式会社
熱回収方法
1か月前
鹿島建設株式会社
空調システム
10日前
鹿島建設株式会社
トンネル掘削機
1か月前
鹿島建設株式会社
シールド掘進機
3日前
鹿島建設株式会社
柱建て込み方法
17日前
鹿島建設株式会社
高度測位システム
1か月前
鹿島建設株式会社
シール部材診断方法
1か月前
鹿島建設株式会社
グラウチングシステム
24日前
鹿島建設株式会社
計測装置及び計測方法
1か月前
鹿島建設株式会社
グラウチングシステム
24日前
鹿島建設株式会社
接続方法および接続構造
23日前
鹿島建設株式会社
運搬台車および運搬方法
13日前
鹿島建設株式会社
ワイヤレス給電システム
13日前
鹿島建設株式会社
水処理システムおよび水処理方法
23日前
鹿島建設株式会社
型枠固定機構および壁体の構築方法
1か月前
鹿島建設株式会社
支保工の支持構造およびスラブの構築方法
1か月前
鹿島建設株式会社
鉱物含有量測定方法及び鉱物含有量測定装置
23日前
鹿島建設株式会社
測定装置、測定方法及び測定装置の校正方法
1か月前
鹿島道路株式会社
コンクリート舗装の養生方法
4日前
鹿島道路株式会社
コンクリート舗装の養生方法
4日前
鹿島建設株式会社
洗掘防止部材設置システム、洗掘防止部材設置方法
1か月前
鹿島建設株式会社
作業効率化支援方法及び作業効率化支援プログラム
1か月前
鹿島建設株式会社
風力発電用基礎構造、風力発電用基礎構造の施工方法
1か月前
鹿島建設株式会社
オンライン会議サーバ、及び、オンライン会議を提供する方法
24日前
ケイミューシポレックス株式会社
軽量気泡コンクリートの製造方法
3日前
鹿島建設株式会社
搬送管および搬送装置
23日前
鹿島建設株式会社
搬送管および搬送装置
23日前
鹿島建設株式会社
生物生息場構造体、生物生息場構造、生物生息場構造体の引き上げ方法
13日前
Haloworld株式会社
マップ作成システム及び自動走行システム
5日前
株式会社ノザワ
中空部を有する炭酸化押出成形セメント板の製造方法とその原料配合物
1か月前
峰岸株式会社
ドリルビット
8か月前
株式会社丸高工業
湿式穿孔工具
8か月前
株式会社大林組
形成方法
9か月前
株式会社大林組
積層材成型方法
2か月前
ジャパンライフ株式会社
段差形成治具
11か月前
続きを見る
他の特許を見る