TOP
|
特許
|
意匠
|
商標
特許ウォッチ
Twitter
他の特許を見る
公開番号
2025141714
公報種別
公開特許公報(A)
公開日
2025-09-29
出願番号
2024041777
出願日
2024-03-16
発明の名称
集塵装置、集塵方法、切削装置、および切削方法
出願人
久保工業株式会社
代理人
個人
主分類
B28D
7/02 20060101AFI20250919BHJP(セメント,粘土,または石材の加工)
要約
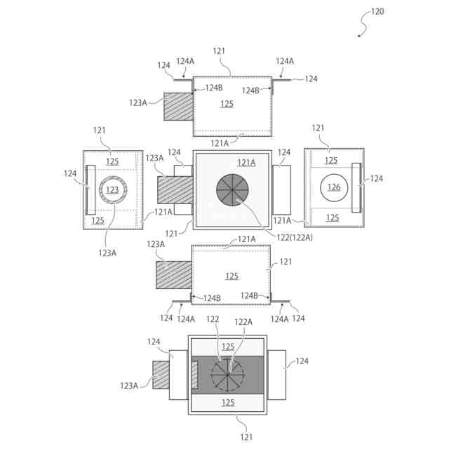
【課題】 穿孔作業時に発生する切粉や粉塵の飛散を、確実かつ安全に防止することができ、さらに様々な長さのビットに対応できる集塵装置、集塵方法、切削装置、および切削方法を提供することを目的とする。
【解決手段】 壁体500に形成する凹部の中心軸を挟んで対向する位置に一対の台座部材110が配置され、切削工具210が壁体500を切削する側の面が開口された開口部と、壁体500の切削が可能に切削工具210を挿通させる挿通孔122と、粉塵を吸引するための吸引装置に接続された吸引ホースが接続される吸引孔123と、を具備するカバー部120が箱体からなり、開口部を閉口するようにして、壁体500に配置された台座部材110とカバー部120とを吸着手段130が吸着させる。
【選択図】図1
特許請求の範囲
【請求項1】
棒状の切削工具が被削物を切削することで凹部を形成する際に発生する粉塵を集塵する集塵装置において、
形成する凹部を挟んで前記被削物に取り付けられる一対の平板状の台座部材と、
少なくとも一面が開口された箱状体であって、前記被削物の切削が可能に前記切削工具を挿通させる挿通孔と、粉塵を吸引するための吸引装置に吸引ホースを介して接続される吸引孔と、を具備するカバー部と、
前記開口された一面が前記被削物に向けられた前記カバー部と、前記台座部材と、を吸着させる吸着手段と、
を備えることを特徴とする集塵装置。
続きを表示(約 740 文字)
【請求項2】
前記台座部材は、
金属製板材であって、
前記吸着手段は、
磁性体Mを介して吸着させること、
を特徴とする請求項1記載の集塵装置。
【請求項3】
前記磁性体Mは、
前記金属製板材の上層に配置されていること、
を特徴とする請求項2記載の集塵装置。
【請求項4】
前記金属製板材と前記磁性体Mとの間に設けられた介在層、
を備えることを特徴とする請求項2記載の集塵装置。
【請求項5】
前記介在層は、
滑り特性を有する一方面の裏側に粘着剤が塗布されたテープ材であること、
を特徴とする請求項4記載の集塵装置。
【請求項6】
前記テープ材は、
養生テープであること、
を特徴とする請求項5記載の集塵装置。
【請求項7】
前記挿通孔は、
前記切削工具の非挿通時に前記挿通孔を閉じる開閉弁、
を備えることを特徴とする請求項1記載の集塵装置。
【請求項8】
前記開閉弁は、
中央部から放射状に切り込まれたスリットを備える樹脂製シート材であること、
を特徴とする請求項7記載の集塵装置。
【請求項9】
前記カバー部は、
前記挿通孔から挿入された前記切削工具を、切削方向に誘導するガイド部、
を備えることを特徴とする請求項1記載の集塵装置。
【請求項10】
前記カバー部は、
外気を内部に取り入れるための通気孔、
を備えることを特徴とする請求項1記載の集塵装置。
(【請求項11】以降は省略されています)
発明の詳細な説明
【技術分野】
【0001】
本発明は、集塵装置、集塵方法、切削装置、および切削方法に関し、特に棒状の切削工具が被削物を切削することで凹部を形成する際に発生する粉塵を集塵する集塵装置、集塵方法、切削装置、および切削方法に関する。
続きを表示(約 1,300 文字)
【背景技術】
【0002】
従来から、コンクリート製の壁や床に孔を開けるための工具として、コアドリルが知られている。コアドリルは、たとえば円筒状のダイヤモンドの刃先を具備したビットを装着し、ビットをコアドリルが高速回転させることでコンクリート製の壁や床を掘削して穿孔する。
【0003】
コアドリルでコンクリート製の壁や床を穿孔すると、ビットがコンクリートを掘削することにより、掘削されたコンクリートの切粉や粉塵が発生してしまう。作業者の作業環境保全だけでなく、近隣住民や通行人の生活環境保全の観点から、切粉や粉塵の飛散は最小限に留めなくてはならない。
【0004】
そこで、コアドリルの先端部に蛇腹状の集塵カバーを取り付け、コアドリルの先端部に取り付けられるビットを包囲することで、切粉や粉塵の飛散を防止することができる電動工具が開示されている(たとえば、特許文献1参照)。
【0005】
図6は、特許文献1で開示された電動工具および集塵装置を示す図である。
図6に示すように、特許文献1で開示された電動工具10は、電動工具本体11、ビット12、および集塵カバー13を備えている。
【0006】
柔軟性を備えた材料からなる蛇腹状に形成された円筒状の集塵カバー13は、その全長を伸縮することが可能となっており、ビット12と集塵カバー13の内周面との間に一定の空間を保つようにしてビット12を包囲している。
また、集塵カバー13の基端部側が電動工具本体11に接続され、集塵カバー13の先端部側を穿孔対象となる壁面部等に当接することで、穿孔作業時に発生する切粉や粉塵を集塵カバー13内部に留めることができる。
【0007】
さらに集塵カバー13の内部には、集塵カバー13を伸長させるコイル部材を備えており、コイル部材が伸長することで集塵カバー13の先端部が穿孔対象となる壁面部等に当接する構造となっている。
【0008】
また集塵カバー13の基端部側には、電動工具本体11に接続される円筒状のガイド部13Aが設けられており、ビット12と集塵カバー13の内周面との間に一定の空間を保つようにして、ガイド部13Aが集塵カバー13の内側に進入する構造となっている。
【0009】
作業者は、電動工具本体11を一方の手で支持し、ガイド部13Aの外周面に沿って集塵カバー13を他方の手で縮めることで、ビット12の先端が集塵カバー13から露出される。これにより作業者は、集塵カバー13から露出されたビット12の先端を穿孔位置に合わせることができる。
【0010】
また集塵カバー13から露出されたビット12の先端を穿孔位置に合わせた状態で、ガイド部13Aの外周面に沿って他方の手で縮めていた集塵カバー13を緩めることで、集塵カバー13内部のコイル部材が伸長して集塵カバー13の先端部が穿孔対象となる壁面部等に当接する。これにより穿孔位置は、集塵カバー13と電動工具本体11とによって包囲されるので、穿孔作業時に発生する切粉や粉塵の飛散を防止している。
(【0011】以降は省略されています)
この特許をJ-PlatPat(特許庁公式サイト)で参照する
関連特許
久保工業株式会社
集塵装置、集塵方法、切削装置、および切削方法
1か月前
峰岸株式会社
ドリルビット
9か月前
株式会社丸高工業
湿式穿孔工具
8か月前
株式会社大林組
形成方法
10か月前
株式会社大林組
積層材成型方法
2か月前
株式会社大林組
形成方法及び形成装置
9か月前
株式会社コンセック
ワイヤーソー装置
11か月前
個人
石膏板の製造方法
2か月前
株式会社大林組
構造体の製造方法
5か月前
倉敷紡績株式会社
セメント系造形物の製造方法
23日前
倉敷紡績株式会社
セメント系造形物の製造方法
23日前
株式会社大林組
構造体の製造方法
5か月前
株式会社シブヤ
穿孔装置
3か月前
モリ技巧株式会社
コンクリートスラリー処理装置
11か月前
太平洋マテリアル株式会社
軽量繊維層及びその形成方法
22日前
セレンディクス株式会社
建築物の製造方法
3か月前
セレンディクス株式会社
構造物の製造方法
2か月前
株式会社マキタ
作業機
10か月前
株式会社奥村組
積層コンクリート集合体の養生方法
6か月前
芝浦メカトロニクス株式会社
基板分離装置
6か月前
戸田建設株式会社
打設現場におけるスランプの調整方法
5か月前
株式会社Polyuse
造形物の製造方法
9か月前
株式会社Polyuse
構造物の製造方法
9か月前
本多産業株式会社
コンクリート離型剤
3か月前
株式会社エンプラス
流体取扱装置
11か月前
株式会社熊谷組
骨材管理システムおよび骨材管理方法
2か月前
カヤバ株式会社
ミキサドラム制御装置
10か月前
鹿島建設株式会社
フレッシュコンクリートの製造方法
6か月前
カヤバ株式会社
ミキサドラムの制御装置
7か月前
株式会社大林組
構造物形成方法及び構造物形成システム
5か月前
ノリタケ株式会社
ロールコンパクション成形装置
22日前
ノリタケ株式会社
ロールコンパクション成形装置
22日前
鹿島建設株式会社
境界ブロックの製作方法および境界ブロック
4か月前
株式会社冨士機
生コンクリート製造プラント
10か月前
株式会社エコシステム
混合ユニット、及び、混練物製造プラント
1か月前
太平洋マテリアル株式会社
吹付用ノズル
29日前
続きを見る
他の特許を見る