TOP
|
特許
|
意匠
|
商標
特許ウォッチ
Twitter
他の特許を見る
公開番号
2025153194
公報種別
公開特許公報(A)
公開日
2025-10-10
出願番号
2024055534
出願日
2024-03-29
発明の名称
ロールコンパクション成形装置
出願人
ノリタケ株式会社
代理人
個人
,
個人
,
個人
主分類
B28B
1/02 20060101AFI20251002BHJP(セメント,粘土,または石材の加工)
要約
【課題】成形ロールとセキ板との間からの成形材料の漏れを抑制し、成形条件を安定させる。
【解決手段】ロールコンパクション成形装置は、軸線方向を揃えるように間隔をあけて配置された一対の成形ロールと、一対の成形ロールに向けて材料を送る供給装置と、一対の成形ロールの並び方向F-Rr、および、材料の送り方向U-Dに延びるとともに、U-D方向の上流側Uから一対の成形ロールに接した第1のセキ板と、F-Rr方向およびU-D方向に延びるとともに、U-D方向の上流側Uから一対の成形ロールに接し、供給装置による材料の供給地点を挟んで第1のセキ板と対向配置された第2のセキ板50Rと、を備える。第1のセキ板および第2のセキ板50Rは、それぞれ、一対の成形ロールに接する端部に設けられた弾性部50Bを備える。
【選択図】図3
特許請求の範囲
【請求項1】
軸線方向を揃えるように、間隔をあけて配置された一対の成形ロールと、
前記一対の成形ロールのうちの少なくとも一方を回転させる回転装置と、
前記一対の成形ロールに向けて粉末状またはスラリー状の材料を送る供給装置と、
前記一対の成形ロールの並び方向、および、前記材料の送り方向に延びるとともに、前記送り方向の上流側から前記一対の成形ロールに接した第1のセキ板と、
前記並び方向および前記送り方向に延びるとともに、前記送り方向の上流側から前記一対の成形ロールに接し、前記供給装置による前記材料の供給地点を挟んで前記第1のセキ板と対向配置された第2のセキ板と、を備え、
前記第1のセキ板および前記第2のセキ板は、それぞれ、前記一対の成形ロールに接する端部に設けられた弾性部を備えている、
ロールコンパクション成形装置。
続きを表示(約 1,000 文字)
【請求項2】
前記第1のセキ板および前記第2のセキ板は、それぞれ、定形性を有する本体部を備え、
前記弾性部は、前記本体部の前記送り方向の下流側端部から下流側に延びている、
請求項1に記載のロールコンパクション成形装置。
【請求項3】
前記本体部は、
前記並び方向および前記送り方向に延びる第1部材と、
前記並び方向および前記送り方向に延び、前記第1部材と向かい合うように配置された第2部材と、を備え、
前記第1のセキ板および前記第2のセキ板は、それぞれ、弾性材料で構成され前記第1部材と第2部材とに挟まれることにより固定された弾性板を備え、
前記弾性板の前記送り方向の下流側端部のうちの少なくとも一部は、前記第1部材および前記第2部材の下流側端部よりも下流まで延びており、前記弾性部を構成している、
請求項2に記載のロールコンパクション成形装置。
【請求項4】
前記本体部の下流側端部は、前記一対の成形ロールの外周面にそれぞれ沿うように湾曲した一対の湾曲部を含み、
前記一対の湾曲部は、前記送り方向の下流側に向かって凸する頂点を形成するように接続されており、
前記弾性部は、前記頂点の周辺では欠落している、
請求項2に記載のロールコンパクション成形装置。
【請求項5】
前記本体部の前記下流側端部に沿った前記弾性部の幅は、0.1mm以上1mm以下である、
請求項2に記載のロールコンパクション成形装置。
【請求項6】
前記一対の成形ロールのうちの少なくとも一方を前記一対の成形ロールの並び方向に移動させ、前記一対の成形ロールの間の間隔を変更することが可能な間隔変更機構をさらに備え、
前記弾性部は、前記一対の成形ロールの間に配置された部分を含んでおり、
前記弾性部の前記一対の成形ロールの間に配置された部分は、前記一対の成形ロールの間の間隔が所定の範囲で変更されても前記一対の成形ロールに接するように構成されている、
請求項1に記載のロールコンパクション成形装置。
【請求項7】
前記第1のセキ板および前記第2のセキ板を前記送り方向の下流側に向かって押す押圧機構をさらに備えている、
請求項1に記載のロールコンパクション成形装置。
発明の詳細な説明
【技術分野】
【0001】
本開示は、ロールコンパクション成形装置に関する。
続きを表示(約 2,100 文字)
【背景技術】
【0002】
例えば特許文献1には、原料を搬送する搬送スクリューと、上下一対の原料圧縮用ロール(成形ロール)と、一対の原料圧縮用ロールの原料噛み込み部を囲む閉空間を形成する一対の上下シールおよびサイドシール(セキ板)と、を備えた乾式造粒機(ロールコンパクション成形装置)が開示されている。
【先行技術文献】
【特許文献】
【0003】
特開2017-000955号公報
【発明の概要】
【発明が解決しようとする課題】
【0004】
特許文献1に記載されているような乾式造粒機(ロールコンパクション成形装置)では、原料圧縮用ロール(成形ロール)とサイドシール(セキ板)との隙間から成形材料が漏れることがある。ロールコンパクション成形装置において、成形ロールとセキ板との間から成形材料が漏れると、成形圧力が低下し、成形条件が不安定になることがある。
【課題を解決するための手段】
【0005】
ここに開示されるロールコンパクション成形装置は、軸線方向を揃えるように間隔をあけて配置された一対の成形ロールと、前記一対の成形ロールのうちの少なくとも一方を回転させる回転装置と、前記一対の成形ロールに向けて粉末状またはスラリー状の材料を送る供給装置と、前記一対の成形ロールの並び方向、および、前記材料の送り方向に延びるとともに、前記送り方向の上流側から前記一対の成形ロールに接した第1のセキ板と、前記並び方向および前記送り方向に延びるとともに、前記送り方向の上流側から前記一対の成形ロールに接し、前記供給装置による前記材料の供給地点を挟んで前記第1のセキ板と対向配置された第2のセキ板と、を備える。前記第1のセキ板および前記第2のセキ板は、それぞれ、前記一対の成形ロールに接する端部に設けられた弾性部を備えている。
【0006】
上記ロールコンパクション成形装置によれば、セキ板は、弾性を有する弾性部で成形ロールに接する。成形ロールとセキ板との間は、弾性部の弾性変形によりシールされる。よって、上記ロールコンパクション成形装置によれば、成形ロールとセキ板との間からの材料の漏れを抑制できる。その結果、成形圧力の低下を抑制することができ、安定した成形を行うことができる。
【図面の簡単な説明】
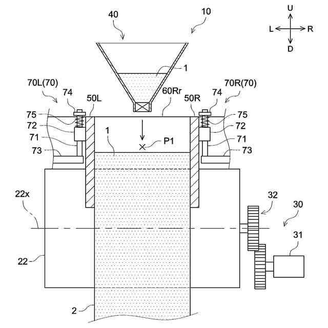
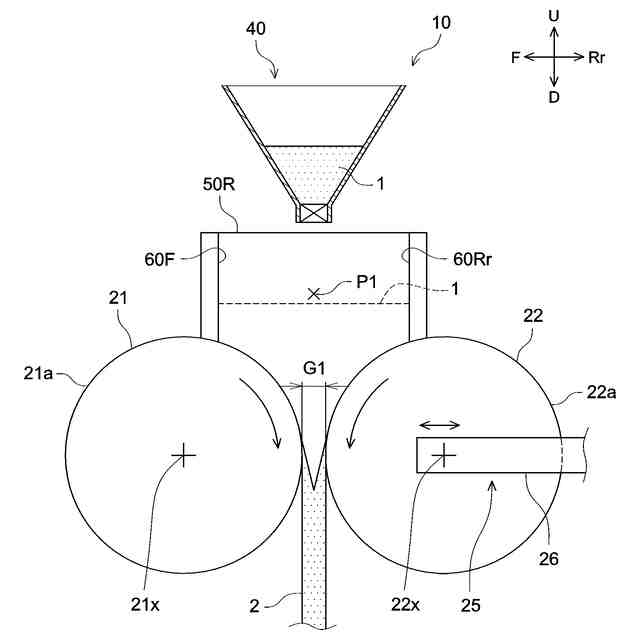
【0007】
ロールコンパクション成形装置の模式的な正面図である。
ロールコンパクション成形装置の模式的な側面図である。
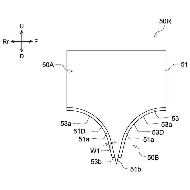
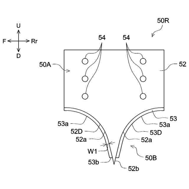
右セキ板の左側面図である。
右セキ板の右側面図である。
右セキ板の正面図である。
【発明を実施するための形態】
【0008】
以下、本開示における実施形態の1つについて、図面を参照しつつ詳細に説明する。なお、以下の図面においては、同じ作用を奏する部材・部位には同じ符号を付して説明している。また、各図における寸法関係(長さ、幅、厚み等)は実際の寸法関係を反映するものではない。上、下、左、右、前、後の向きは、図中、U、D、L、R、F、Rrの矢印でそれぞれ表されている。ここで、上、下、左、右、前、後の向きは、説明の便宜上、定められているに過ぎず、特に言及されない限りにおいて本願発明を限定しない。
【0009】
[ロールコンパクション成形装置の構成]
図1は、ロールコンパクション成形装置(以下、単に成形装置と呼ぶ)10の模式的な正面図である。図2は、成形装置10の模式的な側面図である。ただし、図1では、前方側の成形ロール21および前壁60F(いずれも後述)を取り外した状態を図示している。成形装置10は、粉末状の材料1を圧縮してシート状に成形する装置である。ここでは、材料1は、セラミック粉末と、バインダと、を含んでいる。バインダは、樹脂からなっている。本実施形態では、材料1は、成形後に焼成され、セラミックの多孔質体を形成する。材料1は、空隙を形成する造孔材をさらに含んでいる。ただし、材料1の成分は特に限定されない。
【0010】
図1および図2に示すように、成形装置10は、一対の成形ロール21,22と、一対の成形ロール21,22のギャップ変更機構25と、回転装置30と、材料の供給装置40と、一対のセキ板50L,50Rと、前壁60Fおよび後壁60Rrと、押圧機構70と、を備えている。一対の成形ロール21,22は、それぞれ、円柱状に構成されている。一対の成形ロール21,22は、それぞれの外周面21a,22aで材料1を圧縮し、材料1をシート状に成形する。一対の成形ロール21,22は、予め定められた間隔をあけて、軸線方向を揃えるように配置されている。一対の成形ロール21,22の間の隙間に材料1を供給し、一対の成形ロール21,22を回転させることにより、材料1は圧縮され、一対の成形ロール21,22の間の間隔に対応した厚みを有するシート状に成形される。
(【0011】以降は省略されています)
この特許をJ-PlatPat(特許庁公式サイト)で参照する
関連特許
ノリタケ株式会社
加熱炉
1か月前
ノリタケ株式会社
冷却炉
1か月前
ノリタケ株式会社
洗浄装置
1か月前
ノリタケ株式会社
焼成用治具
1か月前
ノリタケ株式会社
焼成用治具
1か月前
ノリタケ株式会社
焼成用治具
1か月前
ノリタケ株式会社
担体構造体
1か月前
ノリタケ株式会社
棒材切断機
1か月前
ノリタケ株式会社
研磨パッド
1か月前
ノリタケ株式会社
熱処理容器
1か月前
ノリタケ株式会社
熱伝導シート
1か月前
ノリタケ株式会社
超砥粒ホイール
1か月前
ノリタケ株式会社
導電性ペースト
1か月前
ノリタケ株式会社
焼成冷却システム
1か月前
ノリタケ株式会社
静電容量タッチパネル
1か月前
ノリタケ株式会社
封止用グリーンシート
1か月前
ノリタケ株式会社
静電容量タッチパネル
1か月前
ノリタケ株式会社
砥材及びその製造方法
1か月前
ノリタケ株式会社
触媒材料およびその利用
1か月前
ノリタケ株式会社
電気化学セル用ペースト
1か月前
ノリタケ株式会社
触媒材料およびその利用
1か月前
ノリタケ株式会社
触媒材料およびその利用
1か月前
ノリタケ株式会社
焼成用治具およびフレーム
1か月前
ノリタケ株式会社
ガラス接合材及びその利用
1か月前
ノリタケ株式会社
研磨パッド粗材の加工装置
1か月前
ノリタケ株式会社
ガラス接合材及びその利用
1か月前
ノリタケ株式会社
平面研削用レジンボンド砥石
1か月前
ノリタケ株式会社
ロータリーキルン用の炉心管
1か月前
ノリタケ株式会社
電動式コンクリートカッター
18日前
ノリタケ株式会社
ガラス接合材およびその利用
1か月前
ノリタケ株式会社
組立体の製造方法および組立体
1か月前
ノリタケ株式会社
ロールコンパクション成形装置
1か月前
ノリタケ株式会社
ロールコンパクション成形装置
1か月前
ノリタケ株式会社
研磨パッド及びウェハ研磨方法
1か月前
ノリタケ株式会社
研磨パッド及びウェハ研磨方法
1か月前
ノリタケ株式会社
自動計量装置および自動計量方法
1か月前
続きを見る
他の特許を見る