TOP
|
特許
|
意匠
|
商標
特許ウォッチ
Twitter
他の特許を見る
公開番号
2025154398
公報種別
公開特許公報(A)
公開日
2025-10-10
出願番号
2024057373
出願日
2024-03-29
発明の名称
棒材切断機
出願人
ノリタケ株式会社
,
株式会社ノリタケマシンテクノ
代理人
個人
,
個人
主分類
B23D
47/04 20060101AFI20251002BHJP(工作機械;他に分類されない金属加工)
要約
【課題】複数種類の棒材を1種類の当接部材によって大バリの残りを抑えつつ切断することが可能な棒材切断機を提供すること。
【解決手段】爪板68は複数種類の棒材Mのいずれに対しても棒材Mのうち最後に切断される最終切断箇所Pの近傍に接触する。このため、丸鋸20が棒材Mを傾き方向Cの上から下へ抜けるときに丸鋸20から大バリに前進力が作用することが防止される。従って、丸鋸20が棒材Mを抜けるときに大バリBが反転し難くなるので、複数種類の棒材Mを1種類の爪板68によって大バリの残りを抑えつつ切断することが可能となる。
【選択図】図4
特許請求の範囲
【請求項1】
軸心を中心に回転操作される丸鋸を備え、棒材をその長手方向へ送りつつ前記丸鋸によって切断する棒材切断機において、
前記長手方向に対して直交する横方向および前記横方向に対して直交する縦方向のそれぞれに対して傾く傾き方向へ前記丸鋸を移動操作するものであって、前記丸鋸の回転状態で前記丸鋸を前記棒材に向けて前記傾き方向へ移動操作することによって前記棒材を切断する鋸操作機構と、
前記棒材の表面に前記横方向から対向し、前記丸鋸が進入可能な隙間を介して前記長手方向に互いに対向するように配置された一対の固定クランプ部材と、
前記一対の固定クランプ部材に前記棒材を挟んで前記横方向からそれぞれ対向するものであって、前記丸鋸が進入可能な隙間を介して前記長手方向に互いに対向するように配置された一対の可動クランプ部材と、
前記棒材の切断時に前記一対の可動クランプ部材を前記横方向へ移動操作することによって前記棒材を前記一対の固定クランプ部材および前記一対の可動クランプ部材の間で挟持する挟持アクチュエーターと、
前記一対の可動クランプ部材の間の隙間内に設けられた当接部材と、
前記棒材が切断される場合に前記当接部材を前記棒材に向けて前記横方向へ移動操作する当接アクチュエーターと、を備え、
前記当接部材は、前記丸鋸によって最後に切断される最終切断箇所が異なる複数種類のそれぞれの前記棒材に対して前記最終切断箇所の近傍に当接するものであることを特徴とする棒材切断機。
続きを表示(約 640 文字)
【請求項2】
前記複数種類のそれぞれの前記棒材は、前記横方向の幅寸法が互いに異なるものであり、
前記挟持アクチュエーターは、前記横方向へ進退可能なピストンロッドを有するシリンダからなり、
前記当接アクチュエーターは、前記ピストンロッドに固定されていることを特徴とする請求項1に記載の棒材切断機。
【請求項3】
前記当接部材は、前記丸鋸が進入可能な隙間を介して前記長手方向に互いに対向するように配置された一対の当接板からなることを特徴とする請求項1に記載の棒材切断機。
【請求項4】
前記各当接板は、前記複数種類のそれぞれの前記棒材に対して前記最終切断箇所より前記縦方向の下に位置する延設部を有していることを特徴とする請求項3に記載の棒材切断機。
【請求項5】
前記複数種類のそれぞれの前記棒材は、外径寸法が互いに異なる断面円形状のものであり、
前記各当接板は、前記各当接板のうち前記縦方向の下部から前記複数種類のそれぞれの前記棒材に対して前記最終切断箇所の近傍へ向うことに応じて前記複数種類のそれぞれの前記棒材から前記横方向へ遠ざかる傾き部を含むものであって前記複数種類のそれぞれの前記棒材の前記最終切断箇所の近傍に当接する当接面を有していることを特徴とする請求項3に記載の棒材切断機。
【請求項6】
前記各当接面は、傾斜状の平面であることを特徴とする請求項5に記載の棒材切断機。
発明の詳細な説明
【技術分野】
【0001】
本発明は棒材をその長手方向へ送りながら丸鋸によって切断する棒材切断機に関する。
続きを表示(約 2,400 文字)
【背景技術】
【0002】
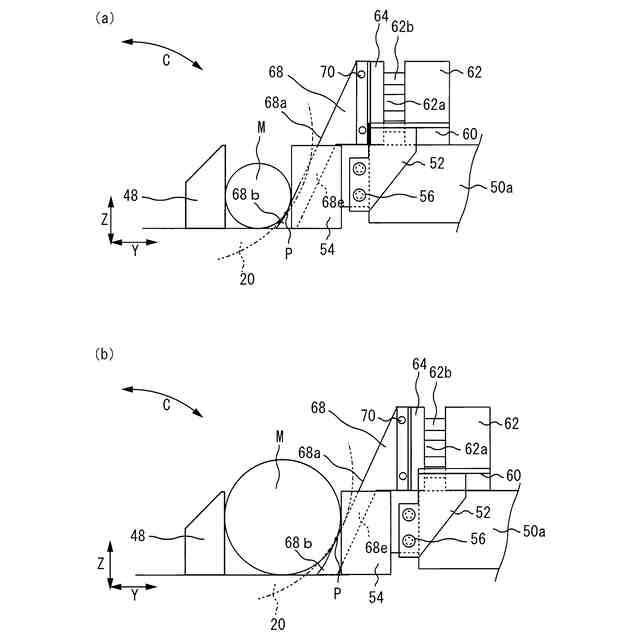
上記棒材切断機には、図6(a)に示すように、一対の固定クランプ部材110と一対の可動クランプ部材120と丸鋸130を備えたものがある。丸鋸130は図6(b)の傾き方向Cへ移動操作されるものである。この傾き方向Cは棒材Mの長手方向Xに対して直交する横方向Yおよび横方向Yに対して直交する縦方向Zのそれぞれに対して傾く方向であり、棒材Mは丸鋸130の回転状態で丸鋸130が棒材Mに向けて傾き方向Cへ移動操作されることによって切断される。一対の固定クランプ部材110および一対の可動クランプ部材120のそれぞれは、図6(a)に示すように、棒材Mの表面に横方向Yから対向するものであり、丸鋸130が進入可能な隙間Sを介して長手方向Xに互いに対向配置されている。一対の可動クランプ部材120は挟持アクチュエーター(図示せず)に連結されている。この挟持アクチュエーターは棒材Mの切断時に一対の可動クランプ部材120を横方向Yへ移動操作することによって棒材Mを一対の固定クランプ部材110および一対の可動クランプ部材120の間で挟持する。
【0003】
上記棒材切断機の場合には、図6(b)に示すように、棒材Mの切断時に大バリBが生じる。この大バリBとは棒材Mの切断時に鋸刃が接触しても切粉にならず棒材Mの外表面が皮状にめくれたものであり、棒材Mの丸鋸130による最終切断箇所Pを中心に縦方向Zに生じる。この大バリBは丸鋸130による棒材Mの切削が進行することに応じて縦方向Zの上下のそれぞれにおいて最終切断箇所Pに向って成長する。この大バリBは丸鋸130が棒材Mのうち最後に切断される最終切断箇所Pで傾き方向Cの上から下へ抜けるときに丸鋸130の前進力によって反転し、棒材Mから切り落とされることなく棒材Mに残ることがある。この大バリBが棒材Mに残った場合には切断された棒材Mを鍛造等することによって製品化する次工程で製品不良が発生する虞がある。
【0004】
従来では、図6(a)に二点鎖線で示すように、一対の可動クランプ部材120の間の隙間S内に当接部材140を設けることによって大バリBが棒材Mに残ることを防止していた。この当接部材140は一対の当接板140aからなるものであり、図7(a)に示すように、各当接板140aには棒材Mの曲率に一致する円弧面140bが形成されている。これら各当接板140aは棒材Mの最終切断箇所Pに当接するものであり、丸鋸130が棒材Mから抜けるときに大バリBが反転することを防ぎ、大バリBが棒材Mに残ることを防止するものである。
【先行技術文献】
【特許文献】
【0005】
特許第7319446号公報
【発明の概要】
【発明が解決しようとする課題】
【0006】
しかしながら、上記従来構成では、図7に示すように、棒材Mとして小径なものが切断される場合(a参照)および大径なものが切断される場合(b参照)のそれぞれに対応して棒材Mの曲率に一致する円弧面140bを有する当接部材140を用意し、棒材Mの種類が変更される毎に当接部材140を交換する必要があった。
【0007】
本発明は以上の事情を背景として為されたものであり、その目的は、複数種類の棒材を1種類の当接部材によって棒材に大バリが残ることを防止しつつ切断することが可能な棒材切断機を提供することにある。
【課題を解決するための手段】
【0008】
第1の発明の棒材切断機の要旨とするところは、(a)軸心を中心に回転操作される丸鋸を備え、棒材をその長手方向へ送りつつ前記丸鋸によって切断する棒材切断機において、(b)前記長手方向に対して直交する横方向および前記横方向に対して直交する縦方向のそれぞれに対して傾く傾き方向へ前記丸鋸を移動操作するものであって前記丸鋸の回転状態で前記丸鋸を前記棒材に向けて前記傾き方向へ移動操作することによって前記棒材を切断する鋸操作機構と、(c)前記棒材の表面に前記横方向から対向し前記丸鋸が進入可能な隙間を介して前記長手方向に互いに対向するように配置された一対の固定クランプ部材と、(d)前記一対の固定クランプ部材に前記棒材を挟んで前記横方向からそれぞれ対向するものであって前記丸鋸が進入可能な隙間を介して前記長手方向に互いに対向するように配置された一対の可動クランプ部材と、(e)前記棒材の切断時に前記一対の可動クランプ部材を前記横方向へ移動操作することによって前記棒材を前記一対の固定クランプ部材および前記一対の可動クランプ部材の間で挟持する挟持アクチュエーターと、(f)前記一対の可動クランプ部材の間の隙間内に設けられた当接部材と、(g)前記棒材が切断される場合に前記当接部材を前記棒材に向けて前記横方向へ移動操作する当接アクチュエーターとを備え、(h)前記当接部材は前記丸鋸によって最後に切断される最終切断箇所が異なる複数種類のそれぞれの前記棒材に対して前記最終切断箇所の近傍に当接するものであることにある。
【0009】
第2の発明の棒材切断機の要旨とするところは、第1の発明において、(a)前記複数種類のそれぞれの前記棒材は前記横方向の幅寸法が互いに異なるものであり、(b)前記挟持アクチュエーターは前記横方向へ進退可能なピストンロッドを有するシリンダからなり、(c)前記当接アクチュエーターは前記ピストンロッドに固定されていることにある。
【0010】
第3の発明の棒材切断機の要旨とするところは、第1の発明において、前記当接部材は前記丸鋸が進入可能な隙間を介して前記長手方向に互いに対向するように配置された一対の当接板からなることにある。
(【0011】以降は省略されています)
この特許をJ-PlatPat(特許庁公式サイト)で参照する
関連特許
ノリタケ株式会社
焼成炉
1か月前
ノリタケ株式会社
焼成炉
1か月前
ノリタケ株式会社
焼成炉
1か月前
ノリタケ株式会社
加熱炉
1か月前
ノリタケ株式会社
冷却炉
1か月前
ノリタケ株式会社
洗浄装置
1か月前
ノリタケ株式会社
焼成用治具
1か月前
ノリタケ株式会社
金ペースト
2か月前
ノリタケ株式会社
焼成用治具
1か月前
ノリタケ株式会社
熱処理容器
1か月前
ノリタケ株式会社
焼成用治具
1か月前
ノリタケ株式会社
棒材切断機
1か月前
ノリタケ株式会社
研磨パッド
1か月前
ノリタケ株式会社
担体構造体
1か月前
ノリタケ株式会社
熱伝導シート
1か月前
ノリタケ株式会社
超砥粒ホイール
1か月前
ノリタケ株式会社
導電性ペースト
1か月前
ノリタケ株式会社
ローラ式搬送装置
1か月前
ノリタケ株式会社
ローラ式搬送装置
1か月前
ノリタケ株式会社
焼成冷却システム
1か月前
ノリタケ株式会社
静電容量タッチパネル
1か月前
ノリタケ株式会社
静電容量タッチパネル
1か月前
ノリタケ株式会社
封止用グリーンシート
1か月前
ノリタケ株式会社
砥材及びその製造方法
1か月前
ノリタケ株式会社
砥材及びその製造方法
1か月前
ノリタケ株式会社
触媒材料およびその利用
1か月前
ノリタケ株式会社
触媒材料およびその利用
1か月前
ノリタケ株式会社
触媒材料およびその利用
1か月前
ノリタケ株式会社
電気化学セル用ペースト
1か月前
ノリタケ株式会社
焼成用治具およびフレーム
1か月前
ノリタケ株式会社
搬送装置および熱処理装置
1か月前
ノリタケ株式会社
搬送装置および熱処理装置
1か月前
ノリタケ株式会社
ガラス接合材及びその利用
1か月前
ノリタケ株式会社
ガラス接合材及びその利用
1か月前
ノリタケ株式会社
研磨パッド粗材の加工装置
1か月前
ノリタケ株式会社
電動式コンクリートカッター
17日前
続きを見る
他の特許を見る