TOP
|
特許
|
意匠
|
商標
特許ウォッチ
Twitter
他の特許を見る
公開番号
2025151240
公報種別
公開特許公報(A)
公開日
2025-10-09
出願番号
2024052570
出願日
2024-03-27
発明の名称
静電容量タッチパネル
出願人
ノリタケ株式会社
,
ノリタケ伊勢電子株式会社
代理人
個人
,
個人
,
個人
主分類
G06F
3/041 20060101AFI20251002BHJP(計算;計数)
要約
【課題】格子パターンで形成されたセンサー電極を有するタッチパネルにおいて、格子内での気泡の発生を抑制しつつ、断線による感度低下を防止できる静電容量タッチパネルを提供する。
【解決手段】静電容量タッチパネル1は、X軸方向にX軸格子を複数並べたX軸電極と、X軸方向と交差するY軸方向にY軸格子y1、y2を複数並べたY軸電極とが、絶縁層を介して積層され、静電容量タッチパネルのタッチ面から見た平面視においてマトリックス状に配置された静電容量タッチパネルであって、X軸格子およびY軸格子y1、y2は複数の微細格子で形成され、各微細格子には、格子辺のうち少なくとも1つの辺の一部に隙間14が設けられており、X軸格子およびY軸格子y1、y2において、各微細格子の格子辺をたどって形成される隣接格子との導通経路が2以上形成される。
【選択図】図5
特許請求の範囲
【請求項1】
X軸方向にX軸格子を複数並べたX軸電極と、前記X軸方向と交差するY軸方向にY軸格子を複数並べたY軸電極とが、絶縁層を介して積層され、静電容量タッチパネルのタッチ面から見た平面視においてマトリックス状に配置された静電容量タッチパネルであって、
前記X軸格子および前記Y軸格子は複数の微細格子で形成され、前記各微細格子には、格子辺のうち少なくとも1つの辺の一部に隙間が設けられており、前記X軸格子および前記Y軸格子において、前記各微細格子の格子辺をたどって形成される隣接格子との導通経路が2以上形成されることを特徴とする静電容量タッチパネル。
続きを表示(約 670 文字)
【請求項2】
前記X軸格子および前記Y軸格子における前記導通経路として、外郭の一部を構成する2辺の枠線からなる経路と、内部に位置する前記微細格子の格子辺で構成される内部配線を経由する経路とが形成されることを特徴とする請求項1記載の静電容量タッチパネル。
【請求項3】
前記内部配線の両側に位置する微細格子のそれぞれには前記隙間が設けられていることを特徴とする請求項2記載の静電容量タッチパネル。
【請求項4】
前記X軸格子および前記Y軸格子は、前記微細格子として前記隙間が2箇所に設けられた微細格子を有することを特徴とする請求項1または請求項2記載の静電容量タッチパネル。
【請求項5】
前記X軸格子および前記Y軸格子において、外郭を構成する4辺の枠線のうち、少なくとも1辺の枠線には前記隙間が設けられていることを特徴とする請求項1または請求項2記載の静電容量タッチパネル。
【請求項6】
前記X軸格子および前記Y軸格子における前記導通経路として、外郭の一部を構成する2辺の枠線からなる経路と、内部に位置する前記微細格子の格子辺で構成される内部配線を経由する経路とが形成され、
前記X軸格子および前記Y軸格子は、前記微細格子として前記隙間が2箇所に設けられた微細格子を有し、
前記X軸格子および前記Y軸格子において、外郭を構成する4辺の枠線のうち、少なくとも1辺の枠線には前記隙間が設けられていることを特徴とする請求項1記載の静電容量タッチパネル。
発明の詳細な説明
【技術分野】
【0001】
本発明は、タッチ面(XY平面)の任意の位置にユーザーの指などが接近したことを静電容量の変化により検出する静電容量タッチパネルに関し、特にガラス基板にセンサー電極を設けた静電容量タッチパネルに関する。
続きを表示(約 1,800 文字)
【背景技術】
【0002】
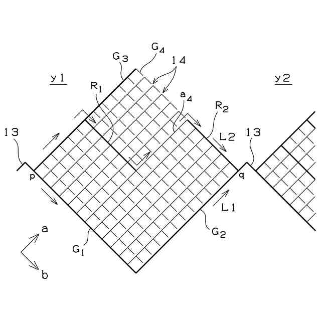
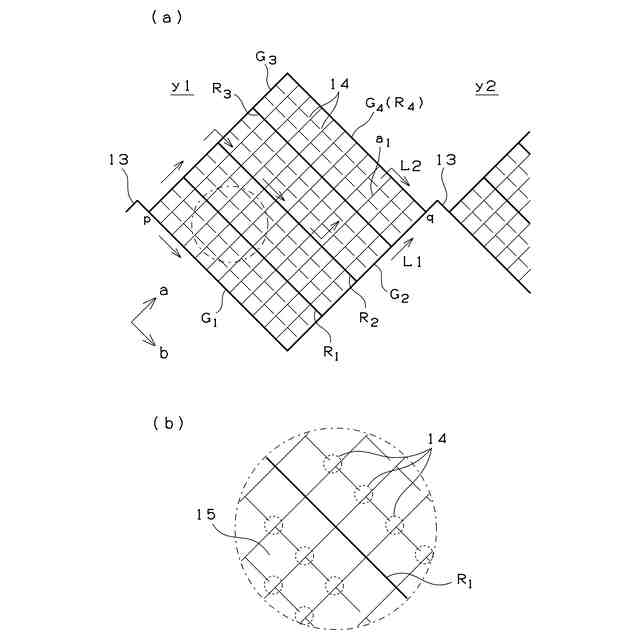
家電機器、AV機器、PC/OA機器、産業機械、その他の電子デバイスにおいて、各機器への入力手段の1つとして投影型静電容量方式のタッチパネルが使用されている。投影型静電容量方式タッチパネルは、X軸方向とY軸方向にそれぞれ所定パターンで形成された各センサー電極によって静電容量の変化を読み取り、タッチポジションを検出するデバイスである。
【0003】
例えばセンサー電極のパターンとしては、ダイヤモンド形の格子を縦(Y)横(X)に並べた形状のパターン(以下、ダイヤモンドパターンとも言う。)が知られている(特許文献1参照)。このタッチパネルでは、タッチ面から見た平面視において、X軸方向に配列した格子(X軸格子)とY軸方向に配列した格子(Y軸格子)とがマトリックス状に配置されている。X軸格子とY軸格子はそれぞれ、より微細な格子からなる金属薄膜で形成されている。このタッチパネルでは、X軸電極とY軸電極の交点を電気的に絶縁できるよう、透明の絶縁層を介してX軸電極とY軸電極が積層された構造になっている。
【0004】
上記のようなX軸電極、絶縁層、Y軸電極という積層構造を形成する方法としては、(1)1枚のガラス基板にX軸電極とY軸電極の間に透明な液状の絶縁材を塗布して形成する方法や、(2)X軸電極とY軸電極を別々のガラス基板にそれぞれ形成し、光学粘着フィルム(OCA)や光学樹脂(OCR)などの絶縁材で貼り合わせて形成する方法がある。
【先行技術文献】
【特許文献】
【0005】
国際公開第2015/137477号
【発明の概要】
【発明が解決しようとする課題】
【0006】
ところで、上記(1)、(2)のいずれの方法においても、絶縁層を形成する際にX軸格子およびY軸格子を構成する微細格子が閉塞していると金属薄膜の凹凸(段差)によって空気の抜け道がなくなり、微細格子の内部に気泡を巻き込むおそれがある。そして、この気泡によってタッチパネルの不具合や動作不良などが生じる場合がある。一方で、タッチパネルとしては、配線の断線などによる感度低下を防ぐことは求められている。
【0007】
本発明はこのような事情に鑑みてなされたものであり、格子パターンで形成されたセンサー電極を有するタッチパネルにおいて、格子内での気泡の発生を抑制しつつ、断線による感度低下を防止できる静電容量タッチパネルを提供することを目的とする。
【課題を解決するための手段】
【0008】
本発明の静電容量タッチパネルは、X軸方向にX軸格子を複数並べたX軸電極と、上記X軸方向と交差するY軸方向にY軸格子を複数並べたY軸電極とが、絶縁層を介して積層され、静電容量タッチパネルのタッチ面から見た平面視においてマトリックス状に配置された静電容量タッチパネルであって、上記X軸格子および上記Y軸格子は複数の微細格子で形成され、上記各微細格子には、格子辺のうち少なくとも1つの辺の一部に隙間が設けられており、上記X軸格子および上記Y軸格子において、上記各微細格子の格子辺をたどって形成される隣接格子との導通経路が2以上形成されることを特徴とする。
【0009】
本発明において、X軸格子およびY軸格子における、隣接格子との導通経路とは、例えば、任意のX軸格子において、X軸方向で隣接する一方のX軸格子から他方のX軸格子までを導通させる経路をいい、より具体的には、任意のX軸格子において、一方のX軸格子との接続部の接続点から他方のX軸格子との接続部の接続点までを導通させる経路をいう。なお、Y軸格子についても同様である。また、導通経路が2以上形成されるとは、X軸格子およびY軸格子における、隣接格子との導通経路として、配線が互いに重複しない経路(交点を除く)が2以上確保されることをいう。
【0010】
上記X軸格子および上記Y軸格子における上記導通経路として、外郭の一部を構成する2辺の枠線からなる経路と、内部に位置する上記微細格子の格子辺で構成される内部配線を経由する経路とが形成されることを特徴とする。
(【0011】以降は省略されています)
この特許をJ-PlatPat(特許庁公式サイト)で参照する
関連特許
ノリタケ株式会社
洗浄装置
1か月前
ノリタケ株式会社
棒材切断機
1か月前
ノリタケ株式会社
熱処理容器
1か月前
ノリタケ株式会社
研磨パッド
1か月前
ノリタケ株式会社
熱伝導シート
1か月前
ノリタケ株式会社
超砥粒ホイール
1か月前
ノリタケ株式会社
導電性ペースト
1か月前
ノリタケ株式会社
焼成冷却システム
1か月前
ノリタケ株式会社
封止用グリーンシート
1か月前
ノリタケ株式会社
ガラス接合材及びその利用
1か月前
ノリタケ株式会社
ガラス接合材及びその利用
1か月前
ノリタケ株式会社
研磨パッド粗材の加工装置
1か月前
ノリタケ株式会社
ガラス接合材およびその利用
1か月前
ノリタケ株式会社
平面研削用レジンボンド砥石
1か月前
ノリタケ株式会社
電動式コンクリートカッター
13日前
ノリタケ株式会社
組立体の製造方法および組立体
1か月前
ノリタケ株式会社
研磨パッド及びウェハ研磨方法
1か月前
ノリタケ株式会社
ロールコンパクション成形装置
1か月前
ノリタケ株式会社
ロールコンパクション成形装置
1か月前
ノリタケ株式会社
研磨パッド及びウェハ研磨方法
1か月前
ノリタケ株式会社
半導体基板の研磨液及び研磨方法
1か月前
ノリタケ株式会社
自動計量装置および自動計量方法
1か月前
ノリタケ株式会社
スラリーアイス洗浄装置用の管状部品
1か月前
ノリタケ株式会社
研磨パッド及びウェハのノッチ研磨方法
1か月前
ノリタケ株式会社
ウェハ研磨装置、研磨パッド及びウェハ研磨方法
1か月前
ノリタケ株式会社
燃料極の評価方法および電気化学セルの製造方法
1か月前
ノリタケ株式会社
電気化学スタックの製造方法および電気化学スタック
1か月前
ノリタケ株式会社
固体酸化物形水電解セルの酸素極およびその製造方法
1か月前
ノリタケ株式会社
スラリーアイス洗浄装置およびスラリーアイス洗浄方法
1か月前
ノリタケ株式会社
スラリーアイス洗浄装置およびスラリーアイス洗浄方法
1か月前
ノリタケ株式会社
スラリーアイス洗浄装置およびスラリーアイス洗浄方法
1か月前
ノリタケ株式会社
放熱基板用接合材、放熱基板の製造方法および放熱基板
1か月前
ノリタケ株式会社
銀粉末の評価方法、および該評価方法を含む銀粉末の製造方法
1か月前
ノリタケ株式会社
樹脂組成物、および、該樹脂組成物を用いたシートの製造方法
1か月前
ノリタケ株式会社
ロールコンパクション成形装置およびロールコンパクション成形用搬送装置
1か月前
ノリタケ株式会社
導電性組成物とこれを用いた複合体
26日前
続きを見る
他の特許を見る