TOP
|
特許
|
意匠
|
商標
特許ウォッチ
Twitter
他の特許を見る
公開番号
2025152156
公報種別
公開特許公報(A)
公開日
2025-10-09
出願番号
2024053919
出願日
2024-03-28
発明の名称
放熱基板用接合材、放熱基板の製造方法および放熱基板
出願人
ノリタケ株式会社
代理人
個人
,
個人
主分類
H01L
23/36 20060101AFI20251002BHJP(基本的電気素子)
要約
【課題】低温かつ短時間の加熱処理で高性能の放熱基板を製造できる放熱基板用接合材を提供する。
【解決手段】放熱基板1において、放熱基板用接合材は、ガラス転移点が200℃以上300℃以下の熱可塑性樹脂と、D
50
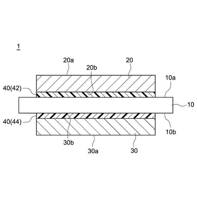
粒子径が2μm以上5μm以下であり、平均アスペクト比が1.2以上である第1粒子を少なくとも含む熱伝導材と、を含有する。そして、この接合材では、熱伝導材の総質量を100wt%としたとき、第1粒子の含有量が70wt%以上100wt%以下である。かかる構成の接合材によると、回路部材20とセラミックス部材10との界面及び放熱部材30とセラミックス部材10との界面に、低温かつ短時間の加熱処理で、接合強度と耐熱性と熱伝導性に優れた接合層40を形成することができる。
【選択図】図1
特許請求の範囲
【請求項1】
放熱基板の構成部材の接合に使用される放熱基板用接合材であって、
ガラス転移点が200℃以上300℃以下の熱可塑性樹脂と、
D
50
粒子径が2μm以上5μm以下であり、平均アスペクト比が3以上である第1粒子を少なくとも含む熱伝導材と
を含有し、
前記熱伝導材の総質量を100wt%としたとき、前記第1粒子の含有量が70wt%以上100wt%以下である、放熱基板用接合材。
続きを表示(約 900 文字)
【請求項2】
前記第1粒子のBET比表面積は、0.4m
2
/g以上1.2m
2
/g以下である、請求項1に記載の放熱基板用接合材。
【請求項3】
前記熱伝導材は、D
50
粒子径が0.01μm以上1μm以下であり、平均アスペクト比が2未満である第2粒子をさらに含む、請求項1に記載の放熱基板用接合材。
【請求項4】
前記熱伝導材の総質量を100wt%としたとき、前記第2粒子の含有量が10wt%以上30wt%以下である、請求項3に記載の放熱基板用接合材。
【請求項5】
前記第2粒子のBET比表面積は、0.3m
2
/g以上2m
2
/g以下である、請求項3に記載の放熱基板用接合材。
【請求項6】
前記熱伝導材の総質量に対する前記熱可塑性樹脂の総質量が5wt%以上15wt%以下である、請求項1に記載の放熱基板用接合材。
【請求項7】
前記熱可塑性樹脂は、ポリイミド樹脂、PES樹脂、シリコーン樹脂、ポリアミド樹脂からなる群から選択される少なくとも一種を含む、請求項1に記載の放熱基板用接合材。
【請求項8】
第1部材と第2部材とが接合された放熱基板を製造する方法であって、
前記第1部材と前記第2部材との間に、請求項1~7のいずれか一項に記載の放熱基板用接合材を塗布する塗布工程と、
前記第1部材と前記第2部材とが近接する方向に加圧しながら、前記放熱基板用接合材を加熱する接合工程と
を備えており、
前記熱可塑性樹脂のガラス転移点をX℃としたとき、前記接合工程における加熱温度がX±50℃である、放熱基板の製造方法。
【請求項9】
第1部材と、
前記第1部材の一方の表面と接合された第2部材と
を備え、
前記第1部材と前記第2部材との界面に、請求項1~7のいずれか一項に記載の放熱基板用接合材を熱硬化させた接合層が形成されている、放熱基板。
発明の詳細な説明
【技術分野】
【0001】
ここに開示される技術は、放熱基板用接合材、放熱基板の製造方法および放熱基板に関する。
続きを表示(約 1,900 文字)
【背景技術】
【0002】
近年、パワーデバイスの更なる高性能化への要求が高まっている。かかる要求に対して、SiCパワー半導体などの発熱量の多い半導体が使用されるようになってきている。このような発熱量の多い半導体を使用する場合には、熱対策が重要となるため、放熱性の高い基板が使用されることがある。この放熱基板は、例えば、金属製の放熱部材やセラミックス部材などが積層された積層構造を有している。この放熱基板では、回路側で生じた熱が、セラミックス部材を介して放熱部材側に伝達する。これによって、回路側の昇温を抑制できる。また、放熱基板を構成する各部材の接合には、放熱基板用接合材(以下、単に「接合材」ともいう。)が用いられる。この放熱基板用接合材には、接合強度と耐熱性と熱伝導性とが要求される。
【0003】
放熱基板用接合材の一例として、ろう材が挙げられる。ろう材は、金属粉末と有機成分(バインダ樹脂、有機溶剤など)とを含むペーストである。放熱基板の製造では、接合対象の2つの部材の間にろう材を塗布する。そして、この積層体を高温で焼成すると、ろう材中の有機成分が焼失すると共に金属粉末が溶融する。そして、溶融金属が凝固することによって接合対象が接合される。特許文献1には、ろう材の一例が開示されている。
【先行技術文献】
【特許文献】
【0004】
特許第5605423号公報
【発明の概要】
【発明が解決しようとする課題】
【0005】
しかしながら、従来の製造方法では、ろう材内の金属粉末を充分に溶融させるために高温の焼成処理を行う必要があった。例えば、金属粉末として銀(Ag)と銅(Cu)を含むろう材を使用した場合、700℃以上の焼成処理が必要であった。また、通常の焼成処理は、バッチ炉で実施されるため、10時間以上という長い処理時間が必要であった。これに対して、環境負荷や製造コストなどの観点から、低温かつ短時間の加熱処理で高性能の放熱基板を製造できる接合材への要求が高まっている。
【0006】
ここに開示される技術は、かかる課題を解決するためになされたものであり、低温かつ短時間の加熱処理で高性能の放熱基板を製造できる放熱基板用接合材を提供することを目的とする。
【課題を解決するための手段】
【0007】
上述の課題に対して、以下の構成の放熱基板用接合材が提供される。
【0008】
ここに開示される放熱基板用接合材は、放熱基板の構成部材の接合に使用される。この接合材は、ガラス転移点が200℃以上300℃以下の熱可塑性樹脂と、D
50
粒子径が2μm以上5μm以下であり、平均アスペクト比が3以上である第1粒子を少なくとも含む熱伝導材とを含有している。そして、ここに開示される接合材では、熱伝導材の総質量を100wt%としたとき、第1粒子の含有量が70wt%以上100wt%以下である。
【0009】
本発明者らは、ろう材に代わる新規な接合材について検討を重ねた結果、放熱基板用の接合材に熱可塑性樹脂を使用することに思い至った。この熱可塑性樹脂は、ガラス転移点以上の温度で加熱すると軟化する。この状態で接合対象を挟持しながら冷却すると、熱可塑性樹脂が硬化するため接合対象を接合できる。この熱可塑性樹脂を利用した接合方法を採用すると、従来よりも低温(250℃~300℃程度)かつ短時間(10分程度)で放熱基板を製造できる。一方で、硬化後の熱可塑性樹脂は、ろう材を溶融硬化させた金属層と比べて耐熱性や熱伝導性に劣る。そこで、本発明者は、熱伝導粒子を含む粉体材料(以下、「熱伝導材」という。)と熱可塑性樹脂とを混合したものを接合材として使用することを考えた。そして、種々の実験と検討の結果、D
50
粒子径が2μm以上5μm以下の非球形粒子(第1粒子)を70wt%以上含む熱伝導材を使用すると、熱可塑性樹脂を硬化させる有機系接合材であるにも関わらず、耐熱性と熱伝導性に優れた接合層を形成できることを発見した。ここに開示される接合材は、以上の知見に基づいてなされたものであり、低温かつ短時間の加熱処理で高性能の放熱基板を製造できる。
【0010】
ここで開示される放熱基板用接合材の一態様では、第1粒子のBET比表面積は、0.4m
2
/g以上1.2m
2
/g以下である。これによって、接合層の熱伝導性をさらに向上できる。
(【0011】以降は省略されています)
この特許をJ-PlatPat(特許庁公式サイト)で参照する
関連特許
APB株式会社
蓄電セル
1か月前
東ソー株式会社
絶縁電線
1か月前
日機装株式会社
加圧装置
3日前
株式会社東芝
端子台
1か月前
マクセル株式会社
電源装置
1か月前
ローム株式会社
半導体装置
1か月前
日新イオン機器株式会社
イオン源
3日前
富士電機株式会社
電磁接触器
18日前
株式会社GSユアサ
蓄電装置
1か月前
株式会社GSユアサ
蓄電装置
1か月前
株式会社GSユアサ
蓄電装置
1か月前
三菱電機株式会社
回路遮断器
26日前
株式会社ホロン
冷陰極電子源
1か月前
株式会社GSユアサ
蓄電装置
18日前
株式会社トクミ
ケーブル
4日前
トヨタ自動車株式会社
バッテリ
1か月前
日新イオン機器株式会社
基板処理装置
1か月前
日本特殊陶業株式会社
保持装置
1か月前
個人
電源ボックス及び電子機器
3日前
株式会社東芝
電子源
3日前
トヨタ自動車株式会社
蓄電装置
10日前
トヨタ自動車株式会社
蓄電装置
1か月前
北道電設株式会社
配電具カバー
1か月前
日本特殊陶業株式会社
保持装置
1か月前
トヨタ自動車株式会社
冷却構造
1か月前
ホシデン株式会社
複合コネクタ
12日前
大電株式会社
電線又はケーブル
10日前
株式会社デンソー
電子装置
1か月前
トヨタ自動車株式会社
電池パック
1か月前
トヨタ自動車株式会社
電池パック
1か月前
ヒロセ電機株式会社
電気コネクタ
18日前
住友電装株式会社
コネクタ
1か月前
ローム株式会社
半導体装置
1か月前
矢崎総業株式会社
コネクタ
18日前
日亜化学工業株式会社
半導体レーザ素子
1か月前
ローム株式会社
半導体モジュール
19日前
続きを見る
他の特許を見る