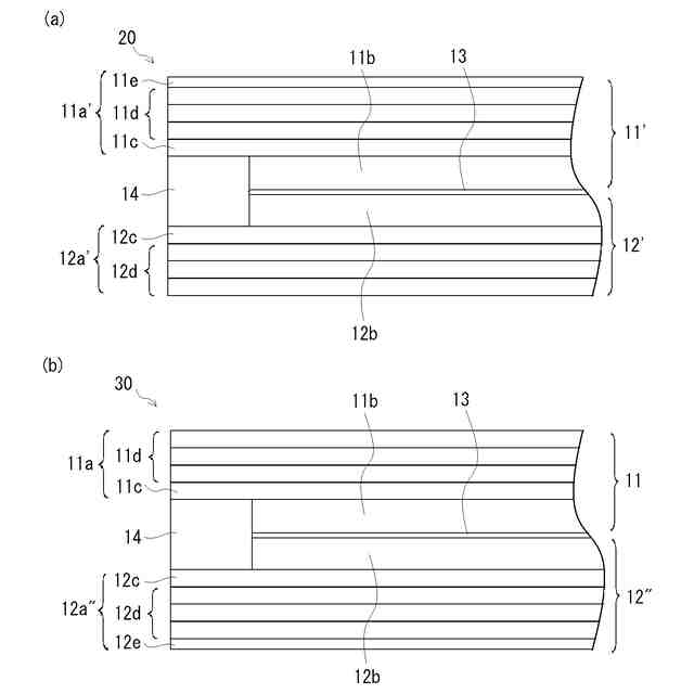
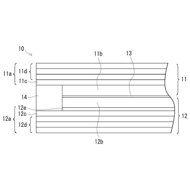
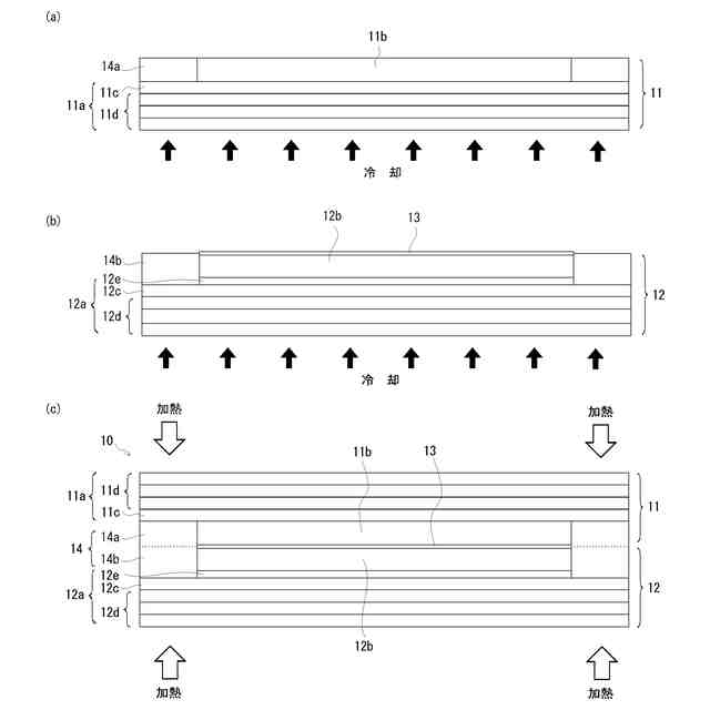
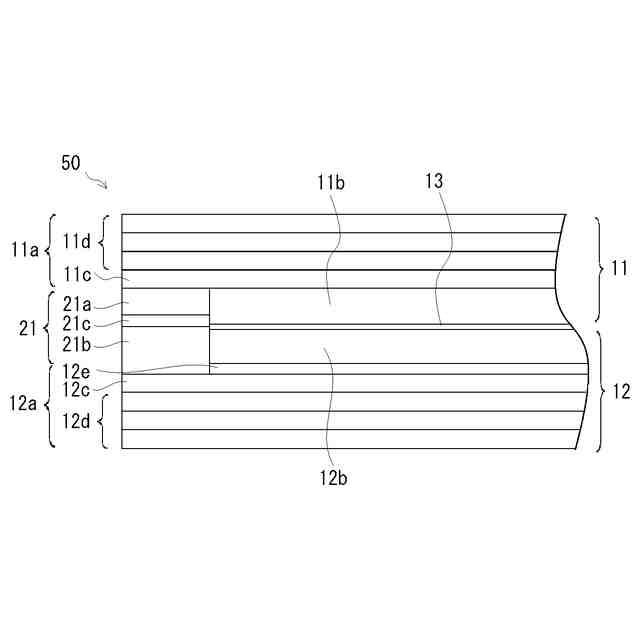
TOP
|
特許
|
意匠
|
商標
特許ウォッチ
Twitter
他の特許を見る
公開番号
2025161652
公報種別
公開特許公報(A)
公開日
2025-10-24
出願番号
2024065024
出願日
2024-04-12
発明の名称
蓄電セル
出願人
APB株式会社
代理人
主分類
H01M
10/04 20060101AFI20251017BHJP(基本的電気素子)
要約
【課題】枠部材と集電体とを溶着させる際に、集電体に対するダメージを抑制又は低減し、生産性に優れた蓄電セルを提供する。
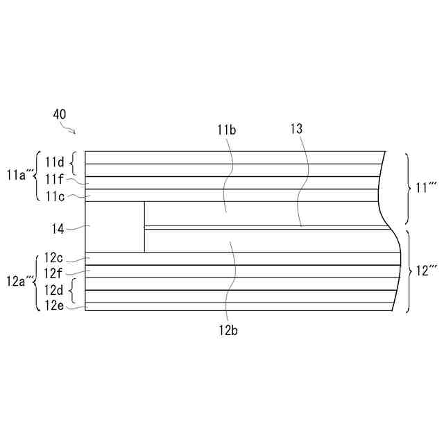
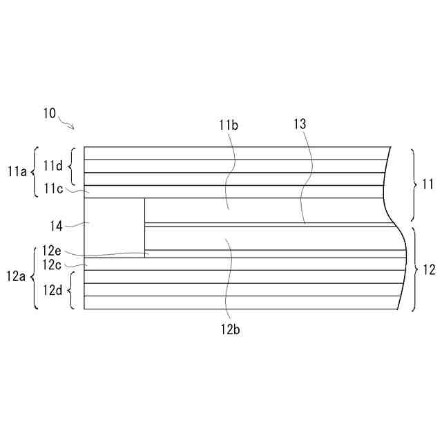
【解決手段】本発明の蓄電セル10は、相互に対向配置され、かつ、積層構造を有する一対の集電体11a・12aと、一対の集電体11a・12aの外周縁部の間に位置するように設けられた枠部材14とを少なくとも備え、一対の集電体11a・12aに於けるそれぞれの最内層11c・12cと枠部材14とは溶着しており、最内層11c・12cを構成する樹脂材料は、枠部材14の樹脂材料と同じであり、それぞれの最内層11c・12cの融点は、それ以外の層11d・12dの融点より低いことを特徴とする。
【選択図】 図1
特許請求の範囲
【請求項1】
相互に対向配置され、かつ、積層構造を有する一対の集電体と、
前記一対の集電体の外周縁部の間に位置するように設けられた枠部材と、
を少なくとも備え、
前記一対の集電体に於けるそれぞれの最内層と前記枠部材とは溶着しており、
前記最内層を構成する樹脂材料は、前記枠部材の樹脂材料と同じであり、
前記それぞれの最内層の融点は、それ以外の層の融点より低い、蓄電セル。
続きを表示(約 510 文字)
【請求項2】
相互に対向配置され、かつ、積層構造を有する一対の集電体と、
前記一対の集電体のそれぞれの外周縁部の間に設けられた枠部材と、
を少なくとも備え、
前記枠部材は、
前記一対の集電体のうち、一方の集電体に於ける最内層に溶着した第1枠部材と、
前記一対の集電体のうち、他方の集電体に於ける最内層に溶着した第2枠部材と、
前記第1枠部材及び前記第2枠部材の間に配置され、前記第1枠部材及び前記第2枠部材よりも融点が低い接合層と、
を有し、
前記一対の集電体に於けるそれぞれの最内層の融点は、それ以外の層の融点より低い、蓄電セル。
【請求項3】
前記一対の集電体に於ける一方の集電体の最外層に於いて、他方の集電体と対向する面とは反対側の面に、高導電層が設けられている、請求項1又は2に記載の蓄電セル。
【請求項4】
前記一対の集電体に於ける一方の集電体の外層と最内層との間には、前記外層を構成する樹脂材料と前記最内層を構成する樹脂材料とを含み構成される中間層が設けられている、請求項1又は2に記載の蓄電セル。
発明の詳細な説明
【技術分野】
【0001】
本発明は、蓄電セルに関する。
続きを表示(約 1,600 文字)
【背景技術】
【0002】
従来の蓄電セルとしては、例えば、特許文献1に記載されるようなものが知られている。特許文献1には、一対の集電体と、一対の集電体のうち一方の集電体に設けられた正極活物質層と、他方の集電体に設けられた負極活物質層と、正極活物質層と負極活物質層との間に介挿されたセパレータと、一対の集電体のそれぞれの外周縁部の間に配置され、正極活物質層及び負極活物質層を囲むスペーサ(枠部材)とを備えた蓄電セルが開示されている。
【0003】
ここで、従来の蓄電セルに於いては、枠部材として、例えば、エチレン酢酸ビニル共重合体等からなるものが用いられている。また、一対の集電体として、アルミニウム等の金属材料や、ポリプロピレン樹脂等の樹脂材料と導電性フィラーとにより構成される導電性樹脂層が積層されたものが用いられている。
【先行技術文献】
【特許文献】
【0004】
特開2023-47702号公報
【発明の概要】
【発明が解決しようとする課題】
【0005】
しかしながら、従来の蓄電セルでは、枠部材と集電体との接着性が低いため、両者を溶着により接合するに際して、長い溶着時間を要するにもかかわらず十分な接着強度が得られず、また長時間の溶着処理によって集電体へのダメージが生じる問題があった。
【0006】
本発明は、前記問題点に鑑みなされたものであり、その目的は、枠部材と集電体とを溶着させる際に、集電体に対するダメージを抑制又は低減し、枠部材と集電体との接着強度を向上させ、生産性に優れた蓄電セルを提供することにある。
【課題を解決するための手段】
【0007】
本発明の蓄電セルは、前記の課題を解決するために、相互に対向配置され、かつ、積層構造を有する一対の集電体と、前記一対の集電体の外周縁部の間に位置するように設けられた枠部材と、を少なくとも備え、前記一対の集電体に於けるそれぞれの最内層と前記枠部材とは溶着しており、前記最内層の樹脂材料は、前記枠部材の樹脂材料と同じであり、前記それぞれの最内層の融点は、それ以外の層の融点より低いことを特徴とする。尚、本明細書に於いて、「前記最内層の樹脂材料は、前記枠部材の樹脂材料と同じ」であるとは、最内層の樹脂材料と枠部材の樹脂材料とが同一である場合の他、例えば、密度等が異なっていても、最内層及び枠部材を構成する樹脂に於ける最小単位としてのモノマーが同一である場合を含む意味である。また、例えば、任意の樹脂材料に於いて、ホモポリマー、ランダムコポリマー及びブロックコポリマーが存在する場合には、これらは同一の樹脂材料という意味である。
【0008】
本発明の他の蓄電セルは、前記の課題を解決するために、相互に対向配置され、かつ、積層構造を有する一対の集電体と、前記一対の集電体のそれぞれの外周縁部の間に設けられた枠部材と、を少なくとも備え、前記枠部材は、前記一対の集電体のうち、一方の集電体に於ける最内層に溶着した第1枠部材と、前記一対の集電体のうち、他方の集電体に於ける最内層に溶着した第2枠部材と、前記第1枠部材及び前記第2枠部材の間に配置され、前記第1枠部材及び前記第2枠部材よりも融点が低い接合層と、を有し、前記一対の集電体に於けるそれぞれの最内層の融点は、それ以外の層の融点より低いことを特徴とする。
【0009】
前記の構成に於いては、前記一対の集電体に於ける一方の集電体の最外層に於いて、他方の集電体と対向する面とは反対側の面に、高導電層が設けられていてもよい。
【0010】
また前記の構成に於いて、前記一対の集電体に於ける一方の集電体の外層と最内層との間には、前記外層を構成する樹脂材料と前記最内層を構成する樹脂材料とを含み構成される中間層が設けられていてもよい。
【発明の効果】
(【0011】以降は省略されています)
この特許をJ-PlatPat(特許庁公式サイト)で参照する
関連特許
APB株式会社
蓄電セル
1か月前
APB株式会社
電池用電極製造装置及び電池用電極製造方法
1か月前
APB株式会社
蓄電セル
1か月前
東ソー株式会社
絶縁電線
1か月前
日機装株式会社
加圧装置
2日前
日新イオン機器株式会社
イオン源
2日前
株式会社東芝
端子台
1か月前
ローム株式会社
半導体装置
1か月前
マクセル株式会社
電源装置
1か月前
株式会社GSユアサ
蓄電装置
1か月前
株式会社GSユアサ
蓄電装置
17日前
三菱電機株式会社
回路遮断器
25日前
富士電機株式会社
電磁接触器
17日前
株式会社GSユアサ
蓄電装置
1か月前
株式会社GSユアサ
蓄電装置
1か月前
トヨタ自動車株式会社
冷却構造
1か月前
株式会社東芝
電子源
2日前
トヨタ自動車株式会社
蓄電装置
9日前
個人
電源ボックス及び電子機器
2日前
大電株式会社
電線又はケーブル
9日前
日本特殊陶業株式会社
保持装置
1か月前
ホシデン株式会社
複合コネクタ
11日前
トヨタ自動車株式会社
蓄電装置
1か月前
日新イオン機器株式会社
基板処理装置
1か月前
トヨタ自動車株式会社
バッテリ
1か月前
日本特殊陶業株式会社
保持装置
1か月前
北道電設株式会社
配電具カバー
1か月前
株式会社トクミ
ケーブル
3日前
株式会社デンソー
電子装置
1か月前
日亜化学工業株式会社
半導体レーザ素子
1か月前
住友電装株式会社
コネクタ
1か月前
ヒロセ電機株式会社
電気コネクタ
17日前
株式会社レゾナック
冷却器
25日前
ローム株式会社
半導体モジュール
18日前
矢崎総業株式会社
コネクタ
17日前
トヨタ自動車株式会社
密閉型電池
1か月前
続きを見る
他の特許を見る