TOP
|
特許
|
意匠
|
商標
特許ウォッチ
Twitter
他の特許を見る
10個以上の画像は省略されています。
公開番号
2025172357
公報種別
公開特許公報(A)
公開日
2025-11-26
出願番号
2024077824
出願日
2024-05-13
発明の名称
複合コネクタ
出願人
ホシデン株式会社
代理人
個人
主分類
H01R
13/514 20060101AFI20251118BHJP(基本的電気素子)
要約
【目的】 本発明は複合コネクタの二つのコネクタ部の絶対的な位置及び相対的な位置関係にバラツキが生じ難くする。
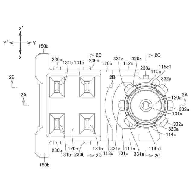
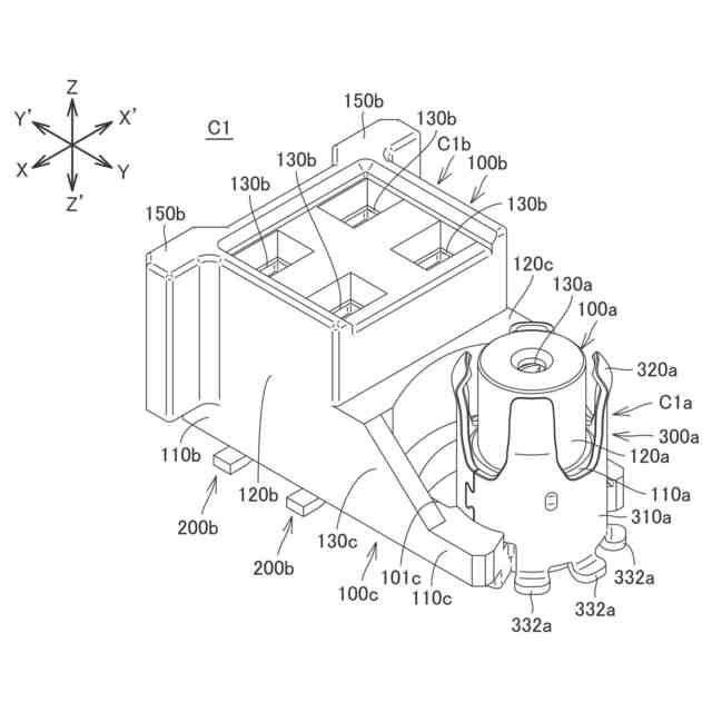
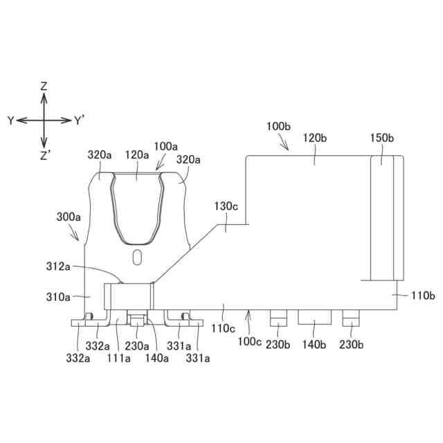
【構成】 コネクタC1は、第1コネクタ部C1aと、第2コネクタ部C1bと、連結部100cとを備えている。第1コネクタ部C1aは、第1ボディ100aと、少なくとも一つの第1端子200aと、シェル300aとを有する。シェルは、第1ボディ100aの外面の少なくとも一部を覆うシェル本体310aと、少なくとも一つの第3実装部331aとを有する。第2コネクタ部C1bは、第2ボディ100bと、少なくとも一つの第2端子200bとを有する。連結部100cは第1ボディ100aと第2ボディ100bとを連結している。少なくとも一つの第3実装部331aが連結部100cの少なくとも一つの貫通孔101cに対してZ’方向側又は少なくとも一つの貫通孔101c内に配置されている。
【選択図】 図2A
特許請求の範囲
【請求項1】
第1コネクタ部と、
第2コネクタ部と、
連結部とを備えており、
前記第1コネクタ部は、絶縁性を有する材料で構成されており且つ第1方向に延びた第1ボディと、
導電性を有する材料で構成された少なくとも一つの第1端子と、
導電性を有するシェルとを有しており、
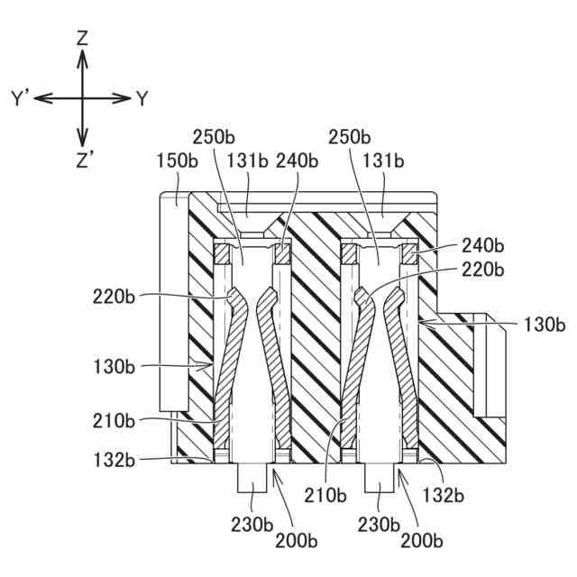
前記少なくとも一つの第1端子は、第1被保持部と、第1接点部と、第1実装部とを有しており、
前記第1被保持部は前記第1ボディ内で保持されており、
前記第1接点部は、前記第1被保持部から前記第1方向の一方に延びており且つ前記第1ボディから少なくとも部分的に露出又は突出しており、
前記第1実装部は、前記第1ボディに対して、少なくとも部分的に、前記第1方向の他方側、第2方向の一方側、第3方向の一方側又は前記第3方向の他方側に位置しており、前記第1方向は、前記第1ボディの高さ方向であり、前記第2方向は前記第1方向に略直交しており、前記第3方向は前記第1方向に略直交しており且つ前記第2方向に交差しており、
前記シェルは、前記第1ボディの外面の少なくとも一部を覆うシェル本体と、少なくとも一つの第3実装部とを有しており、
前記第2コネクタ部は、絶縁性を有する材料で構成されており、前記第1方向に延びており且つ前記第1ボディに対して前記第2方向の他方側に間隔をあけて配置された第2ボディと、
導電性を有する材料で構成された少なくとも一つの第2端子とを有しており、
前記少なくとも一つの第2端子は、第2被保持部と、第2接点部と、第2実装部とを有しており、
前記第2被保持部は、前記第2ボディ内で保持されており、
前記第2接点部は、前記第2被保持部から前記第1方向の一方に延びており且つ前記第2ボディから少なくとも部分的に露出又は突出しており、
前記第2実装部は、前記第2ボディに対して、少なくとも部分的に、前記第1方向の他方側、前記第2方向の他方側、前記第3方向の一方側又は前記第3方向の他方側に位置しており、
前記連結部は、前記第1ボディと前記第2ボディとを連結しており且つ前記連結部を前記第1方向に貫通した少なくとも一つの貫通孔を有しており、前記シェルの前記少なくとも一つの第3実装部が、少なくとも部分的に、前記少なくとも一つの貫通孔に対して前記第1方向の他方側又は前記少なくとも一つの貫通孔内に配置されている複合コネクタ。
続きを表示(約 3,200 文字)
【請求項2】
請求項1記載の複合コネクタにおいて、
前記少なくとも一つの第1端子の前記第1実装部は、少なくとも部分的に前記第2方向の一方に延びており且つ少なくとも部分的に前記第1ボディに対して前記第2方向の一方側に位置しており、少なくとも部分的に前記第3方向の一方に延びており且つ少なくとも部分的に前記第1ボディに対して前記第3方向の一方側に位置しており、又は、少なくとも部分的に前記第3方向の他方に延びており且つ少なくとも部分的に前記第1ボディに対して前記第3方向の他方側に位置しており、
前記少なくとも一つの第2端子の前記第2実装部は、少なくとも部分的に前記第2方向の他方に延びており且つ少なくとも部分的に前記第1ボディに対して前記第2方向の他方側に位置しており、少なくとも部分的に前記第3方向の一方に延びており且つ少なくとも部分的に前記第1ボディに対して前記第3方向の一方側に位置しており、又は、少なくとも部分的に前記第3方向の他方に延びており且つ少なくとも部分的に前記第1ボディに対して前記第3方向の他方側に位置しており、
前記シェルの前記少なくとも一つの第3実装部は、少なくとも部分的に前記第2方向の他方、前記第3方向の一方又は前記第3方向の他方に延びており、
前記第1実装部の前記第1方向の他方側の面、前記第2実装部の前記第1方向の他方側の面及び前記少なくとも一つの第3実装部の前記第1方向の他方側の面が、前記第1方向において、略高さ位置に位置している複合コネクタ。
【請求項3】
請求項2記載の複合コネクタにおいて、
前記連結部の前記第1方向の他方側の面が、前記第1ボディの前記第1方向の他方側の面よりも前記第1方向の一方側に位置しており、
前記シェルの前記少なくとも一つの第3実装部が、少なくとも部分的に、前記少なくとも一つの貫通孔に対して前記第1方向の他方側に配置されている複合コネクタ。
【請求項4】
請求項1記載の複合コネクタにおいて、
前記少なくとも一つの第1端子の前記第1実装部は、少なくとも部分的に前記第1方向の他方に延びており且つ少なくとも部分的に前記第1ボディに対して前記第1方向の他方側に位置しており、
前記少なくとも一つの第2端子の前記第2実装部は、少なくとも部分的に前記第1方向の他方に延びており且つ少なくとも部分的に前記第2ボディに対して前記第1方向の他方側に位置しており、
前記シェルの前記少なくとも一つの第3実装部は、少なくとも部分的に前記第1方向の他方に延びており、少なくとも部分的に前記連結部に対して前記第1方向の他方側に位置しており且つ少なくとも部分的に前記少なくとも一つの貫通孔に対して前記第1方向の他方側に配置されている複合コネクタ。
【請求項5】
請求項1記載の複合コネクタにおいて、
前記シェルの前記シェル本体は、前記第1方向に延びた筒状であって、前記第1ボディの外周面の少なくとも一部を覆っており、
前記少なくとも一つの第1端子は、一つであって、前記第1被保持部及び/又は前記第1接点部が前記第1ボディ及び前記シェル本体に対して略同軸状に配置されている複合コネクタ。
【請求項6】
請求項1記載の複合コネクタにおいて、
前記シェルの前記シェル本体は、前記第1方向に延びた筒状であって、前記第1ボディに前記第1方向の一方側から外嵌すると共に、前記第1ボディと前記連結部との境界部に前記第1方向の一方側から当接している複合コネクタ。
【請求項7】
第1コネクタ部と、
第2コネクタ部と、
連結部とを備えており、
前記第1コネクタ部は、絶縁性を有する材料で構成されており且つ第1方向に延びた第1ボディと、
導電性を有する材料で構成された少なくとも一つの第1端子とを有しており、
前記第1方向は、前記第1ボディの高さ方向であり、第2方向は前記第1方向に略直交しており、第3方向は前記第1方向に略直交しており且つ前記第2方向に交差しており、
前記少なくとも一つの第1端子は、第1被保持部と、第1接点部と、第1実装部とを有しており、
前記第1被保持部は前記第1ボディ内で保持されており、
前記第1接点部は、前記第1被保持部から前記第1方向の一方に延びており且つ前記第1ボディから少なくとも部分的に露出又は突出しており、
前記第2コネクタ部は、絶縁性を有する材料で構成されており、前記第1方向に延びており且つ前記第1ボディに対して前記第2方向の他方側に間隔をあけて配置された第2ボディと、
導電性を有する材料で構成された少なくとも一つの第2端子とを有しており、
前記少なくとも一つの第2端子は、第2被保持部と、第2接点部と、第2実装部とを有しており、
前記第2被保持部は、前記第2ボディ内で保持されており、
前記第2接点部は、前記第2被保持部から前記第1方向の一方に延びており且つ前記第2ボディから少なくとも部分的に露出又は突出しており、
前記第2実装部は、前記第2ボディに対して、少なくとも部分的に、前記第1方向の他方側、前記第2方向の他方側、前記第3方向の一方側又は前記第3方向の他方側に位置しており、
前記連結部は、前記第1ボディと前記第2ボディとを連結しており且つ前記連結部を前記第1方向に貫通した貫通孔を有しており、前記少なくとも一つの第1端子の前記第1実装部の一部が前記少なくとも一つの貫通孔に対して前記第1方向の他方側又は前記少なくとも一つの貫通孔内に配置されている複合コネクタ。
【請求項8】
請求項7記載の複合コネクタにおいて、
前記少なくとも一つの第1端子の前記第1実装部は、少なくとも部分的に前記第2方向の他方、前記第3方向の一方又は前記第3方向の他方に延びており、
前記少なくとも一つの第2端子の前記第2実装部は、少なくとも部分的に前記第2方向の他方に延びており且つ少なくとも部分的に前記第1ボディに対して前記第2方向の他方側に位置しており、少なくとも部分的に前記第3方向の一方に延びており且つ少なくとも部分的に前記第1ボディに対して前記第3方向の一方側に位置しており、又は、少なくとも部分的に前記第3方向の他方に延びており且つ少なくとも部分的に前記第1ボディに対して前記第3方向の他方側に位置しており、
前記少なくとも一つの第1端子の前記第1実装部の前記第1方向の他方側の面及び前記少なくとも一つの第2端子の前記第2実装部の前記第1方向の他方側の面が、前記第1方向において、略高さ位置に位置している複合コネクタ。
【請求項9】
請求項8記載の複合コネクタにおいて、
前記連結部の前記第1方向の他方側の面が、前記第1ボディの前記第1方向の他方側の面よりも前記第1方向の一方側に位置しており、
前記少なくとも一つの第1端子の前記第1実装部の前記一部が前記少なくとも一つの貫通孔に対して前記第1方向の他方側に配置されている複合コネクタ。
【請求項10】
請求項7記載の複合コネクタにおいて、
前記少なくとも一つの第1端子の前記第1実装部の前記一部は、前記連結部の前記少なくとも一つの貫通孔に対して前記第1方向の他方側で、前記第1方向の他方に延びており、
前記少なくとも一つの第2端子の前記第2実装部は、少なくとも部分的に前記第1方向の他方に延びており且つ少なくとも部分的に前記第2ボディに対して前記第1方向の他方側に位置している複合コネクタ。
(【請求項11】以降は省略されています)
発明の詳細な説明
【技術分野】
【0001】
本発明は、複合コネクタに関する。
続きを表示(約 1,300 文字)
【背景技術】
【0002】
下記特許文献1には、従来の第1コネクタ及び第2コネクタが記載されている。第1コネクタは同軸コネクタである。第2コネクタは、絶縁性を有するボディと、ボディに保持された複数の端子と、一対の固定部材とを備えている。
【0003】
第1コネクタは基板に実装される。第2コネクタも、同じ基板に実装される。具体的には、第2コネクタのボディが基板に固定され、第2コネクタの複数の端子が基板の複数の電極に接触し、且つ第2コネクタの一対の固定部材が半田付により固定されるようになっている。このようにして第2コネクタは、基板上の第1コネクタに対する所定位置で実装されるようになっている。
【0004】
下記特許文献2には、
【先行技術文献】
【特許文献】
【0005】
特表2017―520132号公報(図13~図15参照)
【発明の概要】
【発明が解決しようとする課題】
【0006】
第1コネクタ及び第2コネクタは別個のコネクタである。そのため、第1コネクタ及び第2コネクタを基板に実装する度に、基板上における第1コネクタ及び第2コネクタのそれぞれの絶対的位置、並びに、第1コネクタと第2コネクタとの相対的な位置関係(第1コネクタと第2コネクタとの間の距離及び/又は方向等)にバラツキが生じる。
【0007】
本発明は、二つのコネクタ部の絶対的な位置及び相対的な位置関係にバラツキが生じ難い複合コネクタを提供する。
【課題を解決するための手段】
【0008】
本発明の一態様の複合コネクタは、第1コネクタ部と、第2コネクタ部と、連結部とを備えている。
【0009】
第1コネクタ部は、第1ボディと、導電性を有する材料で構成された少なくとも一つの第1端子とを有している。第1ボディは、絶縁性を有する材料で構成されており且つ第1方向に延びている。少なくとも一つの第1端子は、第1被保持部と、第1接点部と、第1実装部とを有している。第1被保持部は第1ボディ内で保持されている。第1接点部は、第1被保持部から第1方向の一方に延びており且つ第1ボディから少なくとも部分的に露出又は突出している。なお、第1方向は、第1ボディの高さ方向である。第2方向は第1方向に略直交している。第3方向は第1方向に略直交しており且つ第2方向に交差している。
【0010】
第2コネクタ部は、第2ボディと、導電性を有する材料で構成された少なくとも一つの第2端子とを有している。第2ボディは、絶縁性を有する材料で構成されており、第1方向に延びており且つ第1ボディに対して第2方向の他方側に間隔をあけて配置されている。少なくとも一つの第2端子は、第2被保持部と、第2接点部と、第2実装部とを有している。第2被保持部は、第2ボディ内で保持されている。第2接点部は、第2被保持部から第1方向の一方に延びており且つ第2ボディから少なくとも部分的に露出又は突出している。
(【0011】以降は省略されています)
この特許をJ-PlatPat(特許庁公式サイト)で参照する
関連特許
ホシデン株式会社
分解用治具
4か月前
ホシデン株式会社
複合コネクタ
今日
ホシデン株式会社
コネクタユニット
7日前
ホシデン株式会社
コネクタユニット
29日前
ホシデン株式会社
光ファイバアッセンブリの製造方法及び光ファイバアッセンブリ
1か月前
東ソー株式会社
絶縁電線
1か月前
APB株式会社
蓄電セル
1か月前
個人
フレキシブル電気化学素子
1か月前
株式会社東芝
端子台
27日前
株式会社ユーシン
操作装置
1か月前
マクセル株式会社
電源装置
27日前
ローム株式会社
半導体装置
1か月前
日新イオン機器株式会社
イオン源
1か月前
株式会社GSユアサ
蓄電設備
1か月前
株式会社GSユアサ
蓄電装置
28日前
株式会社GSユアサ
蓄電装置
20日前
株式会社GSユアサ
蓄電装置
28日前
オムロン株式会社
電磁継電器
1か月前
株式会社GSユアサ
蓄電設備
1か月前
太陽誘電株式会社
コイル部品
1か月前
株式会社GSユアサ
蓄電装置
6日前
株式会社ホロン
冷陰極電子源
1か月前
三菱電機株式会社
回路遮断器
14日前
富士電機株式会社
電磁接触器
6日前
日本特殊陶業株式会社
保持装置
19日前
トヨタ自動車株式会社
蓄電装置
28日前
サクサ株式会社
電池の固定構造
1か月前
トヨタ自動車株式会社
蓄電装置
1か月前
ホシデン株式会社
複合コネクタ
今日
ノリタケ株式会社
熱伝導シート
1か月前
日新イオン機器株式会社
基板処理装置
1か月前
日本特殊陶業株式会社
保持装置
1か月前
日東電工株式会社
積層体
1か月前
トヨタ自動車株式会社
バッテリ
1か月前
北道電設株式会社
配電具カバー
1か月前
トヨタ自動車株式会社
冷却構造
1か月前
続きを見る
他の特許を見る