TOP
|
特許
|
意匠
|
商標
特許ウォッチ
Twitter
他の特許を見る
10個以上の画像は省略されています。
公開番号
2025154177
公報種別
公開特許公報(A)
公開日
2025-10-10
出願番号
2024057044
出願日
2024-03-29
発明の名称
蓄電設備
出願人
株式会社GSユアサ
代理人
個人
主分類
H01M
10/613 20140101AFI20251002BHJP(基本的電気素子)
要約
【課題】省スペース化を図りつつ空調性能(冷房性能または暖房性能)の向上を図ることができる蓄電設備を提供する。
【解決手段】蓄電設備は、蓄電素子122及び電力変換器の少なくとも一方を収容する電気盤100と、電気盤の天板116の上方に配置され、天板に形成された吸気口116a及び排気口116bを介して、電気盤の内部空間の空気を循環させる空調装置と、吸気口及び排気口を空気が通過可能に、天板の内面に配置される断熱材130~135と、を備える。
【選択図】図4
特許請求の範囲
【請求項1】
蓄電素子及び電力変換器の少なくとも一方を収容する電気盤と、
前記電気盤の天板の上方に配置され、前記天板に形成された吸気口及び排気口を介して、前記電気盤の内部空間の空気を循環させる空調装置と、
前記吸気口及び前記排気口を空気が通過可能に、前記天板の内面に配置される断熱材と、を備える
蓄電設備。
続きを表示(約 530 文字)
【請求項2】
前記断熱材は、前記天板の内面における前記空調装置と対向する位置とは異なる位置に配置される
請求項1に記載の蓄電設備。
【請求項3】
前記断熱材は、前記吸気口及び前記排気口と対向する位置に開口が形成されている
請求項1または2に記載の蓄電設備。
【請求項4】
前記断熱材は、さらに、前記電気盤の2つの側板、前板、後板、及び、底板の少なくとも1つの内面に配置される
請求項1または2に記載の蓄電設備。
【請求項5】
前記空調装置は、
前記排気口から下方に向かう空気を、前記蓄電素子及び前記電力変換器の少なくとも一方である第一対象物に当て、
前記吸気口へ向けて上方に向かう空気を、前記第一対象物とは異なる第二対象物に当てる
請求項1または2に記載の蓄電設備。
【請求項6】
前記電気盤は、
前記蓄電素子を収容する蓄電盤と、
前記電力変換器を収容する電力変換盤と、を備え、
前記蓄電盤及び前記電力変換盤のそれぞれに、前記空調装置と前記断熱材とが設けられている
請求項1または2に記載の蓄電設備。
発明の詳細な説明
【技術分野】
【0001】
本発明は、蓄電設備に関する。
続きを表示(約 1,800 文字)
【背景技術】
【0002】
特許文献1には、密閉される収納盤と、収納盤内部の空気を吸入し、外部から吸入した空気に放熱させて温度を低下させ、収納盤内部に排出する熱交換器と、を備えるパワーコンディショナが開示されている。熱交換器は、収納盤の背面の下方に取り付けられており、収納盤の上面には屋根が配置され、屋根は断熱材を備えており、直射日光による熱が収納盤の上面に伝わることを抑制する(特許文献1の明細書の段落[0042]-[0043]等参照)。
【先行技術文献】
【特許文献】
【0003】
特許第6345578号公報
【発明の概要】
【発明が解決しようとする課題】
【0004】
上記特許文献1に開示されたパワーコンディショナでは、収納盤の背面に熱交換器を配置し、収納盤の上面に断熱材を備えた屋根を配置することで、収納盤内部の冷却性能の向上を図っている。しかしながら、このパワーコンディショナの構成では、収納盤の背面に熱交換器を配置するためのスペースが必要であり、狭小地等にパワーコンディショナを設置するのが困難な場合がある。
【0005】
本発明は、本願発明者が上記課題に新たに着目することによってなされたものであり、省スペース化を図りつつ空調性能(冷房性能または暖房性能)の向上を図ることができる蓄電設備を提供することを目的とする。
【課題を解決するための手段】
【0006】
本発明の一態様に係る蓄電設備は、蓄電素子及び電力変換器の少なくとも一方を収容する電気盤と、前記電気盤の天板の上方に配置され、前記天板に形成された吸気口及び排気口を介して、前記電気盤の内部空間の空気を循環させる空調装置と、前記吸気口及び前記排気口を空気が通過可能に、前記天板の内面に配置される断熱材と、を備える。
【発明の効果】
【0007】
本発明における蓄電設備によれば、省スペース化を図りつつ空調性能の向上を図ることができる。
【図面の簡単な説明】
【0008】
図1は、実施の形態に係る蓄電設備の構成を示す斜視図である。
図2は、実施の形態に係る蓄電設備が備える4つの電気盤及び4つの空調装置の構成を示す斜視図である。
図3は、実施の形態に係る電気盤が備える蓄電装置の構成を示す斜視図である。
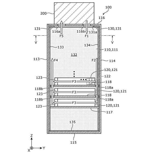
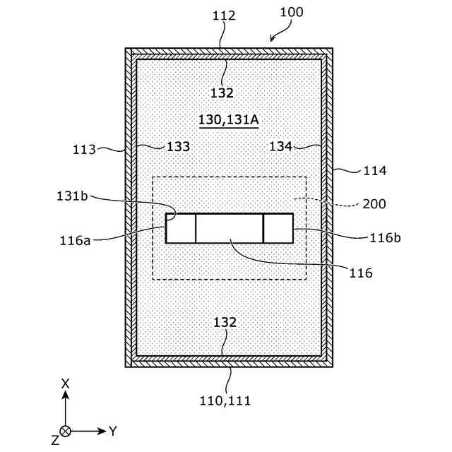
図4は、実施の形態に係る電気盤の内部構成を示す断面図である。
図5は、実施の形態に係る電気盤の天板に配置される断熱材の構成を示す断面図である。
図6は、実施の形態の変形例1に係る電気盤の天板に配置される断熱材の構成を示す断面図である。
図7は、実施の形態の変形例2に係る電気盤の天板に配置される断熱材の構成を示す断面図である。
図8は、実施の形態の変形例3に係る電気盤の天板に配置される断熱材の構成を示す断面図である。
図9は、実施の形態の変形例4に係る電気盤の天板に配置される断熱材の構成を示す断面図である。
【発明を実施するための形態】
【0009】
(1)本発明の一態様に係る蓄電設備は、蓄電素子及び電力変換器の少なくとも一方を収容する電気盤と、前記電気盤の天板の上方に配置され、前記天板に形成された吸気口及び排気口を介して、前記電気盤の内部空間の空気を循環させる空調装置と、前記吸気口及び前記排気口を空気が通過可能に、前記天板の内面に配置される断熱材と、を備える。
【0010】
本発明の一態様に係る蓄電設備によれば、電気盤の天板の上方に配置される空調装置と、天板に形成された空調装置の吸気口及び排気口を空気が通過可能に、天板の内面に配置される断熱材と、を備えている。このように、電気盤の天板の上方に空調装置が配置されることで、狭小地等の狭い土地にも電気盤を配置できる等、省スペース化を図ることができる。この構成において、空調性能(冷房性能または暖房性能)を向上させるために、電気盤の天板の内面に断熱材を配置すると、断熱材が、天板に形成された空調装置の吸気口及び排気口を塞いでしまうおそれがある。このため、断熱材を、吸気口及び排気口を空気が通過可能に天板の内面に配置する。これにより、蓄電設備によれば、省スペース化を図りつつ空調性能の向上を図ることができる。
(【0011】以降は省略されています)
この特許をJ-PlatPat(特許庁公式サイト)で参照する
関連特許
株式会社GSユアサ
鉛蓄電池
1か月前
株式会社GSユアサ
蓄電装置
28日前
株式会社GSユアサ
蓄電装置
6日前
株式会社GSユアサ
蓄電設備
1か月前
株式会社GSユアサ
蓄電装置
1か月前
株式会社GSユアサ
蓄電装置
14日前
株式会社GSユアサ
PCS盤
1か月前
株式会社GSユアサ
蓄電装置
20日前
株式会社GSユアサ
蓄電装置
1か月前
株式会社GSユアサ
蓄電設備
1か月前
株式会社GSユアサ
蓄電装置
28日前
株式会社GSユアサ
蓄電バンクの監視システム
19日前
株式会社GSユアサ
鉛蓄電池用極板及び鉛蓄電池
1か月前
株式会社GSユアサ
鉛蓄電池用極板及び鉛蓄電池
1か月前
株式会社GSユアサ
電力変換器、充電装置及び車両
1か月前
株式会社GSユアサ
非水電解質蓄電素子及びその製造方法
21日前
株式会社GSユアサ
非水電解質蓄電素子及びその使用方法
7日前
株式会社GSユアサ
デバイス装置、エネルギー貯蔵システム
19日前
株式会社GSユアサ
電力変換器、多脚トランス、充電装置及び車両
1か月前
株式会社GSユアサ
全固体蓄電素子及び全固体蓄電素子の製造方法
1か月前
株式会社GSユアサ
エネルギー貯蔵システム、蓄電バンクの初期充電方法
1か月前
株式会社GSユアサ
非水電解質蓄電素子、その使用方法及びその製造方法
1か月前
株式会社GSユアサ
電力変換器、電力変換器の制御方法、充電装置及び車両
1か月前
株式会社GSユアサ
蓄電素子用の正極活物質、蓄電素子用の正極及び蓄電素子
1か月前
株式会社GSユアサ
蓄電素子
1か月前
株式会社GSユアサ
鉛蓄電池用正極集電体、および鉛蓄電池用集電体の製造方法
1か月前
株式会社GSユアサ
エネルギー貯蔵システム、蓄電池盤の満充電容量計測方法。
1か月前
株式会社GSユアサ
蓄電システム
8日前
株式会社GSユアサ
蓄電情報処理方法、コンピュータプログラム及び蓄電情報処理装置
1か月前
株式会社GSユアサ
充放電ステーション
1か月前
株式会社GSユアサ
情報処理装置及び端末装置
1か月前
株式会社GSユアサ
蓄電装置、組電池の異常検出方法
1か月前
株式会社GSユアサ
硫化物固体電解質及び全固体電池
29日前
株式会社GSユアサ
硫化物固体電解質及び全固体電池
今日
株式会社GSユアサ
蓄電装置、電流遮断装置の制御方法
6日前
株式会社GSユアサ
電力変換器、充電装置、車両、電源装置、力率改善回路、DC-DCコンバータおよびインバータ
1か月前
続きを見る
他の特許を見る