TOP
|
特許
|
意匠
|
商標
特許ウォッチ
Twitter
他の特許を見る
10個以上の画像は省略されています。
公開番号
2025150267
公報種別
公開特許公報(A)
公開日
2025-10-09
出願番号
2024051072
出願日
2024-03-27
発明の名称
エネルギー貯蔵システム、蓄電池盤の満充電容量計測方法。
出願人
株式会社GSユアサ
代理人
弁理士法人暁合同特許事務所
主分類
H02J
7/00 20060101AFI20251002BHJP(電力の発電,変換,配電)
要約
【課題】蓄電池盤の満充電容量を計測する。
【解決手段】系統に連系するエネルギー貯蔵システム10であって、一又は複数の蓄電池盤20と、前記蓄電池盤20の充放電により電力の需給調整を行う需給調整用の電力制御ユニット40と、制御装置50と、を含む。前記制御装置50は、前記蓄電池盤20を需給調整用の前記電力制御ユニット40により完全放電状態から満充電状態まで充電、又は満充電状態から完全放電状態まで放電し、前記蓄電池盤20が完全放電状態から満充電状態に変化する間の第1電流積算値又は満充電状態から完全放電状態に変化する間の第2電流積算値に基づいて、前記蓄電池盤20の満充電容量を計測する。
【選択図】図4
特許請求の範囲
【請求項1】
系統に連系するエネルギー貯蔵システムであって、
一又は複数の蓄電池盤と、
前記蓄電池盤の充放電により電力の需給調整を行う需給調整用の電力制御ユニットと、
制御装置と、を含み、
前記制御装置は、
前記蓄電池盤を需給調整用の前記電力制御ユニットにより完全放電状態から満充電状態まで充電、又は満充電状態から完全放電状態まで放電し、
前記蓄電池盤が完全放電状態から満充電状態に変化する間の第1電流積算値又は満充電状態から完全放電状態に変化する間の第2電流積算値に基づいて、前記蓄電池盤の満充電容量を計測する、エネルギー貯蔵システム。
続きを表示(約 680 文字)
【請求項2】
請求項1に記載のエネルギー貯蔵システムであって、
前記制御装置は、満充電容量計測より電力の需給調整を優先する、エネルギー貯蔵システム。
【請求項3】
請求項1又は請求項2に記載のエネルギー貯蔵システムを並列に複数接続したエネルギー貯蔵システムであって、
並列に接続した複数の前記エネルギー貯蔵システム間でエネルギーを融通することにより、満充電容量計測対象の蓄電池盤を完全放電状態と満充電状態との間で変化させて、満充電容量を計測する、エネルギー貯蔵システム。
【請求項4】
請求項1又は請求項2に記載のエネルギー貯蔵システムを並列に複数接続したエネルギー貯蔵システムであって、
電力の需給調整中、複数の前記エネルギー貯蔵システムのうち、満充電容量計測対象のエネルギー貯蔵システムの蓄電池盤を、満充電容量非計測のエネルギー貯蔵システムの蓄電池盤よりも優先的に充放電することにより、完全放電状態から満充電状態又は満充電状態から完全放電状態に変化させる、エネルギー貯蔵システム。
【請求項5】
蓄電池盤の満充電容量計測方法であって、
前記蓄電池盤を需給調整用の電力制御ユニットにより完全放電状態から満充電状態まで充電、又は満充電状態から完全放電状態まで放電し、
前記蓄電池盤が完全放電状態から満充電状態に変化する間の第1電流積算値又は満充電状態から完全放電状態に変化する間の第2電流積算値に基づいて、前記蓄電池盤の満充電容量を計測する、蓄電池盤の満充電容量計測方法。
発明の詳細な説明
【技術分野】
【0001】
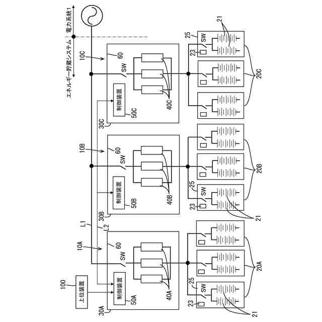
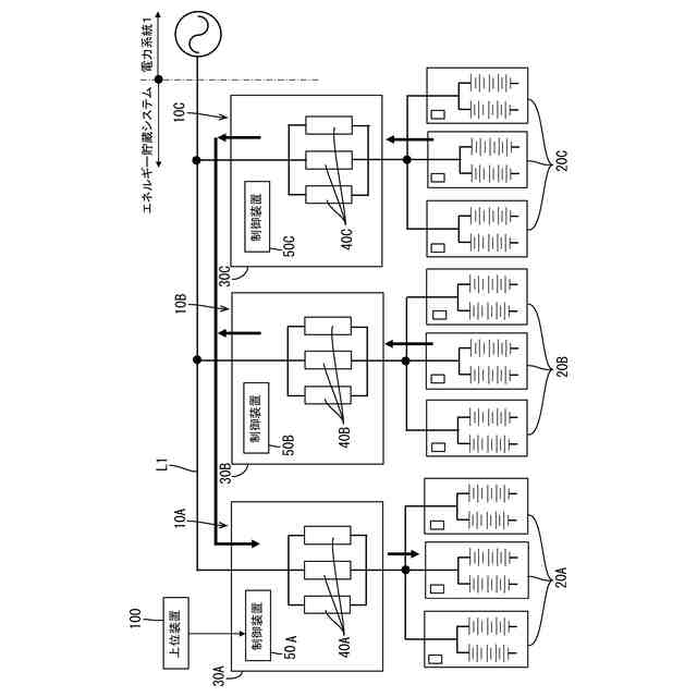
本発明は、電力系統と連系するエネルギー貯蔵システムにおいて、蓄電池盤の満充電容量を計測する技術に関する。
続きを表示(約 1,200 文字)
【背景技術】
【0002】
エネルギーの効率的な運用を図るため、エネルギー貯蔵システムの導入が進められている。エネルギー貯蔵システムは、電力の需要が供給を下回っている場合、電力の余剰分で蓄電池盤に充電し、電力の需要が供給を上回っている場合、蓄電池盤を放電することで、電力不足を補う。エネルギー貯蔵システムに関連する技術を開示する文献として、特許文献1がある。
【0003】
特許文献1は、蓄電池システムにおいて、運用用PCSと容量測定用PCSを設置することを開示する。運用用PCSは電力の需給調整用であり、容量測定用PCSは蓄電池盤の蓄電池容量測定用である。
【先行技術文献】
【特許文献】
【0004】
特開2019-158397号公報
【発明の概要】
【発明が解決しようとする課題】
【0005】
特許文献1の場合、容量測定用PCSが無い場合や故障した場合、蓄電池盤の満充電容量(蓄電池容量)を計測することができない。
本発明の課題は、容量測定用PCSを設けた特許文献1とは異なる方法で、蓄電池盤の満充電容量を計測することである。
【課題を解決するための手段】
【0006】
系統に連系するエネルギー貯蔵システムであって、一又は複数の蓄電池盤と、前記蓄電池盤の充放電により電力の需給調整を行う需給調整用の電力制御ユニットと、制御装置と、を含む。
【0007】
前記制御装置は、前記蓄電池盤を需給調整用の前記電力制御ユニットにより完全放電状態から満充電状態まで充電、又は満充電状態から完全放電状態まで放電し、前記蓄電池盤が完全放電状態から満充電状態に変化する間の第1電流積算値又は満充電状態から完全放電状態に変化する間の第2電流積算値に基づいて、前記蓄電池盤の満充電容量を計測する。
【0008】
本技術は、蓄電池盤の満充電容量計測方法に、適用することが出来る。
【発明の効果】
【0009】
本技術は、容量測定用PCSを設けた特許文献1とは異なる方法で、蓄電池盤の満充電容量を計測することが出来る。
【図面の簡単な説明】
【0010】
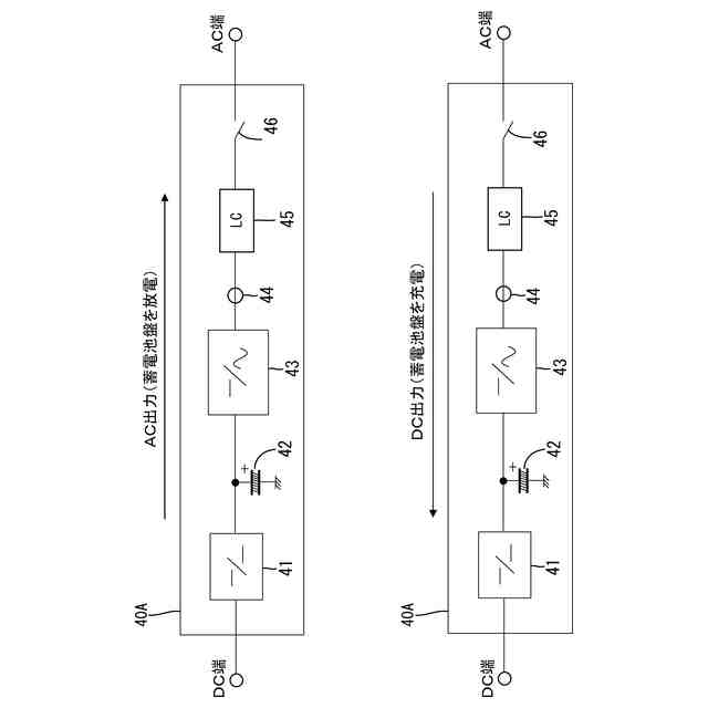
エネルギー貯蔵システムの斜視図
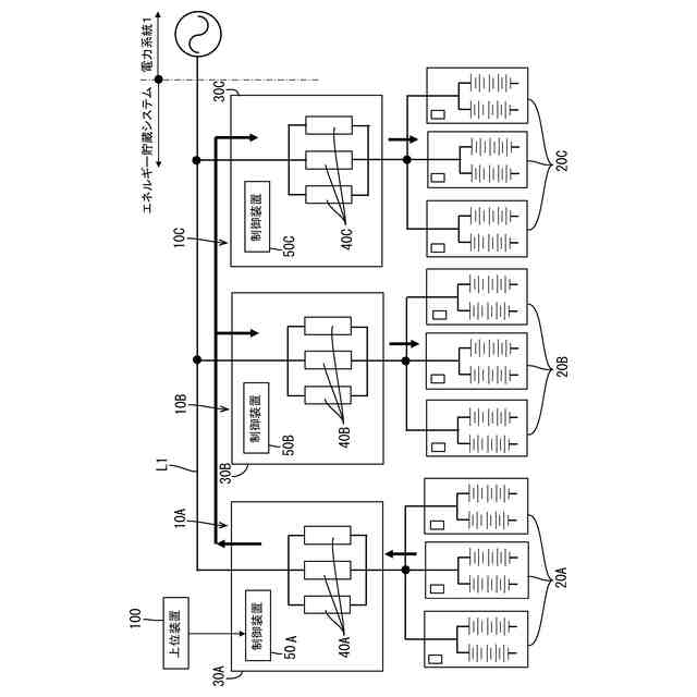
エネルギー貯蔵システムのブロック図
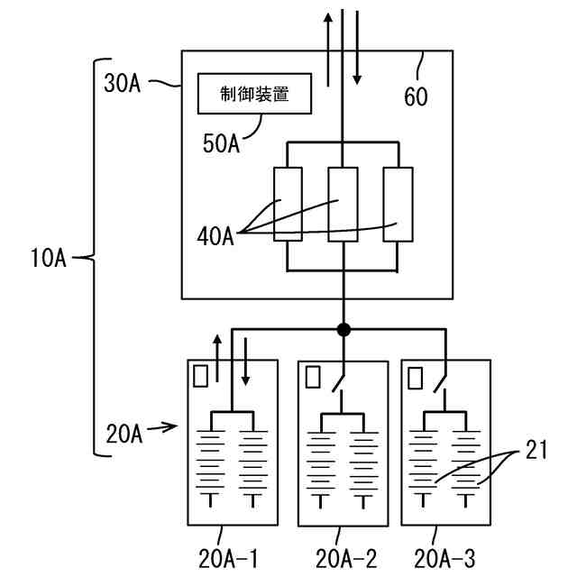
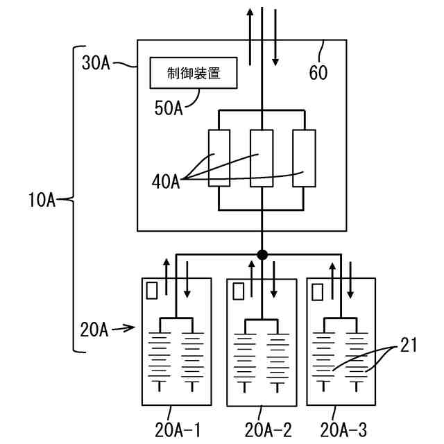
電力制御ユニットのブロック図
満充電計測処理のフローチャート
蓄電池盤の放電動作を示す図
蓄電池盤の充電動作を示す図
満充電容量の計測タイミングを示す図
蓄電池盤を3台同時に充放電した状態を示す図
蓄電池盤を1台ずつ充放電した状態を示す図
エネルギー貯蔵システムのブロック図
エネルギー貯蔵システムのブロック図
【発明を実施するための形態】
(【0011】以降は省略されています)
この特許をJ-PlatPat(特許庁公式サイト)で参照する
関連特許
個人
単極モータ
1か月前
個人
高圧電気機器の開閉器
1日前
個人
電気を重力で発電装置
14日前
キヤノン電子株式会社
モータ
13日前
キヤノン電子株式会社
モータ
21日前
株式会社アイシン
ロータ
1か月前
株式会社アイシン
ロータ
1か月前
コーセル株式会社
電源装置
22日前
日星電気株式会社
ケーブル組立体
29日前
トヨタ自動車株式会社
固定子
1か月前
トヨタ自動車株式会社
モータ
13日前
株式会社アイドゥス企画
減反モータ
1日前
株式会社デンソー
回転機
1か月前
トヨタ自動車株式会社
製造装置
1か月前
株式会社アイシン
ステータ
1か月前
株式会社アイシン
ステータ
1か月前
株式会社ダイヘン
充電装置
1か月前
株式会社アイシン
ステータ
1か月前
株式会社アイシン
ステータ
1か月前
株式会社ダイヘン
充電装置
1か月前
株式会社ダイヘン
充電装置
1か月前
株式会社ダイヘン
充電装置
1か月前
個人
二次電池繰返パルス放電器用印刷基板
27日前
株式会社kaisei
発電システム
1か月前
トヨタ自動車株式会社
被膜形成装置
1か月前
株式会社デンソー
電力変換装置
1か月前
株式会社デンソー
電力変換装置
28日前
株式会社ミツバ
回転電機
1か月前
株式会社ミツバ
回転電機
1か月前
株式会社ダイヘン
インバータ装置
1か月前
株式会社デンソー
非接触受電装置
1か月前
シャープ株式会社
表示装置
1か月前
キヤノン株式会社
無線電力伝送システム
1か月前
トヨタ自動車株式会社
固定子の加熱装置
24日前
株式会社アイシン
駆動装置
1か月前
トヨタ自動車株式会社
ステータの製造装置
14日前
続きを見る
他の特許を見る