TOP
|
特許
|
意匠
|
商標
特許ウォッチ
Twitter
他の特許を見る
10個以上の画像は省略されています。
公開番号
2025156822
公報種別
公開特許公報(A)
公開日
2025-10-15
出願番号
2024059529
出願日
2024-04-02
発明の名称
電力変換装置
出願人
株式会社デンソー
代理人
個人
,
個人
主分類
H02M
7/48 20070101AFI20251007BHJP(電力の発電,変換,配電)
要約
【課題】回路基板の体格増大を抑制できる電力変換装置を提供すること
【解決手段】電力変換装置は、回路基板23と、複数の半導体モジュール21を備える。半導体モジュール21は、少なくともひとつの半導体素子と、所定方向であるX方向に並んで回路基板23に実装された複数の信号端子84を有する。複数の半導体モジュール21は、X方向に直交する方向であるZ方向に積層配置されている。複数の半導体モジュール21は、第1半導体モジュール21Aと、第1半導体モジュール21Aよりも信号端子84の数が少ない第2半導体モジュール21Bを含む。
【選択図】図2
特許請求の範囲
【請求項1】
電力変換回路を構成する電力変換装置であって、
配線を有する回路基板(23)と、
少なくともひとつの半導体素子(40)と、前記半導体素子に電気的に接続され、所定方向に並んで前記回路基板に実装された複数の信号端子(84)と、をそれぞれ有し、前記所定方向に直交する方向に積層配置された複数の半導体モジュール(21)と、
を備え、
複数の前記半導体モジュールは、第1半導体モジュール(21A)と、前記第1半導体モジュールよりも前記信号端子の数が少ない第2半導体モジュール(21B)と、を含む、電力変換装置。
続きを表示(約 1,800 文字)
【請求項2】
前記配線は、前記信号端子に電気的に接続された信号配線(235S)を含み、
前記回路基板は、前記信号配線の配置領域として、第1領域(237)と、前記第1領域に配置された前記信号配線よりも前記所定方向に直交する方向の長さが長い前記信号配線を含む第2領域(238)と、を有し、
前記第2領域の少なくともひとつに、前記第2半導体モジュールが実装されている、請求項1に記載の電力変換装置。
【請求項3】
前記第1半導体モジュールの少なくともひとつは、積層された複数の前記半導体モジュールの中央に配置されている、請求項1に記載の電力変換装置。
【請求項4】
前記半導体素子は、信号用のパッドとして温度センスパッド(43A,43K)を有し、
前記第1半導体モジュールは、前記信号端子として、前記温度センスパッドに電気的に接続された温度センス端子(84A,84K)を有し、
前記第2半導体モジュールは、前記温度センス端子を有していない、請求項1~3いずれか1項に記載の電力変換装置。
【請求項5】
前記電力変換回路は、第1回転電機に対応する第1インバータ(8A)と、第2回転電機に対応する第2インバータ(8B)と、を含み、
前記第1インバータの一相分は前記第1半導体モジュールを含んで構成され、前記第1インバータの残りの二相分は前記第2半導体モジュールを含んで構成され、
前記第2インバータの一相分は前記第1半導体モジュールを含んで構成され、前記第2インバータの残りの二相分は前記第2半導体モジュールを含んで構成されている、請求項4に記載の電力変換装置。
【請求項6】
前記電力変換回路は、少なくとも昇圧機能を有するコンバータ(7)を含み、
前記コンバータは、前記第1半導体モジュールを含んで構成され、
前記コンバータの前記第1半導体モジュールが前記第1インバータの前記第1半導体モジュールと前記第2インバータの前記第1半導体モジュールとの間に位置するように、前記第1インバータの前記第1半導体モジュール、前記第2インバータの前記第1半導体モジュール、および前記コンバータの前記第1半導体モジュールが、積層された複数の前記半導体モジュールの中央において連続して並んでいる、請求項5に記載の電力変換装置。
【請求項7】
前記半導体モジュールは、前記半導体素子として、一相分の上下アーム回路の上アームを構成する上アーム素子(40H)と、前記上下アーム回路の下アームを構成する下アーム素子(40L)と、を有し、
前記第1半導体モジュールにおいて、前記下アーム素子に前記温度センス端子が接続され、前記上アーム素子に前記温度センス端子が接続されておらず、
前記第2半導体モジュールにおいて、前記上アーム素子および前記下アーム素子のいずれにも前記温度センス端子が接続されていない、請求項4に記載の電力変換装置。
【請求項8】
前記半導体素子は、前記パッドとして、前記温度センスパッドである第1パッドと、前記第1パッドとは別に設けられた第2パッド(43G)と、を有し、
前記第2半導体モジュールにおいて、前記第1パッドの少なくともひとつは前記第2パッドに電気的に接続されている、請求項4に記載の電力変換装置。
【請求項9】
前記第2半導体モジュールは、前記第1パッドに接続された第1ボンディングワイヤ(901)と、前記第2パッドに接続された第2ボンディングワイヤ(902)と、を有し、
前記第2パッドに対応する前記信号端子には、前記第2ボンディングワイヤを介して前記第2パッドが接続されるとともに、前記第1ボンディングワイヤを介して前記第1パッドの少なくともひとつが接続されている、請求項8に記載の電力変換装置。
【請求項10】
前記第2半導体モジュールは、前記第1パッドの少なくともひとつと前記第2パッドに対応する前記信号端子とを電気的に接続するボンディングワイヤ(903)を有し、
前記ボンディングワイヤは、前記第1パッドの少なくともひとつと前記第2パッドとを接続する部分を含む、請求項8に記載の電力変換装置。
(【請求項11】以降は省略されています)
発明の詳細な説明
【技術分野】
【0001】
この明細書における開示は、電力変換装置に関する。
続きを表示(約 2,300 文字)
【背景技術】
【0002】
特許文献1は、回路基板(制御基板)と、複数の半導体モジュール(パワーモジュール)を備える電力変換装置を開示している。半導体モジュールは、所定方向に並ぶ複数の信号端子(信号線)を有している。信号端子は、回路基板に実装されている。複数の半導体モジュールは、信号端子の並び方向に対して直交する方向に積層配置されている。先行技術文献の記載内容は、この明細書における技術的要素の説明として、参照により援用される。
【先行技術文献】
【特許文献】
【0003】
特開2016-163446号公報
【発明の概要】
【発明が解決しようとする課題】
【0004】
回路基板には、半導体モジュールごとに、ゲート駆動回路(ドライバ)などの回路が設けられている。回路基板に実装された信号端子は、配線を介して対応する回路に電気的に接続される。積層方向において、半導体モジュールそれぞれに対応する回路の形成領域は、信号端子の実装領域よりも大きい。よって、積層方向に並ぶ複数の半導体モジュールの信号端子から、配線をたとえば扇状に引き出して、回路につなぐ必要がある。このように、配線を積層方向および信号端子の並び方向に引き回して回路につなぐ必要があるため、回路基板の体格が増大する虞がある。上述の観点において、または言及されていない他の観点において、電力変換装置にはさらなる改良が求められている。
【0005】
本開示の目的のひとつは、回路基板の体格増大を抑制できる電力変換装置を提供することである。
【課題を解決するための手段】
【0006】
開示のひとつの態様は、
電力変換回路を構成する電力変換装置であって、
配線を有する回路基板(23)と、
少なくともひとつの半導体素子(40)と、半導体素子に電気的に接続され、所定方向に並んで回路基板に実装された複数の信号端子(84)と、をそれぞれ有し、所定方向に直交する方向に積層配置された複数の半導体モジュール(21)と、
を備え、
複数の半導体モジュールは、第1半導体モジュール(21A)と、第1半導体モジュールよりも信号端子の数が少ない第2半導体モジュール(21B)と、を含む。
【0007】
開示の電力変換装置によれば、複数の第1半導体モジュールのみを用いるのではなく、第1半導体モジュールと、第1半導体モジュールよりも信号端子の数が少ない第2半導体モジュールを混載する。これにより、第1半導体モジュールのみを用いる構成に較べて信号端子の数を低減し、配線自由度を向上することができる。よって、回路基板の体格増大を抑制することができる。
【0008】
この明細書における開示された複数の態様は、それぞれの目的を達成するために、互いに異なる技術的手段を採用する。請求の範囲に記載した括弧内の符号は、後述する実施形態の部分との対応関係を例示的に示すものであって、技術的範囲を限定することを意図するものではない。この明細書に開示される目的、特徴、および効果は、後続の詳細な説明、および添付の図面を参照することによってより明確になる。
【図面の簡単な説明】
【0009】
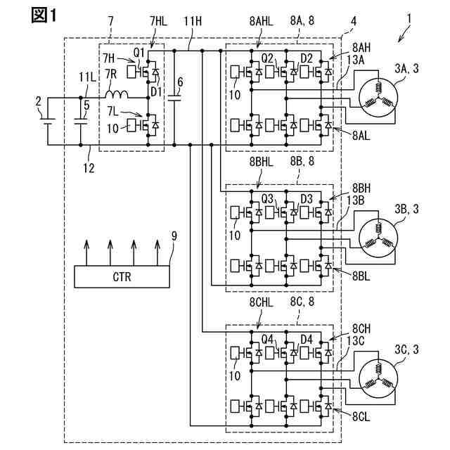
第1実施形態に係る電力変換装置が適用される電力変換回路および駆動システムを示す図である。
電力変換装置を示す平面図である。
図2のX1方向から見た平面図である。
第1半導体モジュールを示す平面図である。
第2半導体モジュールを示す平面図である。
第1半導体モジュールにおいて、封止体により覆われた部分を示す平面図である。
第2半導体モジュールにおいて、封止体により覆われた部分を示す平面図である。
図4のVIII-VIII線に沿う断面図である。
ドレイン電極側の基板を示す平面図である。
ソース電極側の基板を示す平面図である。
第1半導体モジュールにおいて、パッドと信号端子との接続を示す図である。
第2半導体モジュールにおいて、パッドと信号端子との接続を示す図である。
回路基板を示す平面図である。
参考例との対比を示す図である。
第2実施形態に係る電力変換装置において、第2半導体モジュールのパッドと信号端子との接続を示す図である。
第3実施形態に係る電力変換装置において、第2半導体モジュールのパッドと信号端子との接続を示す図である。
第4実施形態に係る電力変換装置において、半導体モジュールと冷却器との積層体を示す図である。
回路基板を示す平面図である。
第5実施形態に係る電力変換装置において、半導体モジュールと冷却器との積層体を示す図である。
回路基板を示す平面図である。
【発明を実施するための形態】
【0010】
以下、図面に基づいて複数の実施形態を説明する。なお、各実施形態において対応する構成要素には同一の符号を付すことにより、重複する説明を省略する場合がある。各実施形態において構成の一部分のみを説明している場合、当該構成の他の部分については、先行して説明した他の実施形態の構成を適用することができる。また、各実施形態の説明において明示している構成の組み合わせばかりではなく、特に組み合わせに支障が生じなければ、明示していなくても複数の実施形態の構成同士を部分的に組み合せることができる。
(【0011】以降は省略されています)
この特許をJ-PlatPat(特許庁公式サイト)で参照する
関連特許
株式会社デンソー
分離体
5日前
株式会社デンソー
光学部材
5日前
株式会社デンソー
光学部材
5日前
株式会社デンソー
半導体装置
5日前
株式会社デンソー
給電システム
5日前
株式会社デンソー
エレクトレット
5日前
株式会社デンソー
車両用空調装置
5日前
株式会社デンソー
端末及び基地局
6日前
株式会社デンソー
液体分離システム
5日前
株式会社デンソー
冷凍サイクル装置
6日前
株式会社デンソー
差動リングオシレータ
5日前
株式会社デンソー
コンデンサモジュール
7日前
株式会社デンソー
コアシートの製造方法
6日前
株式会社デンソー
ステアリング制御装置
5日前
株式会社デンソー
電気化学反応モジュール
5日前
株式会社デンソー
分離体及びその設計方法
5日前
株式会社デンソー
非接触型給電路の送電電極
7日前
株式会社デンソー
端末、基地局、及び通信方法
6日前
トヨタ自動車株式会社
判定装置
5日前
株式会社デンソー
液体分離モジュール及びその設計方法
5日前
株式会社デンソーテン
電源制御装置および電源制御プログラム
5日前
株式会社デンソー
通信装置、通信方法、及び通信プログラム
5日前
株式会社デンソー
制御装置、荷台監視システムおよび通知方法
7日前
株式会社デンソー
無線通信装置、無線通信方法、及びプログラム
5日前
株式会社デンソー
コネクタピン検査装置、コネクタピン検査方法
6日前
株式会社デンソー
水素透過構造体および水素透過構造体の製造方法
7日前
株式会社デンソーテン
電池監視システム、電池監視装置および電圧計測装置
5日前
株式会社デンソー
スイッチ制御装置、プログラム、及びスイッチ制御方法
5日前
株式会社ABAL
画像投影システム及び画像投影方法
5日前
株式会社デンソー
変換回路
11日前
株式会社デンソー
分析方法
5日前
株式会社デンソー
半導体装置
11日前
株式会社デンソー
半導体装置の製造方法
7日前
株式会社デンソー
半導体装置の製造方法
11日前
株式会社デンソー
ログ管理装置、ログ管理方法、ログ管理プログラム、及びログ管理システム
6日前
株式会社デンソー
ログ管理システム、ログ管理方法、ログ管理装置、及びログ管理プログラム
6日前
続きを見る
他の特許を見る