TOP
|
特許
|
意匠
|
商標
特許ウォッチ
Twitter
他の特許を見る
10個以上の画像は省略されています。
公開番号
2025170450
公報種別
公開特許公報(A)
公開日
2025-11-19
出願番号
2022153148
出願日
2022-09-26
発明の名称
端末、基地局、及び通信方法
出願人
株式会社デンソー
代理人
個人
,
個人
,
個人
主分類
H04W
72/20 20230101AFI20251112BHJP(電気通信技術)
要約
【課題】RedCap UEよりも低減された帯域幅が利用される場合であっても適切に通信を実施すること。
【解決手段】本開示の一態様に係る端末は、特定の帯域幅未満の初期下りリンク帯域幅に関する第1の設定情報を受信する通信部と、前記特定の帯域幅未満の初期上りリンク帯域幅に関する第2の設定情報を前記通信部が受信する場合であって、制御リソースセット(Control Resource Set(CORESET))#0がセルのために設定される場合、物理下りリンク共有チャネルをスケジューリングするための第1の下りリンク制御情報(Downlink Control Information(DCI))フォーマットのサイズを、前記初期下りリンク帯域幅に基づいて決定する処理部と、を含む。
【選択図】図11
特許請求の範囲
【請求項1】
特定の帯域幅未満の初期下りリンク帯域幅に関する第1の設定情報を受信する通信部と、
前記特定の帯域幅未満の初期上りリンク帯域幅に関する第2の設定情報を前記通信部が受信する場合であって、制御リソースセット(Control Resource Set(CORESET))#0がセルのために設定される場合、物理下りリンク共有チャネルをスケジューリングするための第1の下りリンク制御情報(Downlink Control Information(DCI))フォーマットのサイズを、前記初期下りリンク帯域幅に基づいて決定する処理部と、を含む端末。
続きを表示(約 1,200 文字)
【請求項2】
前記処理部は、前記第2の設定情報を前記通信部が受信する場合、物理上りリンク共有チャネルをスケジューリングするための第2のDCIフォーマットのサイズを、前記初期上りリンク帯域幅に基づいて決定する請求項1に記載の端末。
【請求項3】
前記処理部は、決定された前記第1のDCIフォーマットのサイズと、決定された前記第2のDCIフォーマットのサイズと、に基づいて、サイズが同じになるように前記第1のDCIフォーマット又は前記第2のDCIフォーマットを調整する請求項2に記載の端末。
【請求項4】
前記CORESET#0のサイズが前記初期下りリンク帯域幅のサイズ及び/又は前記初期上りリンク帯域幅のサイズよりも大きい場合に、前記第1のDCIフォーマットのサイズを、前記初期下りリンク帯域幅に基づいて決定する請求項1から請求項3のいずれかに記載の端末。
【請求項5】
前記初期下りリンク帯域幅は、データチャネル用である請求項1から請求項3のいずれかに記載の端末。
【請求項6】
前記初期上りリンク帯域幅は、データチャネル用である請求項1から請求項3のいずれかに記載の端末。
【請求項7】
前記第1のDCIフォーマットは、制御チャネル用の前記初期下りリンク帯域幅又は専用下りリンク帯域幅について設定される共通サーチスペースにおいてモニタされるDCIフォーマットである請求項1から請求項3のいずれかに記載の端末。
【請求項8】
特定の帯域幅未満の初期下りリンク帯域幅に関する第1の設定情報を送信する通信部と、
前記特定の帯域幅未満の初期上りリンク帯域幅に関する第2の設定情報を前記通信部が送信する場合であって、制御リソースセット(Control Resource Set(CORESET))#0をセルのために設定する場合、物理下りリンク共有チャネルをスケジューリングするための第1の下りリンク制御情報(Downlink Control Information(DCI))フォーマットのサイズを、前記初期下りリンク帯域幅に基づいて決定する処理部と、を含む基地局。
【請求項9】
端末において実施される通信方法であって、
特定の帯域幅未満の初期下りリンク帯域幅に関する第1の設定情報を受信することと、
前記特定の帯域幅未満の初期上りリンク帯域幅に関する第2の設定情報を通信部が受信する場合であって、制御リソースセット(Control Resource Set(CORESET))#0がセルのために設定される場合、物理下りリンク共有チャネルをスケジューリングするための第1の下りリンク制御情報(Downlink Control Information(DCI))フォーマットのサイズを、前記初期下りリンク帯域幅に基づいて決定することと、を含む通信方法。
発明の詳細な説明
【技術分野】
【0001】
本開示は、移動通信システムにおける端末、基地局、及び通信方法に関する。
続きを表示(約 2,600 文字)
【背景技術】
【0002】
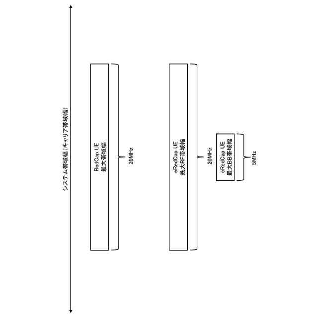
移動通信システムの標準化プロジェクトである3rd Generation Partnership Project(3GPP(登録商標))におけるNew Radio(NR)技術仕様のリリース17(Rel.17)において、産業用センサ、監視カメラ、及びウェアラブル等のユースケースに適した低性能の通信装置(UE:User Equipment)のタイプが導入されている。このような端末タイプ(「UEタイプ」とも称する)は、「低減された能力(Reduced Capablity(RedCap)) UE」とも称される。
【0003】
3GPP NR技術仕様のリリース18において、RedCap UEよりもさらに複雑さが軽減された新たな端末タイプを導入することが検討されている。このような新たな端末タイプは、リリース17で導入されたRedCap UEと、LTE(Long Term Evolution)のLPWA(Low Power Wide Area)との間の性能であることが想定されている。このような新たな端末タイプは、「eRedCap(enhanced RedCap) UE」と称されてもよい。
【0004】
eRedCap UEについては、(a)FR1(Frequency Range 1)における対応可能な周波数帯域幅を所定帯域幅(例えば、5MHz)に低減すること、及び、(b)ピークデータレートを削減するためにFR1におけるデータチャネルに対する周波数帯域幅を所定帯域幅に低減することが提案されている(例えば、非特許文献1から4参照)。ここでデータチャネルとは、データを伝送する物理チャネル、すなわち、物理下りリンク共有チャネル(PDSCH:Physical Downlink Shared Channel)及び/又は物理上りリンク共有チャネル(PUSCH:Physical Uplink Shared Channel)をいう。なお、周波数帯域幅は単に「帯域幅」とも称される。
【0005】
上記(a)の方法では、UEのRF(Radio Frequency)部及びBB(Base Band)部の両方について対応可能な帯域幅(すなわち、最大帯域幅)を低減し、RF部及びBB部の複雑さを軽減することが可能である。一方、上記(b)の方法では、主にUEのBB部について対応可能な帯域幅を低減し、BB部の複雑さを軽減することが可能である。また、上記(b)の方法では、PDSCH及び/又はPUSCH以外の物理チャネル構成について技術仕様の変更を小さくすることが可能である。
【先行技術文献】
【非特許文献】
【0006】
3GPP TSG RAN WG1 Meeting #109-e, R1-2205043, May 9th - May 20th, 2022, “Further complexity reduction for eRedCap device”
3GPP TSG RAN WG1 Meeting #110, R1-2205739, 22nd - 26th August 2022, “Potential solutions for further RedCap UE complexity reduction”
3GPP TSG RAN WG1 Meeting #110, R1-2206836, 22nd - 26th August 2022, “Further UE complexity reduction for eRedCap”
3GPP TSG RAN WG1 Meeting #110, R1-2207243, 22nd - 26th August 2022, “Further complexity reduction for eRedCap device”
【発明の概要】
【発明が解決しようとする課題】
【0007】
しかしながら、eRedCap UEが、RedCap UEよりも低減された帯域幅を利用する場合に、既存のRel.17 NRまでの3GPP規格に従うと、通信スループットが低下するおそれがある。
【0008】
そこで、本開示は、RedCap UEよりも低減された帯域幅が利用される場合であっても適切に通信を実施できる端末、基地局、及び通信方法を提供することを目的の1つとする。
【課題を解決するための手段】
【0009】
本開示の一態様に係る端末は、特定の帯域幅未満の初期下りリンク帯域幅に関する第1の設定情報を受信する通信部と、前記特定の帯域幅未満の初期上りリンク帯域幅に関する第2の設定情報を前記通信部が受信する場合であって、制御リソースセット(Control Resource Set(CORESET))#0がセルのために設定される場合、物理下りリンク共有チャネルをスケジューリングするための第1の下りリンク制御情報(Downlink Control Information(DCI))フォーマットのサイズを、前記初期下りリンク帯域幅に基づいて決定する処理部と、を含む。
【0010】
本開示の一態様に係る基地局は、特定の帯域幅未満の初期下りリンク帯域幅に関する第1の設定情報を送信する通信部と、前記特定の帯域幅未満の初期上りリンク帯域幅に関する第2の設定情報を前記通信部が送信する場合であって、制御リソースセット(Control Resource Set(CORESET))#0をセルのために設定する場合、物理下りリンク共有チャネルをスケジューリングするための第1の下りリンク制御情報(Downlink Control Information(DCI))フォーマットのサイズを、前記初期下りリンク帯域幅に基づいて決定する処理部と、を含む。
(【0011】以降は省略されています)
この特許をJ-PlatPat(特許庁公式サイト)で参照する
関連特許
株式会社デンソーウェーブ
筐体
1か月前
株式会社デンソー
分離体
1日前
株式会社デンソー
電動弁
15日前
株式会社デンソー
回転機
1か月前
株式会社デンソー
撮像装置
14日前
株式会社デンソー
電子装置
1か月前
株式会社デンソー
制御装置
17日前
株式会社デンソー
電子装置
25日前
株式会社デンソー
反力装置
1か月前
株式会社デンソー
電子装置
1か月前
株式会社デンソー
電解装置
16日前
株式会社デンソー
光学部材
1日前
株式会社デンソー
光学部材
1日前
株式会社デンソー
電子装置
15日前
株式会社デンソー
検出装置
1か月前
株式会社デンソー
ステータ
1か月前
株式会社デンソー
電気回路
9日前
株式会社デンソー
ステータ
1か月前
株式会社デンソー
熱交換器
14日前
株式会社デンソー
摺動機構
14日前
株式会社デンソー
撮像装置
14日前
株式会社デンソー
摺動機構
14日前
株式会社デンソー
センサ装置
22日前
株式会社デンソー
熱交換部材
16日前
株式会社デンソー
半導体装置
16日前
株式会社デンソー
半導体装置
14日前
株式会社デンソー
センサ装置
22日前
株式会社デンソー
ヒータ装置
23日前
株式会社デンソー
半導体装置
1日前
株式会社デンソー
レーダ装置
1か月前
株式会社デンソー
農業用装置
1か月前
株式会社デンソー
電流センサ
1か月前
株式会社デンソー
半導体装置
1か月前
株式会社デンソー
熱交換装置
29日前
株式会社デンソートリム
鞍乗り車両
23日前
株式会社デンソー
半導体装置
24日前
続きを見る
他の特許を見る