TOP
|
特許
|
意匠
|
商標
特許ウォッチ
Twitter
他の特許を見る
10個以上の画像は省略されています。
公開番号
2025157819
公報種別
公開特許公報(A)
公開日
2025-10-16
出願番号
2024060078
出願日
2024-04-03
発明の名称
筐体
出願人
株式会社デンソーウェーブ
代理人
弁理士法人明成国際特許事務所
主分類
H05K
5/02 20060101AFI20251008BHJP(他に分類されない電気技術)
要約
【課題】ケーブルを伝って流れる水が筐体の内部に侵入することを抑制する。
【解決手段】壁面に固定される筐体は、壁面を向く背面を有する背面部材を備える。背面部材は、背面に設けられており、筐体の内部から筐体の外部に延びるケーブルが収納される収納溝と、収納溝の側壁面から突き出しており、収納溝に収納されているケーブルに接触するリブと、背面に収納溝に連通するように設けられており、リブに付着した水が流れる排水溝と、を有する。
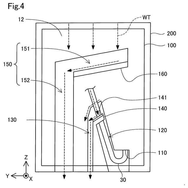
【選択図】図4
特許請求の範囲
【請求項1】
壁面に固定される筐体であって、
前記壁面を向く背面を有する背面部材を備え、
前記背面部材は、
前記背面に設けられており、前記筐体の内部から前記筐体の外部に延びるケーブルが収納される収納溝と、
前記収納溝の側壁面から突き出しており、前記収納溝に収納されている前記ケーブルに接触するリブと、
前記背面に前記収納溝に連通するように設けられており、前記リブに付着した水が流れる排水溝と、
を有する、筐体。
続きを表示(約 390 文字)
【請求項2】
請求項1に記載の筐体であって、
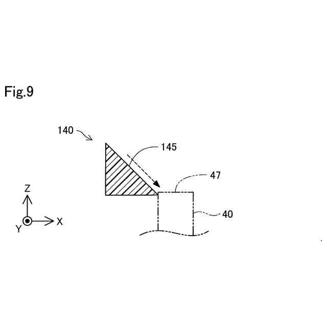
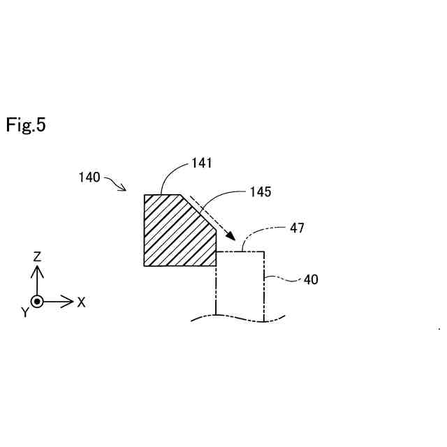
前記リブの上面は、前記排水溝に近付くほど位置が低くなるように傾斜している、筐体。
【請求項3】
請求項1に記載の筐体であって、
前記筐体は、固定部材を介して前記壁面に固定され、
前記リブは、前記固定部材に接触する、筐体。
【請求項4】
請求項3に記載の筐体であって、
前記リブは、前記固定部材に近付くほど位置が低くなるように傾斜する傾斜面を有する、筐体。
【請求項5】
請求項4に記載の筐体であって、
前記固定部材は、前記ケーブルが通る開口部を有し、
前記開口部の下縁部は、前記背面に垂直に視たときに前記リブに重なる部分と前記排水溝に重なる部分とを有し、前記リブから前記排水溝に近付くほど位置が低くなるように傾斜している、筐体。
発明の詳細な説明
【技術分野】
【0001】
本開示は、筐体に関する。
続きを表示(約 2,100 文字)
【背景技術】
【0002】
水を下方に誘導する溝が設けられた筐体が知られている(例えば、特許文献1)。
【先行技術文献】
【特許文献】
【0003】
特開2018-084390号公報
【発明の概要】
【発明が解決しようとする課題】
【0004】
筐体に導入されている電線や光ファイバなどのケーブルに付着した水が、ケーブルを伝って筐体の内部に侵入する可能性がある。
【課題を解決するための手段】
【0005】
本開示は、以下の形態として実現することが可能である。
【0006】
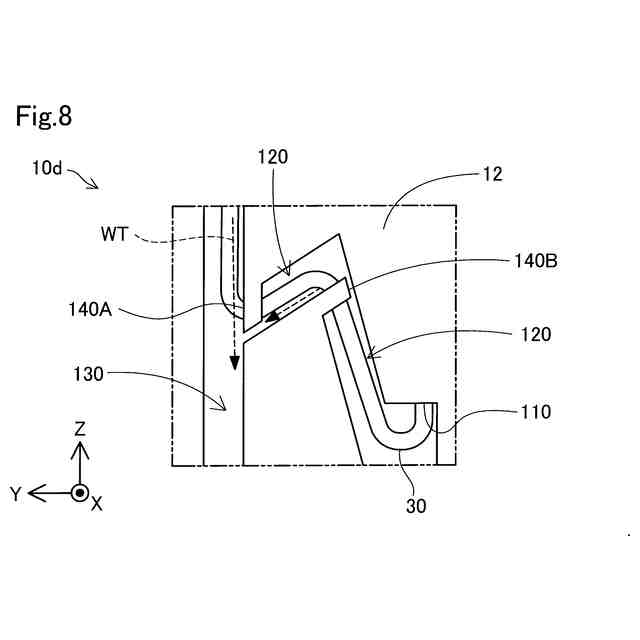
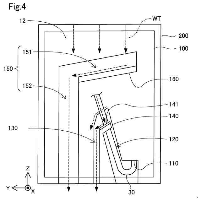
(1)本開示の一形態によれば、壁面に固定される筐体が提供される。この筐体は、前記壁面を向く背面を有する背面部材を備える。前記背面部材は、前記背面に設けられており、前記筐体の内部から前記筐体の外部に延びるケーブルが収納される収納溝と、前記収納溝の側壁面から突き出しており、前記収納溝に収納されている前記ケーブルに接触するリブと、前記背面に前記収納溝に連通するように設けられており、前記リブに付着した水が流れる排水溝と、を有する。
この形態の筐体によれば、ケーブルを伝って流れる水をリブで堰き止めて、排水溝から排出することができる。したがって、水がケーブルを伝って筐体の内部に侵入することを抑制することができる。
(2)上記形態の筐体において、前記リブの上面は、前記排水溝に近付くほど位置が低くなるように傾斜してもよい。
この形態の筐体によれば、水を排水溝に誘導することができる。したがって、水がケーブルを伝って筐体の内部に侵入することを抑制することができる。
(3)上記形態の筐体は、前記筐体は、固定部材を介して前記壁面に固定され、前記リブは、前記固定部材に接触してもよい。
この形態の筐体によれば、リブで堰き止めた水を固定部材に流すことができる。したがって、水がケーブルを伝って筐体の内部に侵入することを抑制することができる。
(4)上記形態の筐体において、前記リブは、前記固定部材に近付くほど位置が低くなるように傾斜する傾斜面を有してもよい。
この形態の筐体によれば、水を固定部材に誘導することができる。したがって、水がケーブルを伝って筐体の内部に侵入することを抑制することができる。
(5)上記形態の筐体において、前記固定部材は、前記ケーブルが通る開口部を有し、前記開口部の下縁部は、前記背面に垂直に視たときに前記リブに重なる部分と前記排水溝に重なる部分とを有し、前記リブから前記排水溝に近付くほど位置が低くなるように傾斜してもよい。
この形態の筐体によれば、リブで堰き止めた水を固定部材の開口部の下縁部を介して排水溝に誘導することができる。
本開示は、筐体以外の種々の形態で実現することも可能である。例えば、電子機器等の形態で実現することができる。
【図面の簡単な説明】
【0007】
第1実施形態の電子機器の斜視図。
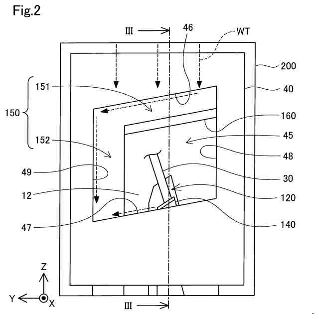
第1実施形態の電子機器の背面図。
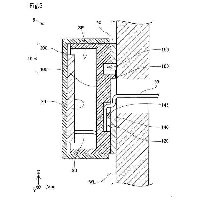
図2におけるIII-III線断面図。
第1実施形態の筐体の背面図。
第1実施形態の第1リブの断面図。
第2実施形態の筐体の断面図。
第3実施形態の筐体の断面図。
第4実施形態の筐体の断面図。
他の実施形態の第1リブの断面図。
【発明を実施するための形態】
【0008】
A.第1実施形態:
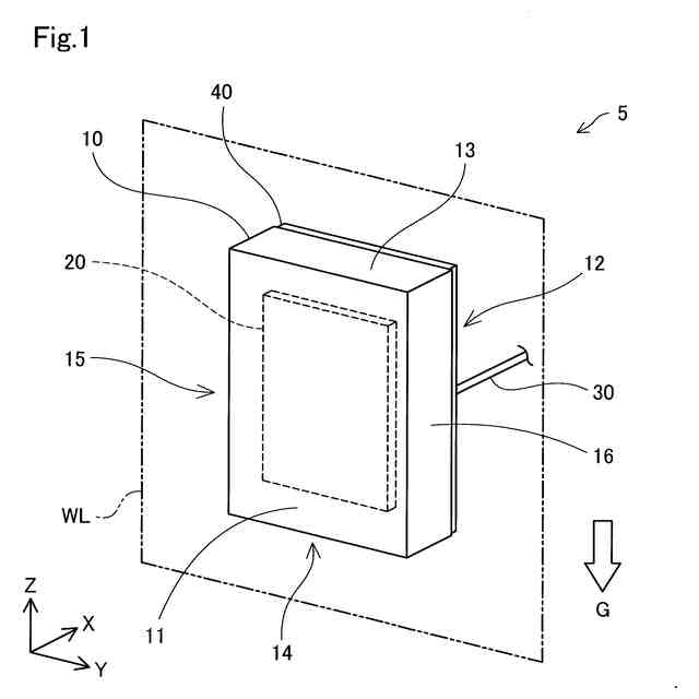
図1は、第1実施形態における筐体10を備える電子機器5の斜視図である。図2は、電子機器5の背面図である。図3は、図2におけるIII-III線断面図である。図1に示すように、電子機器5は、筐体10と、回路基板20と、ケーブル30と、固定部材40とを備えている。電子機器5は、例えば、インターフォンやICカード式電気錠用カードリーダなどのセキュリティ機器であり、屋外の壁面WLに筐体10が固定された状態で用いられる。
【0009】
筐体10は、直方体状に構成されている。筐体10は、正面11と、背面12と、上面13と、底面14と、左側面15と、右側面16とを有している。筐体10は、背面12が壁面WLを向き、かつ、底面14が重力方向Gを向くように、壁面WLに固定されている。本実施形態では、筐体10は、固定部材40を介して壁面WLに固定されている。本開示において、筐体10が壁面WLに固定されていることには、筐体10が壁面WLに直接固定されていることだけではなく、筐体10が固定部材40を介して壁面WLに固定されていることが含まれる。
【0010】
図1には、互いに直交するX,Y,Z軸を示す矢印が図示されている。X軸およびY軸は、水平面に平行な軸であり、Z軸は、重力方向Gに平行な軸である。X,Y,Z軸を示す矢印は、他の図においても、矢印の指し示す方向が図1と対応するように適宜、図示してある。
(【0011】以降は省略されています)
この特許をJ-PlatPat(特許庁公式サイト)で参照する
関連特許
個人
電子部品の実装方法
17日前
愛知電機株式会社
装柱金具
9日前
個人
電気式バーナー
1日前
イビデン株式会社
配線基板
10日前
サクサ株式会社
開き角度規制構造
8日前
株式会社レクザム
剥離装置
9日前
株式会社デンソー
電子装置
10日前
FDK株式会社
基板
16日前
株式会社レゾナック
冷却装置
16日前
オムロン株式会社
端子折り曲げ治具
19日前
富士フイルム株式会社
積層体
10日前
富士電子工業株式会社
誘導加熱コイル
11日前
富士電子工業株式会社
誘導加熱コイル
11日前
日本特殊陶業株式会社
セラミックヒータ
16日前
東芝ライテック株式会社
照明装置
10日前
日本特殊陶業株式会社
セラミックヒータ
16日前
日本特殊陶業株式会社
セラミックヒータ
19日前
センスネットシステム株式会社
回路基板
10日前
東芝ライテック株式会社
照明装置
15日前
矢崎総業株式会社
箱状体
10日前
矢崎総業株式会社
箱状体
10日前
マクセルイズミ株式会社
誘導加熱調理装置
1日前
マクセルイズミ株式会社
誘導加熱調理装置
1日前
イビデン株式会社
プリント配線板の製造方法
10日前
イビデン株式会社
プリント配線板の製造方法
10日前
イビデン株式会社
プリント配線板の製造方法
10日前
リンナイ株式会社
加熱調理装置
19日前
株式会社遠藤照明
電源、照明装置及び照明システム
2日前
東芝ライテック株式会社
照明システム
10日前
富士通株式会社
基板及びこれを備えた電子装置
11日前
コイト電工株式会社
情報処理装置
9日前
株式会社東芝
熱輸送装置及び蓄電池装置
9日前
ジヤトコ株式会社
治具
15日前
フクシマガリレイ株式会社
電磁誘導加熱調理器
19日前
日本電気株式会社
ラインカード及びイジェクタ
1日前
Astemo株式会社
電子制御装置
8日前
続きを見る
他の特許を見る