TOP
|
特許
|
意匠
|
商標
特許ウォッチ
Twitter
他の特許を見る
公開番号
2025143752
公報種別
公開特許公報(A)
公開日
2025-10-02
出願番号
2024043162
出願日
2024-03-19
発明の名称
基板
出願人
FDK株式会社
代理人
個人
,
個人
,
個人
主分類
H05K
1/02 20060101AFI20250925BHJP(他に分類されない電気技術)
要約
【課題】切り欠き部に配置する配線基板に傷が付いて断線することを防止することができる技術を提供する。
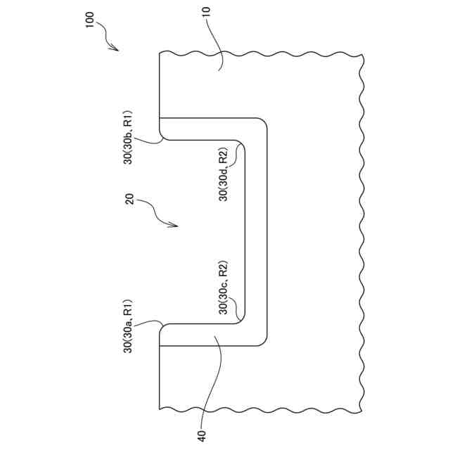
【解決手段】基板100は、基板本体10と、基板本体10に形成され、配線部材が配置される切り欠き部20と、切り欠き部20の角部に形成された面取り部30と、面取り部30を含む切り欠き部20の端面に形成されたメッキ部40と、を備えている。基板本体10の切り欠き部20に面取り部30(R面)を形成したうえで、メッキ部40を形成して配線部材を保護することにより、配線部材に対するダメージを防止することができる。
【選択図】図1
特許請求の範囲
【請求項1】
基板本体と、
前記基板本体に形成され、配線部材が配置される切り欠き部と、
前記切り欠き部の角部に形成された面取り部と、
前記面取り部を含む前記切り欠き部の端面に形成されたメッキ部と、
を備える基板。
続きを表示(約 530 文字)
【請求項2】
請求項1に記載の基板において、
前記切り欠き部は、平面視で四角形状であり、
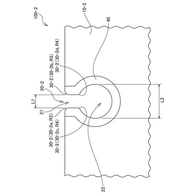
前記面取り部は、前記四角形状の4隅に形成されていることを特徴とする基板。
【請求項3】
請求項1に記載の基板において、
前記切り欠き部は、平面視で四角形状と円形状とを結合した形状であり、
前記面取り部は、前記四角形状の4隅に形成されていることを特徴とする基板。
【請求項4】
請求項3に記載の基板において、
前記基板本体の外側の前記面取り部は、前記基板本体の内側の前記面取り部よりも曲線の半径が大きいことを特徴とする基板。
【請求項5】
請求項3に記載の基板において、
前記四角形状の部分は、前記配線部材を出し入れするための第1領域であり、
前記円形状の部分は、前記配線部材を配置するための第2領域であり、
前記第1領域の幅は、前記第2領域の幅よりも狭いことを特徴とする基板。
【請求項6】
請求項1に記載の基板において、
前記メッキ部は、前記基板本体の表面と側面と裏面とに跨って形成されていることを特徴とする基板。
発明の詳細な説明
【技術分野】
【0001】
本発明は、基板に関する。
続きを表示(約 1,000 文字)
【背景技術】
【0002】
特許文献1は、断線を防止するためのホルダを用意し、ホルダを面取りして電線を保護する技術を開示している。
【先行技術文献】
【特許文献】
【0003】
実開昭57-151874号公報
【発明の概要】
【発明が解決しようとする課題】
【0004】
基板に切り欠き部を形成し、その切り欠き部に配線部材を配置しようとする場合、切り欠き部の角に配線部材が接触し、配線基板に傷が付いて断線する可能性がある。
【0005】
そこで、本発明は、切り欠き部に配置する配線基板に傷が付いて断線することを防止することができる技術を提供することを課題とする。
【課題を解決するための手段】
【0006】
本発明は、以下の解決手段を採用する。なお、以下の解決手段はあくまで例示であり、本発明はこれに限定されるものではない。また、本発明は、以下の解決手段に示す各発明特定事項を少なくとも1つ含む発明とすることができる。さらに、以下の解決手段に示す各発明特定事項には、発明特定事項を限定する要素を追加して下位概念化することができ、発明特定事項を限定する要素を削除して上位概念化することもできる。
【0007】
解決手段の基板は、例えば、基板本体と、前記基板本体に形成され、配線部材が配置される切り欠き部と、前記切り欠き部の角部に形成された面取り部と、前記面取り部を含む前記切り欠き部の端面に形成されたメッキ部と、を備える基板である。
【発明の効果】
【0008】
本発明によれば、切り欠き部に配置する配線基板に傷が付いて断線することを防止することができる。
【図面の簡単な説明】
【0009】
第1実施形態の基板100を示す図である。
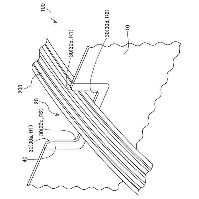
第1実施形態の基板100の使用状態を示す図である。
第2実施形態の基板100-2を示す図である。
第2実施形態の基板100-2の使用状態を示す図である。
比較例の基板100Aを示す図である。
【発明を実施するための形態】
【0010】
以下、本発明の実施形態について、図面を参照しながら説明する。なお、以下の各実施形態は、基板の好適な一例として示すものであり、実施形態はこの例示に限定されない。
(【0011】以降は省略されています)
この特許をJ-PlatPat(特許庁公式サイト)で参照する
関連特許
個人
電気式バーナー
1か月前
日星電気株式会社
面状ヒータ
4日前
個人
静電気中和除去装置
19日前
株式会社デンソー
電子装置
12日前
株式会社レクザム
剥離装置
1か月前
シャープ株式会社
加熱機器
25日前
サクサ株式会社
開き角度規制構造
1か月前
株式会社デンソー
電子制御装置
11日前
矢崎総業株式会社
箱状体
14日前
矢崎総業株式会社
箱状体
14日前
矢崎総業株式会社
箱状体
14日前
象印マホービン株式会社
電子レンジ
27日前
マクセルイズミ株式会社
誘導加熱調理装置
1か月前
マクセルイズミ株式会社
誘導加熱調理装置
1か月前
東レ株式会社
電子部品の製造方法および樹脂組成物
13日前
株式会社SUBARU
電波吸収体の製造方法
4日前
株式会社遠藤照明
電源、照明装置及び照明システム
1か月前
日本電気株式会社
ラインカード及びイジェクタ
1か月前
矢崎総業株式会社
バスバ配置構造
1か月前
Astemo株式会社
電子制御装置
1か月前
矢崎総業株式会社
バスバ配置構造
20日前
コイト電工株式会社
情報処理装置
1か月前
株式会社東芝
電子装置
1か月前
日本放送協会
接続用配線基板
20日前
矢崎総業株式会社
ワイヤーハーネス
14日前
京セラ株式会社
配線基板
25日前
三菱電機株式会社
電子機器
1か月前
京セラ株式会社
配線基板
25日前
イビデン株式会社
コア基板及びその製造方法
19日前
矢崎総業株式会社
バスバー
1か月前
キヤノン株式会社
電子機器
11日前
大日本印刷株式会社
除電装置
21日前
アドバンテック株式会社
基板収容ケース
19日前
日東電工株式会社
配線回路基板
1か月前
大和ハウス工業株式会社
概日リズム補正システム
1か月前
信越ポリマー株式会社
配線基板及びその製造方法
22日前
続きを見る
他の特許を見る