TOP
|
特許
|
意匠
|
商標
特許ウォッチ
Twitter
他の特許を見る
公開番号
2025159996
公報種別
公開特許公報(A)
公開日
2025-10-22
出願番号
2024062928
出願日
2024-04-09
発明の名称
故障判定装置およびプログラム
出願人
FDK株式会社
代理人
弁理士法人鷲田国際特許事務所
主分類
H02J
7/00 20060101AFI20251015BHJP(電力の発電,変換,配電)
要約
【課題】整流器の故障を正確に判定することが可能な故障判定装置およびプログラムを提供する。
【解決手段】故障判定装置は、電池ユニットを充電するための電力を供給する整流器の故障判定装置であって、規定期間の間、電池ユニットの入出力部において停電電圧の検出回数をカウントするカウント部と、停電電圧の検出回数に基づいて、整流器の故障の有無を判定する故障判定部と、を備える。
【選択図】図2
特許請求の範囲
【請求項1】
電池ユニットを充電するための電力を供給する整流器の故障判定装置であって、
規定期間の間、前記電池ユニットの入出力部において停電電圧の検出回数をカウントするカウント部と、
前記停電電圧の検出回数に基づいて、前記整流器の故障の有無を判定する故障判定部と、
を備える故障判定装置。
続きを表示(約 1,000 文字)
【請求項2】
前記カウント部は、前記整流器が前記電池ユニットに充電可能状態である際に前記入出力部の電圧が停電検知電圧値以下になった場合、前記停電電圧の検出をカウントし、
前記故障判定部は、前記停電電圧の検出回数が所定回数以上になった場合、前記整流器が故障していると判定する、
請求項1に記載の故障判定装置。
【請求項3】
前記カウント部が前記停電電圧をカウントしたタイミングで、前記電池ユニットを放電する充放電制御部と、
前記電池ユニットの放電開始から一定時間経過後、前記電池ユニットの充電を再開する再開判定部と、
をさらに備え、
前記カウント部は、前記電池ユニットの放電中において、前記停電電圧のカウントを中断する、
請求項1に記載の故障判定装置。
【請求項4】
前記故障判定部は、前記停電電圧の検出回数に関わらず、前記電池ユニットの放電時間の総和が所定時間以上である場合、前記整流器が故障していると判定する、
請求項3に記載の故障判定装置。
【請求項5】
前記再開判定部は、前記電池ユニットの放電開始から一定時間経過後、前記電池ユニットの入出力部の検出電圧に基づいて、前記電池ユニットの充電を再開するか否かについて判定し、
前記充放電制御部は、前記電池ユニットの充電を再開しないと判定された場合、前記電池ユニットの放電を継続する、
請求項3に記載の故障判定装置。
【請求項6】
前記整流器が故障していると判定された場合、前記整流器の故障を報知する報知部をさらに備える、
請求項1に記載の故障判定装置。
【請求項7】
前記カウント部は、前記規定期間の間、前記整流器が故障していると判定されなかった場合、前記検出回数をリセットする、
請求項1に記載の故障判定装置。
【請求項8】
電池ユニットを充電するための電力を供給する整流器の故障判定を行うプログラムであって、
コンピューターに、
規定期間の間、前記電池ユニットの入出力部において停電電圧の検出回数をカウントする処理と、
前記停電電圧の検出回数に基づいて、前記整流器の故障の有無を判定する処理と、
を実行させるプログラム。
発明の詳細な説明
【技術分野】
【0001】
本開示は、故障判定装置およびプログラムに関する。
続きを表示(約 1,300 文字)
【背景技術】
【0002】
従来、電力で動作可能な装置には、充電可能な電池を含む電池ユニットがバックアップ用の電源として設けられることが知られている(例えば特許文献1参照)。このような電池ユニットは、例えば、負荷ラインに接続された整流器から電池ユニットに電力が供給されることで充電される。
【先行技術文献】
【特許文献】
【0003】
特開2007-178401号公報
【発明の概要】
【発明が解決しようとする課題】
【0004】
しかしながら、整流器に故障(例えば、内部コンデンサの劣化)が発生すると、負荷ラインの負荷の容量成分が不足し、充電時において電池ユニットの入力部分において発振が発生するおそれがあった。
【0005】
この発振の発生により、電池ユニットでは、停電が検知されて電池ユニットの放電が行われるので、電池ユニットの容量が少なくなり、停電発生時にバックアップができなくなる。この問題は、整流器を交換することで解決できるが、整流器の交換のタイミングが不明であるので、整流器の故障を正確に判定可能な装置が望まれる。
【0006】
本開示の目的は、整流器の故障を正確に判定することが可能な故障判定装置およびプログラムを提供することである。
【課題を解決するための手段】
【0007】
本開示に係る故障判定装置は、
電池ユニットを充電するための電力を供給する整流器の故障判定装置であって、
規定期間の間、前記電池ユニットの入出力部において停電電圧の検出回数をカウントするカウント部と、
前記停電電圧の検出回数に基づいて、前記整流器の故障の有無を判定する故障判定部と、
を備える。
【0008】
本開示に係るプログラムは、
電池ユニットを充電するための電力を供給する整流器の故障判定を行うプログラムであって、
コンピューターに、
規定期間の間、前記電池ユニットの入出力部において停電電圧の検出回数をカウントする処理と、
前記停電電圧の検出回数に基づいて、前記整流器の故障の有無を判定する処理と、
を実行させる。
【発明の効果】
【0009】
本開示によれば、整流器の故障を正確に判定することができる。
【図面の簡単な説明】
【0010】
本実施の形態に係る故障判定装置を適用したバックアップシステムを示す図である。
制御部の構成を示すブロック図である。
停電が発生したときの入力電圧の時間変化を示す図である。
整流器の故障に起因する入力電圧の時間変化を示す図である。
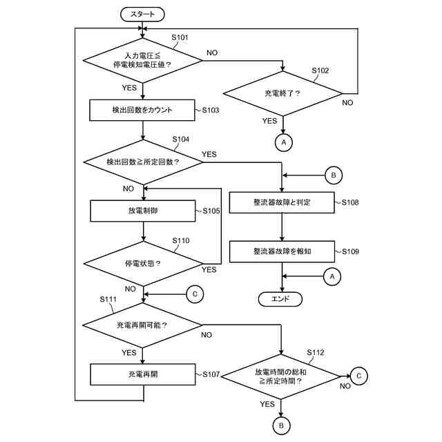
バックアップシステムにおける故障判定制御の動作例を示すフローチャートである。
整流器の故障に起因する入力電圧の時間変化を示す図である。
バックアップシステムにおける故障判定制御の動作例を示すフローチャートである。
【発明を実施するための形態】
(【0011】以降は省略されています)
この特許をJ-PlatPat(特許庁公式サイト)で参照する
関連特許
FDK株式会社
電池
18日前
FDK株式会社
電池
1か月前
FDK株式会社
基板
2か月前
FDK株式会社
圧着端子
2か月前
FDK株式会社
全固体電池
2か月前
FDK株式会社
容量計測装置
1か月前
FDK株式会社
リチウム電池
2か月前
FDK株式会社
アルカリ蓄電池
3日前
FDK株式会社
電池製造方法および電池
3日前
FDK株式会社
組電池及びその作製方法
28日前
FDK株式会社
全固体電池及びその製造方法
2か月前
FDK株式会社
故障判定装置およびプログラム
1か月前
個人
高圧電気機器の開閉器
19日前
個人
電気を重力で発電装置
1か月前
キヤノン電子株式会社
モータ
1か月前
キヤノン電子株式会社
モータ
1か月前
コーセル株式会社
電源装置
1か月前
日星電気株式会社
ケーブル組立体
1か月前
株式会社アイドゥス企画
減反モータ
19日前
トヨタ自動車株式会社
モータ
1か月前
株式会社デンソー
端子台
12日前
株式会社デンソー
回転電機
3日前
株式会社ダイヘン
送配電装置
3日前
個人
二次電池繰返パルス放電器用印刷基板
1か月前
富士電機株式会社
電力変換装置
3日前
株式会社デンソー
電力変換装置
1か月前
本田技研工業株式会社
回転電機
5日前
ローム株式会社
半導体集積回路
10日前
株式会社不二越
空冷式油圧装置
3日前
富士電機株式会社
電力変換装置
3日前
株式会社デンソー
非接触受電装置
1か月前
矢崎総業株式会社
電源回路
18日前
株式会社TMEIC
制御装置
11日前
株式会社日立製作所
回転電機
10日前
矢崎総業株式会社
給電装置
11日前
トヨタ自動車株式会社
固定子の加熱装置
1か月前
続きを見る
他の特許を見る