TOP
|
特許
|
意匠
|
商標
特許ウォッチ
Twitter
他の特許を見る
公開番号
2025161679
公報種別
公開特許公報(A)
公開日
2025-10-24
出願番号
2024074563
出願日
2024-04-12
発明の名称
二次電池繰返パルス放電器用印刷基板
出願人
個人
代理人
主分類
H02J
7/00 20060101AFI20251017BHJP(電力の発電,変換,配電)
要約
【課題】二次電池電圧測定の際,冷却シロッコファンの駆動電源とマイクロコントローラモジュールの電源と共用した場合,冷却シロッコファンより派生したノイズがマイクロコントローラモジュールのADC参照電圧に重畳する影響をなくしたい。
【解決手段】GNDPWRも含めてシロッコファン駆動回路をジャンパSWにより遮断し別電源から供給する。
【選択図】図1
特許請求の範囲
【請求項1】
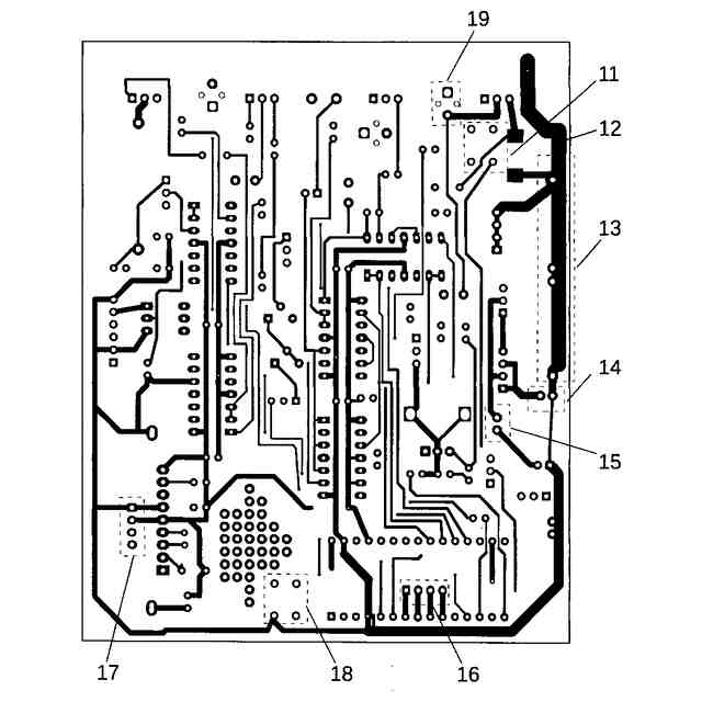
シロッコファン駆動電源と電子回路電源との共用あるいは分離可能とするファンジャンパSW[GNDPWR](14)とファンジャンパSW[12V](15)を設置した二次電池繰返パルス放電器用印刷基板
続きを表示(約 610 文字)
【請求項2】
印刷配線部GNDPWR(12)とミノ虫クリップ引掛けジャンパワイヤを平行配置し,GNDPWRのインピーダンス低下を兼ね備えたGNDPWR併設ジャンパワイヤ取付部(13)を有する二次電池繰返パルス放電器用印刷基板
【請求項3】
前項ジャンパワイヤを撚電線にした場合,ワイヤ穴を増設しワイヤ長を多分割短縮した二次電池繰返パルス放電器用印刷基板
【請求項4】
正極リード線取付部(19)によりリード線屈曲部に繰返曲げ疲労耐性を持たせた二次電池繰返パルス放電器用印刷基板
【請求項5】
本基板を組み込んだ装置の厚み方向を手ではさみ親指によりタクタイルSWを押下する際,左利きに配慮し当該SWの取付穴を別途左側に(18)を併設した二次電池繰返パルス放電器用印刷基板
【請求項6】
標準LCDの代替として汎用コネクタを有する外付けLCDを使用する際,標準LCDの表示部が占有する領域に外付けLCDのコネクタの設置穴(17)を併設した二次電池繰返パルス放電器用印刷基板
【請求項7】
空きDIO端子を活用して制御プログラムを拡張する際,当該端子とパターン配線接続したコネクタ穴(16)をコントローラモジュールが占有する範囲内に設置し,裏面にコネクタ取り付け基板面積の省スペース化をはかった二次電池繰返パルス放電器用印刷基板
発明の詳細な説明
【技術分野】
【0001】
本発明はマイクロコントローラモジュールにより時間制御されたアナログSW及びOPアンプにより電流制御されたFETを用いて繰返パルス電流負荷を二次電池に印加し,その電圧低下をADCにより測定する。主たる目的は商用二次電池および研究試作二次電池のための繰返パルス負荷耐久加速試験である。連続負荷として使用すると,従来の電子負荷装置にもなる。
続きを表示(約 820 文字)
【背景技術】
【0002】
印刷基板を用いると複数の試験対象回路配線も簡単に実現できる。印刷基板製造は少量生産の場合,イニシャルコストがネックであったが中国企業間の受託競争の結果,日本の零細企業でも発注できるようになった。またオープンソースのCADを用いて4層基板の設計も可能である。本発明の設計は同種のKiCadを用いた(https://www.kicad.org/)。
【0003】
ホビイストとか研究者が用いるマイクロコントローラモジュールにArduino Nanoがある。Arduinoはライブラリが充実し広く普及している。Arduino NanoはArduino SRL社(イタリア)の登録商標である。
【0004】
パーソナルコンピュータ等に用いられる冷却目的のシロッコファンは電気的にはDCファンと同様の回転器で駆動電圧は12Vもしくは5Vが主流である。
【0005】
当該ファンの駆動回路はファン自体に内蔵され,励磁電流をオンオフする。
【0006】
二次電池研究開発に従事する研究者はミノ虫クリップ付きリード線を常用している。
【0007】
常用電子部品は通販サイトを介して入手可能である。
【0008】
Arduino Nanoはレギュレータを内蔵しており,DC12Vを外部入力するとDC5VとDC3.3Vの出力が可能である。
【0009】
ArduinoはI
2
Cに対応したLCD駆動のためのライブラリがあり,電源,GND,SCL及びSDAの4PコネクタによりLCD表示が可能である。
【先行技術文献】
【特許文献】
【0010】
特開2023-166943 二次電池繰返パルス放電器
(【0011】以降は省略されています)
この特許をJ-PlatPat(特許庁公式サイト)で参照する
関連特許
個人
電気を重力で発電装置
1か月前
個人
高圧電気機器の開閉器
20日前
キヤノン電子株式会社
モータ
1か月前
株式会社東光高岳
充電器
今日
トヨタ自動車株式会社
モータ
1か月前
株式会社アイドゥス企画
減反モータ
20日前
株式会社デンソー
端子台
13日前
株式会社デンソー
回転電機
4日前
株式会社ダイヘン
送配電装置
4日前
本田技研工業株式会社
回転電機
6日前
株式会社不二越
空冷式油圧装置
4日前
富士電機株式会社
電力変換装置
4日前
富士電機株式会社
電力変換装置
4日前
ローム株式会社
半導体集積回路
11日前
矢崎総業株式会社
電源回路
19日前
株式会社日立製作所
回転電機
11日前
矢崎総業株式会社
給電装置
12日前
株式会社東光高岳
充電対象切換システム
今日
株式会社TMEIC
制御装置
12日前
日産自動車株式会社
ロータシャフト
27日前
ローム株式会社
モータドライバ回路
27日前
トヨタ自動車株式会社
ステータの製造装置
1か月前
個人
非対称鏡像力を有する4層PWB電荷搬送体
27日前
大和ハウス工業株式会社
敷設用機器
12日前
株式会社イノコンバンク
無線給電システム
4日前
日産自動車株式会社
ロータシャフト
27日前
西芝電機株式会社
緊急切断方法及び軸発電機
今日
トヨタ自動車株式会社
可変界磁ロータ
1か月前
個人
電線盗難防止方法及び電線盗難防止装置
1か月前
株式会社TMEIC
電力変換装置
12日前
京商株式会社
模型用非接触電力供給システム
20日前
株式会社土井製作所
ケーブル保護管路
11日前
サンデン株式会社
モータ
5日前
サンデン株式会社
モータ
5日前
株式会社アイシン
電力変換装置
1か月前
本田技研工業株式会社
回転電機用ロータ
20日前
続きを見る
他の特許を見る