TOP
|
特許
|
意匠
|
商標
特許ウォッチ
Twitter
他の特許を見る
10個以上の画像は省略されています。
公開番号
2025173083
公報種別
公開特許公報(A)
公開日
2025-11-27
出願番号
2024078449
出願日
2024-05-14
発明の名称
敷設用機器
出願人
大和ハウス工業株式会社
代理人
個人
,
個人
主分類
H02G
3/22 20060101AFI20251119BHJP(電力の発電,変換,配電)
要約
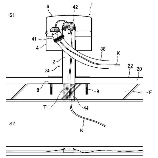
【課題】本発明は、敷設物が挿通される管体への雨水の浸入をより効果的に防止する敷設用機器を提供する。
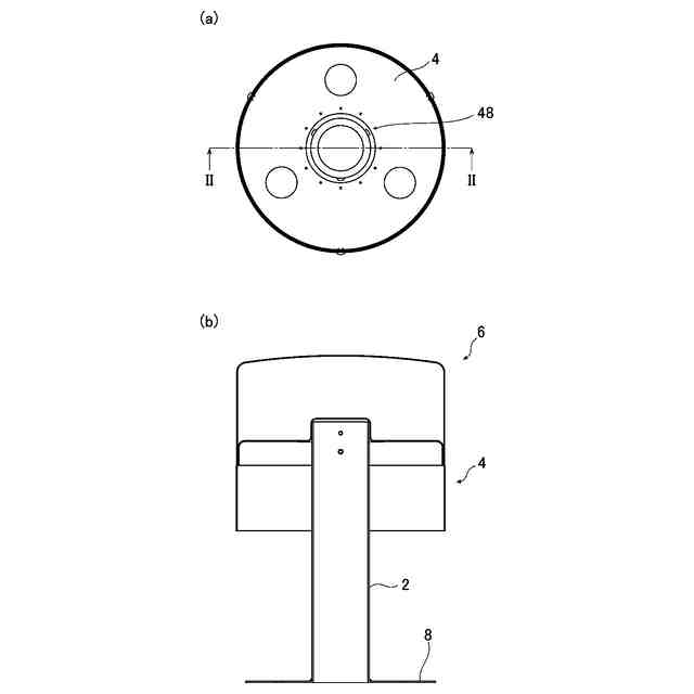
【解決手段】本発明の一つの実施形態に係る敷設用機器1は、屋根Fに設けられた貫通孔THを通じて、屋根上空間S1及び屋根下空間S2の一方から他方に亘って敷設物Kを敷設するために屋根Fに設置される敷設用機器1であって、内部が貫通孔THと連通した状態で屋根Fの上壁面から立ち上がり、敷設物Kが内部に挿通される筒状部2と、筒状部2の上端部2aに組み付けられた第1カバー部4と、第1カバー部4及び前記筒状部の上端部2aを覆う第2カバー部6と、を有し、第1カバー部4は、係合穴EHを有し、筒状部2の上端部2aを係合穴EHに挿通させた状態で上端部2aに取り付けられた上壁12と、上壁12を貫通し、敷設物Kにおいて屋根上空間S1にある部分が挿通される管体38を保持する保持孔RHと、保持孔RHよりも外側の位置で上壁12から垂下し、筒状部2を囲む筒状の外周壁14と、を有する。
【選択図】図1
特許請求の範囲
【請求項1】
屋根に設けられた貫通孔を通じて、屋根上空間及び屋根下空間の一方から他方に亘って敷設物を敷設するために前記屋根に設置される敷設用機器であって、
内部が前記貫通孔と連通した状態で前記屋根の上壁面から立ち上がり、前記敷設物が内部に挿通される筒状部と、
前記筒状部の上端部に組み付けられた第1カバー部と、
前記第1カバー部及び前記筒状部の上端部を覆う第2カバー部と、を有し、
前記第1カバー部は、
係合穴を有し、前記筒状部の上端部を前記係合穴に挿通させた状態で前記上端部に取り付けられた上壁と、
前記上壁を貫通し、前記敷設物において前記屋根上空間にある部分が挿通される管体を保持する保持孔と、
前記保持孔よりも外側の位置で前記上壁から垂下し、前記筒状部を囲む筒状の外周壁と、を有する、敷設用機器。
続きを表示(約 760 文字)
【請求項2】
前記筒状部は、前記筒状部の下端部から鍔状に張り出したベース部を有し、前記ベース部が前記屋根の上壁面に載置されることで前記屋根に固定されている、請求項1に記載の敷設用機器。
【請求項3】
前記筒状部の上端部には、前記筒状部の上端部と前記係合穴の縁との間の隙間を封止する第1封止材が取り付けられている、請求項1に記載の敷設用機器。
【請求項4】
前記第2カバー部は、筒状の胴部と、前記胴部の上端開口を封止する天井部とを有し、
前記胴部内に前記第1カバー部の前記上壁、及び前記筒状部の上端部が収容されている、請求項1に記載の敷設用機器。
【請求項5】
前記第1カバー部の外周壁は、
前記外周壁の上側部分をなす第1部分と、
前記外周壁の下側部分をなし前記第1部分よりも外径が大きい第2部分と、を有し、
前記第1部分が前記第2カバー部の胴部の内側に入り込んで前記胴部と嵌合している、請求項4に記載の敷設用機器。
【請求項6】
前記第1カバー部の外周壁は、前記第1部分と前記第2部分との間に設けられており前記外周壁の径方向に延出した段差をさらに有し、
前記第1部分の下端部には、前記胴部の内周面と前記第1部分の外周面との間の隙間を封止する第2封止材が取り付けられている、請求項5に記載の敷設用機器。
【請求項7】
前記筒状部の上端が開口端であり、
前記筒状部の上端部の内部には、前記開口端を通じて、不燃性の充填材料が充填されている、請求項1に記載の敷設用機器。
【請求項8】
前記屋根は陸屋根であり、前記敷設物は電気ケーブルである、請求項1に記載の敷設用機器。
発明の詳細な説明
【技術分野】
【0001】
本発明は、敷設用機器に係り、特に、屋根に設置される敷設用機器に関する。
続きを表示(約 2,000 文字)
【背景技術】
【0002】
太陽光発電パネルや通信設備等に用いられるケーブルや、エアコン用冷媒管等の配線・配管材等を、屋外から建物内へ引き込む際、屋根に設けられた引込機器を使用することが知られている。
例えば、特許文献1には、屋上に突出配置されて内部に建物内から屋上へと配設されるケーブル等の配設経路を有する中空筒状の筒体の突出端部に取着される取着部と、取着部から外方に張り出すように設けられるフランジ部と、を備えた基体と、筒体の突出端部を覆うとともに、フランジ部との間に筒体から引き出されたケーブル等の屈曲空間を構成する笠体と、を有した本体を備え、屈曲空間内で屈曲されたケーブル等が本体外部へ引き出される引出孔が、フランジ部の外縁および笠体の先端縁によって形成されている機器が開示されている。また、特許文献1に記載の機器において、ケーブル等を挿通する引出孔には、ケーブル等を保護し接続する保護管接続具がフランジ部の下側から取り付けられている。
【先行技術文献】
【特許文献】
【0003】
特開2017-40290号公報
【発明の概要】
【発明が解決しようとする課題】
【0004】
特許文献1に記載の機器は、フランジ部の上側は笠体により覆われているため、保護管接続具の先端部(上部)から保護管内への雨水の浸入を防止することができる。しかし、フランジ部の下側から吹き込む雨水の浸入を防止することは難しい。また、屋根が陸屋根である場合に、ルーフドレン等の詰まり等により排水不良となり、屋根に雨水が溜まってしまうと、引出孔を通じて雨水が浸入するおそれもある。
そこで、本発明は、上記の課題に鑑みて、敷設物が挿通される管体への雨水の浸入をより効果的に防止する敷設用機器を提供することを目的とする。
【課題を解決するための手段】
【0005】
上記の課題は、本発明の敷設用機器によれば、屋根に設けられた貫通孔を通じて、屋根上空間及び屋根下空間の一方から他方に亘って敷設物を敷設するために屋根に設置される敷設用機器であって、内部が貫通孔と連通した状態で屋根の上壁面から立ち上がり、敷設物が内部に挿通される筒状部と、筒状部の上端部に組み付けられた第1カバー部と、第1カバー部及び筒状部の上端部を覆う第2カバー部と、を有し、第1カバー部は、係合穴を有し、筒状部の上端部を係合穴に挿通させた状態で上端部に取り付けられた上壁と、上壁を貫通し、敷設物において屋根上空間にある部分が挿通される管体を保持する保持孔と、保持孔よりも外側の位置で上壁から垂下し、筒状部を囲む筒状の外周壁と、を有することにより解決される。
【0006】
上記のように構成された本発明の敷設用機器では、第1カバー部が保持孔よりも外側の位置で上壁から垂下し、筒状部を囲む外周壁を有するため、管体を接続する保持孔の下部から雨水が浸入するのをより効果的に防ぐことができる。
【0007】
また、上記の敷設用機器において、筒状部は、筒状部の下端部から鍔状に張り出したベース部を有し、ベース部が屋根の上壁面に載置されることで屋根に固定されていると好適である。
上記の構成によれば、筒状部を屋根の上壁面に自立させることができる。また、筒状部が貫通孔から抜け落ちて脱落したり、屋根から浮いてしまったりすることを防止することができる。
【0008】
また、上記の敷設用機器において、筒状部の上端部には、筒状部の上端部と係合穴の縁との間の隙間を封止する第1封止材が取り付けられていることが好ましい。
上記の構成によれば、筒状部と第1カバー部との接合部分から水が浸入することを防ぐことができる。
【0009】
また、上記の敷設用機器において、第2カバー部は、筒状の胴部と、胴部の上端開口を封止する天井部とを有し、胴部内に第1カバー部の上壁、及び筒状部の上端部が収容されていることが好適である。
上記の構成によれば、係合穴から筒状部内に雨水が浸入することを防止することができる。
【0010】
また、上記の敷設用機器において、第1カバー部の外周壁は、外周壁の上側部分をなす第1部分と、外周壁の下側部分をなし第1部分よりも外径が大きい第2部分と、を有し、第1部分が第2カバー部の胴部の内側に入り込んで胴部と嵌合していることが好ましい。
上記構成によれば、第2カバー部により、係合穴及び保持孔が収容される。これにより、係合穴及び保持孔から雨水が浸入することを防止することができる。また、雨水が、係合穴及び保持孔に直接滴下し、挿通する敷設物を伝って貫通孔内に水が浸入することを防止することができる。
(【0011】以降は省略されています)
この特許をJ-PlatPat(特許庁公式サイト)で参照する
関連特許
大和ハウス工業株式会社
敷設用機器
今日
大和ハウス工業株式会社
アクアポニックスシステム
今日
大和ハウス工業株式会社
壁構造およびスタッド拘束具
13日前
大和ハウス工業株式会社
情報処理装置、及び情報処理方法
1日前
大和ハウス工業株式会社
リスク推定方法、リスク推定装置、及びリスク推定システム
7日前
個人
単極モータ
1か月前
個人
高圧電気機器の開閉器
8日前
個人
電気を重力で発電装置
21日前
キヤノン電子株式会社
モータ
28日前
キヤノン電子株式会社
モータ
20日前
株式会社アイシン
ロータ
1か月前
株式会社アイシン
ロータ
1か月前
コーセル株式会社
電源装置
29日前
日星電気株式会社
ケーブル組立体
1か月前
株式会社アイドゥス企画
減反モータ
8日前
トヨタ自動車株式会社
モータ
20日前
株式会社デンソー
端子台
1日前
株式会社デンソー
回転機
1か月前
株式会社kaisei
発電システム
1か月前
個人
二次電池繰返パルス放電器用印刷基板
1か月前
株式会社デンソー
電力変換装置
1か月前
株式会社ミツバ
回転電機
1か月前
株式会社デンソー
電力変換装置
1か月前
トヨタ自動車株式会社
固定子の加熱装置
1か月前
矢崎総業株式会社
電源回路
7日前
矢崎総業株式会社
給電装置
今日
株式会社TMEIC
制御装置
今日
株式会社ダイヘン
インバータ装置
1か月前
株式会社デンソー
非接触受電装置
1か月前
矢崎総業株式会社
ワイヤーハーネス
1か月前
山洋電気株式会社
モータ
1か月前
個人
非対称鏡像力を有する4層PWB電荷搬送体
15日前
日産自動車株式会社
ロータシャフト
15日前
トヨタ自動車株式会社
ステータの製造装置
21日前
日産自動車株式会社
ロータシャフト
15日前
ローム株式会社
モータドライバ回路
15日前
続きを見る
他の特許を見る