TOP
|
特許
|
意匠
|
商標
特許ウォッチ
Twitter
他の特許を見る
公開番号
2025167579
公報種別
公開特許公報(A)
公開日
2025-11-07
出願番号
2024072345
出願日
2024-04-26
発明の名称
モータ
出願人
キヤノン電子株式会社
代理人
主分類
H02K
37/14 20060101AFI20251030BHJP(電力の発電,変換,配電)
要約
【課題】モータ周囲に配置される電子部品への電磁ノイズ影響を低減する。
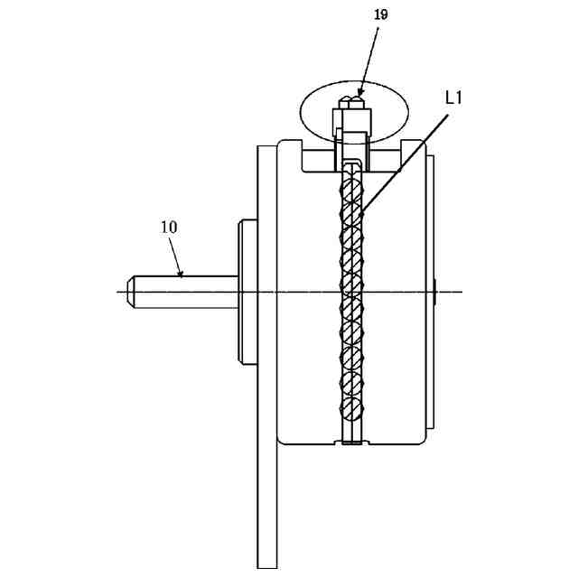
【解決手段】磁気回路を形成し、極歯するヨーク3、4、7、8と、ヨーク3、4、7、8を励磁する励磁コイル5、6を有するステータ16と、ロータマグネット9と、ロータマグネット9が固定されたシャフト10とを有するロータ17と、を備えたステッピングモータであって、ヨーク3、4、7、8は、ステッピングモータの外形を構成する一対の円筒状のアウトヨーク3、4と、アウトヨーク3、4の極歯に周方向で隣接して配置される極歯を有する一対のインヨーク7、8とを有し、一対のアウトヨーク3、4は、互いに突き合わされた状態で溶接により締結されており、溶接による接合部L1が少なくとも6か所以上設けられ、かつアウトヨーク3、4の周方向全周に対し接合部L1が占める割合が約14%以上であることを特徴とする。
【選択図】図1
特許請求の範囲
【請求項1】
磁気回路を形成し、極歯するヨークと、前記ヨークを励磁する励磁コイルを有するステータと、
ロータマグネットと、前記ロータマグネットが固定されたシャフトとを有するロータと、
を備えたステッピングモータであって、
前記ヨークは、前記ステッピングモータの外形を構成する一対の円筒状のアウトヨークと、当該アウトヨークの極歯に周方向で隣接して配置される極歯を有する一対のインヨークとを有し、
一対の前記アウトヨークは、互いに突き合わされた状態で溶接により締結されており、前記溶接による接合部が少なくとも6か所以上設けられ、かつ前記アウトヨークの周方向全周に対し前記接合部が占める割合が約14%以上であることを特徴とするステッピングモータ。
続きを表示(約 370 文字)
【請求項2】
前記アウトヨーク同士が突き合わされた突き合わせ部に対し、前記接合部が占める割合が約20%以上であることを特徴とする請求項1に記載のステッピングモータ。
【請求項3】
前記接合部が周方向に重なるように連続的に設けられていることを特徴とする請求項2に記載のステッピングモータ。
【請求項4】
前記ステッピングモータの反出力側に磁性体の押え板が設けられていることを特徴とする請求項2に記載のステッピングモータ。
【請求項5】
前記ステッピングモータの出力側に磁性体のフランジが設けられていることを特徴とする請求項3に記載のステッピングモータ。
【請求項6】
前記シャフトは非磁性体から形成されていることを特徴とする請求項4に記載のステッピングモータ。
発明の詳細な説明
【技術分野】
【0001】
本発明は、ステータ内で回転するシャフトとマグネットからなるロータとコイルの励磁により磁化するヨーク(ステータ)を備えたステッピングモータ等に関するものである。
続きを表示(約 1,800 文字)
【背景技術】
【0002】
従来のモータは、例えば特許文献1に記載されているように、2個のアウトヨーク(フレーム)筒体の一端開口の縁部内面に設けた環状段部の嵌合深さを、フレームに収納されたインヨークの外周縁がアウトヨークの環状段部に嵌合するインヨークの板厚よりも浅く設定することで、ステータ(インヨーク)同士を突き当てることでステータの傾きをなくしてモータ性能の低下を防止する技術がある。
【先行技術文献】
【特許文献】
【0003】
実開平5-33673号公報
【発明の概要】
【発明が解決しようとする課題】
【0004】
しかしながら、特許文献1に記載の技術では、アウトヨークの突き合わせ部の間に隙間があり、アウトヨーク(フレーム)内部のインヨークが外径方向にむき出し状態となり、これによりモータ内部から発生する磁束がアウトヨーク同士の隙間すなわち、インヨークからモータ外径方向に漏れてしまい、例えばカメラ内で使用されるセンサへ電磁ノイズ影響を与えてしまうことがあった。特に、モータを駆動させる駆動回路の高周波ノイズ(数kHz以上)が問題を起こすことがあった。近年、カメラの小型化(ミラーレス化)などに伴いセンサとモータとの距離が近くなっており、モータ周囲に配置されるセンサなどの電子部品へ与える電磁ノイズ影響の低減が求められている。
【課題を解決するための手段】
【0005】
上記を鑑み、本発明に係るステッピングモータは、
磁気回路を形成し、極歯するヨークと、前記ヨークを励磁する励磁コイルを有するステータと、
ロータマグネットと、前記ロータマグネットが固定されたシャフトとを有するロータと、
を備えたステッピングモータであって、
前記ヨークは、前記ステッピングモータの外形を構成する一対の円筒状のアウトヨークと、当該アウトヨークの極歯に周方向で隣接して配置される極歯を有する一対のインヨークとを有し、
一対の前記アウトヨークは、互いに突き合わされた状態で溶接により締結されており、前記溶接による接合部が少なくとも6か所以上設けられ、かつ前記アウトヨークの周方向全周に対し前記接合部が占める割合が約14%以上であることを特徴とする。
【発明の効果】
【0006】
本発明によれば、モータ周囲に配置される電子部品への電磁ノイズ影響を低減することができる。
【図面の簡単な説明】
【0007】
本発明の実施例1に係るモータの分解斜視図
本発明の実施例1に係るモータの上面および側面図
本発明の実施例1に係るモータの断面図
本発明の実施例2に係るモータの側面図
本発明の実施例3に係るモータの側面図
渦電流の説明図
本発明における磁束漏れ改善効果を示すグラフ
従来例の説明図
【発明を実施するための形態】
【0008】
(実施例1)
図1~図3は本発明の実施例1であるPM型(永久磁石型)ステッピングモータの構造を示す説明図である。
【0009】
図1は、本実施例に係るステッピングモータの分解斜視図であり、その左側がモータの出力側である。なお、軸方向の反対側を後端側と称する。ロータ17は、回転自在に支持されているステンレス等の磁性体で形成されたシャフト10と、周方向にN極とS極に交互に着磁されたロータマグネット9によって構成される。軸方向においてロータマグネット9を挟んだ両側にはワッシャ11が挿通されている。
【0010】
ステータ16は、周方向に交互に配設された複数の櫛歯(極歯)を有して例えば純鉄など軟磁性材からなる一対のインヨーク7、8と、周方向に交互に配設され、インヨーク7、8の櫛歯と周方向で隣接して配置される複数の櫛歯を有して例えば純鉄など軟磁性材からなる一対のアウトヨーク3、4と、インヨーク7とアウトヨーク3の間に配置されて各ヨークを励磁する励磁コイル5とヨークをインヨーク7とアウトヨーク3の間に配置されて各ヨークを励磁する励磁コイル6によって構成される。励磁コイル5、6によって励磁された磁界がインヨーク7、8とアウトヨーク3、4によって形成される磁気回路内を流れることによってロータ17が回転される。
(【0011】以降は省略されています)
この特許をJ-PlatPat(特許庁公式サイト)で参照する
関連特許
個人
電気を重力で発電装置
22日前
個人
高圧電気機器の開閉器
9日前
キヤノン電子株式会社
モータ
21日前
株式会社アイドゥス企画
減反モータ
9日前
トヨタ自動車株式会社
モータ
21日前
株式会社デンソー
端子台
2日前
矢崎総業株式会社
電源回路
8日前
株式会社TMEIC
制御装置
1日前
矢崎総業株式会社
給電装置
1日前
大和ハウス工業株式会社
敷設用機器
1日前
日産自動車株式会社
ロータシャフト
16日前
個人
非対称鏡像力を有する4層PWB電荷搬送体
16日前
ローム株式会社
モータドライバ回路
16日前
日産自動車株式会社
ロータシャフト
16日前
トヨタ自動車株式会社
ステータの製造装置
22日前
京商株式会社
模型用非接触電力供給システム
9日前
株式会社アイシン
電力変換装置
21日前
株式会社TMEIC
電力変換装置
1日前
トヨタ自動車株式会社
可変界磁ロータ
24日前
トヨタ自動車株式会社
熱利用回路
2日前
株式会社豊田自動織機
電力供給システム
21日前
豊田合成株式会社
車両用非接触充電装置
21日前
本田技研工業株式会社
回転電機用ロータ
9日前
ニデック株式会社
回転電機
21日前
大阪瓦斯株式会社
充放電中継装置
22日前
大阪瓦斯株式会社
充放電中継装置
22日前
ルネサスエレクトロニクス株式会社
半導体装置
21日前
個人
電動自動車用同期電動機の変速方法と駆動制御装置
23日前
株式会社京三製作所
パルス電源装置
8日前
株式会社豊田中央研究所
分散電源システム
16日前
日動電工株式会社
壁内配線用のブランクプレート
8日前
株式会社京三製作所
パルス電源装置
8日前
パナソニック株式会社
分電盤
21日前
株式会社日立産機システム
キュービクル
24日前
パナソニック株式会社
分電盤
21日前
パナソニック株式会社
分電盤
21日前
続きを見る
他の特許を見る