TOP
|
特許
|
意匠
|
商標
特許ウォッチ
Twitter
他の特許を見る
公開番号
2025166407
公報種別
公開特許公報(A)
公開日
2025-11-06
出願番号
2024070416
出願日
2024-04-24
発明の名称
充放電中継装置
出願人
大阪瓦斯株式会社
代理人
弁理士法人R&C
主分類
H02J
3/32 20060101AFI20251029BHJP(電力の発電,変換,配電)
要約
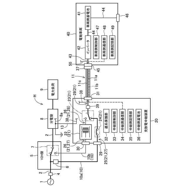
【課題】2相監視を行うことができる充放電中継装置を提供する。
【解決手段】充放電中継装置20が、施設側電力線2と電気的に接続するために用いられる、中性線であるN相、電圧線であるU相、及び、電圧線であるV相で構成される第1電気回路部27と、電動車両40のインバータ42と電気的に接続するために用いられる、電圧線であるU相、及び、電圧線であるV相で構成される第2電気回路部28と、第1電気回路部27での、U相とN相との間の電圧、及び、V相とN相との間の電圧に基づいて、電動車両40のインバータ42を施設側電力線2を介して電力系統1へ連系する場合に必要な保護動作を行う連系保護部32とを備える。
【選択図】図1
特許請求の範囲
【請求項1】
施設に設置されて、電力系統に連系される施設側電力線と、電動車両が有するインバータとの間を電気的に接続して、当該インバータに接続される前記電動車両の車両側蓄電池への充電及び前記車両側蓄電池からの放電を中継する充放電中継装置であって、
前記施設側電力線と電気的に接続するために用いられる、中性線であるN相、電圧線であるU相、及び、電圧線であるV相で構成される第1電気回路部と、
前記電動車両の前記インバータと電気的に接続するために用いられる、電圧線であるU相、及び、電圧線であるV相で構成される第2電気回路部と、
前記第1電気回路部での、U相とN相との間の電圧、及び、V相とN相との間の電圧に基づいて、前記電動車両の前記インバータを前記施設側電力線を介して前記電力系統へ連系する場合に必要な保護動作を行う連系保護部とを備える充放電中継装置。
続きを表示(約 780 文字)
【請求項2】
前記施設側電力線から供給される電力及び前記電動車両から供給される電力を充電でき、充電した電力を前記連系保護部に供給できる中継側蓄電池を備える請求項1に記載の充放電中継装置。
【請求項3】
前記施設の受電点電力を測定する電力測定器の測定結果を前記電動車両へ伝達する請求項1又は2に記載の充放電中継装置。
【請求項4】
前記第1電気回路部を構成する中性線であるN相、電圧線であるU相、及び、電圧線であるV相と、前記第2電気回路部を構成する電圧線であるU相、及び、電圧線であるV相とを接続する接続部を備える請求項1又は2に記載の充放電中継装置。
【請求項5】
前記電動車両の前記インバータの動作を制御する車両側制御部との間で情報通信可能な中継側制御部を備え、
前記中継側制御部は、前記車両側制御部と情報通信できない場合であっても、前記施設側電力線から前記電動車両の前記インバータへの電力供給を許容する請求項1又は2に記載の充放電中継装置。
【請求項6】
前記電動車両の前記インバータの動作を制御する車両側制御部との間で情報通信可能な中継側制御部を備え、
前記第1電気回路部は、前記電力系統からの電力供給が正常に行われている正常状態である場合に電力を流す連系用回路部と、前記正常状態でない場合に電力を流す、前記電力系統には電気的に接続されない自立用回路部とを有し、
前記中継側制御部は、前記車両側制御部と情報通信できない場合であっても、前記自立用回路部を介した前記施設側電力線から前記電動車両の前記インバータへの電力供給、前記自立用回路部を介した前記電動車両の前記インバータから前記施設側電力線への電力供給を許容する請求項1又は2に記載の充放電中継装置。
発明の詳細な説明
【技術分野】
【0001】
本発明は、充放電中継装置に関する。
続きを表示(約 1,700 文字)
【背景技術】
【0002】
特許文献1(特許第5355641号公報)には、電動車両(自動車22)が有する蓄電池(車両用蓄電池24)を、ケーブル(26)を用いて、施設(建物12)に設置される電力線に接続する構成が記載されている。この場合、施設の電力線と蓄電池との間の電気的な接続は、施設に設置される制御装置(14)が中継する。具体的には、制御装置(14)は、交流電力を直流電力に変換したり、直流電力を交流電力へ変換する機能を備えており、電力系統(系統電源20)から供給される電力を直流電力に変換して蓄電池へ供給することによって充電したり、蓄電池に蓄電された電力を交流電力に変換して施設の電気機器(16)に供給等の電力の供給制御を行う。
【先行技術文献】
【特許文献】
【0003】
特許第5355641号公報
【発明の概要】
【発明が解決しようとする課題】
【0004】
特許文献1に記載されている構成では、電動車両で直流電力が流れる直流部が、施設の制御装置(14)に接続されている。そのため、制御装置(14)が、直流電力を交流電力に変換する電力変換機能を備えていなければならない。
【0005】
但し、電動車両には、直流電力を交流電力に変換するインバータも設けられ、その交流電力が流れる交流部と施設とを接続することも可能である。その場合、直流電力を交流電力に変換する電力変換機能を施設に設ける必要はない。しかし、そのような構成を採用した場合、電動車両のインバータが系統連系用インバータとなるため、電動車両には連系保護機能を搭載する必要がある。例えば、電圧線であるU相と中性線であるN相との間の電圧、及び、電圧線であるV相と中性線であるN相との間の電圧に基づいて、過電圧保護動作、及び、不足電圧保護動作などの連系保護動作を行う必要がある。
【0006】
しかし、電動車両と施設の電力線とが単相2線式の配線で接続されている場合、U相とN相との間の電圧、及び、V相とN相との間の電圧の2相監視を行うことができない。
【0007】
本発明は、上記の課題に鑑みてなされたものであり、その目的は、2相監視を行うことができる充放電中継装置を提供する点にある。
【課題を解決するための手段】
【0008】
上記目的を達成するための本発明に係る充放電中継装置の特徴構成は、施設に設置されて、電力系統に連系される施設側電力線と、電動車両が有するインバータとの間を電気的に接続して、当該インバータに接続される前記電動車両の車両側蓄電池への充電及び前記車両側蓄電池からの放電を中継する充放電中継装置であって、
前記施設側電力線と電気的に接続するために用いられる、中性線であるN相、電圧線であるU相、及び、電圧線であるV相で構成される第1電気回路部と、
前記電動車両の前記インバータと電気的に接続するために用いられる、電圧線であるU相、及び、電圧線であるV相で構成される第2電気回路部と、
前記第1電気回路部での、U相とN相との間の電圧、及び、V相とN相との間の電圧に基づいて、前記電動車両の前記インバータを前記施設側電力線を介して前記電力系統へ連系する場合に必要な保護動作を行う連系保護部とを備える点にある。
【0009】
上記特徴構成によれば、充放電中継装置の連系保護部が、施設側電力線と電気的に接続するために用いられる、中性線であるN相、電圧線であるU相、及び、電圧線であるV相で構成される第1電気回路部での、U相とN相との間の電圧、及び、V相とN相との間の電圧に基づいて、電動車両のインバータを施設側電力線を介して電力系統へ連系する場合に必要な保護動作を行う。つまり、充放電中継装置が連系保護部を備えることで、2相監視を行うことができる。
【0010】
本発明に係る充放電中継装置の別の特徴構成は、前記施設側電力線から供給される電力及び前記電動車両から供給される電力を充電でき、充電した電力を前記連系保護部に供給できる中継側蓄電池を備える点にある。
(【0011】以降は省略されています)
この特許をJ-PlatPat(特許庁公式サイト)で参照する
関連特許
大阪瓦斯株式会社
継手
27日前
大阪瓦斯株式会社
探査装置
2か月前
大阪瓦斯株式会社
燃焼装置
2か月前
大阪瓦斯株式会社
撥水性塗料
2か月前
大阪瓦斯株式会社
ガスコンロ
1か月前
大阪瓦斯株式会社
ガラス複合体
2か月前
大阪瓦斯株式会社
制御システム
1か月前
大阪瓦斯株式会社
動作制御装置
2か月前
大阪瓦斯株式会社
蓄電制御装置
2か月前
大阪瓦斯株式会社
警報システム
2か月前
大阪瓦斯株式会社
警報システム
2か月前
大阪瓦斯株式会社
音声出力装置
2か月前
大阪瓦斯株式会社
管理システム
2か月前
大阪瓦斯株式会社
高耐熱組成物
2か月前
大阪瓦斯株式会社
酸化物複合体
2か月前
大阪瓦斯株式会社
充放電中継装置
1か月前
大阪瓦斯株式会社
充放電中継装置
1か月前
大阪瓦斯株式会社
エンジンシステム
2か月前
大阪瓦斯株式会社
バイオマス系樹脂
2か月前
大阪瓦斯株式会社
燃料電池システム
19日前
大阪瓦斯株式会社
メタン生成システム
20日前
大阪瓦斯株式会社
フレキシブル管用継手
27日前
大阪瓦斯株式会社
平板型燃料電池スタック
1か月前
大阪瓦斯株式会社
二酸化炭素回収システム
2か月前
大阪瓦斯株式会社
料理レシピ提案システム
1か月前
大阪瓦斯株式会社
二酸化炭素回収システム
2か月前
大阪瓦斯株式会社
共電解メタネーション装置
1か月前
大阪瓦斯株式会社
水分状態量可視化システム
2か月前
大阪瓦斯株式会社
共電解メタネーション装置
1か月前
大阪瓦斯株式会社
水素製造装置及びその運転方法
2か月前
大阪瓦斯株式会社
チタニア被覆銀を含有する組成物
2か月前
大阪瓦斯株式会社
電力融通システム及び電力融通方法
1か月前
大阪瓦斯株式会社
水素製造装置及び水素製造装置の運転方法
2か月前
大阪瓦斯株式会社
シトクロムcペルオキシダーゼの製造方法
2か月前
大阪瓦斯株式会社
電気化学モジュールおよびエネルギーシステム
2か月前
大阪瓦斯株式会社
電気化学モジュールおよびエネルギーシステム
2か月前
続きを見る
他の特許を見る