TOP
|
特許
|
意匠
|
商標
特許ウォッチ
Twitter
他の特許を見る
10個以上の画像は省略されています。
公開番号
2025170619
公報種別
公開特許公報(A)
公開日
2025-11-19
出願番号
2024075353
出願日
2024-05-07
発明の名称
模型用非接触電力供給システム
出願人
京商株式会社
代理人
個人
主分類
H02J
50/90 20160101AFI20251112BHJP(電力の発電,変換,配電)
要約
【課題】周辺への電磁波の影響を考慮しつつ給電性に優れた模型用非接触電力供給システムを提供すること。
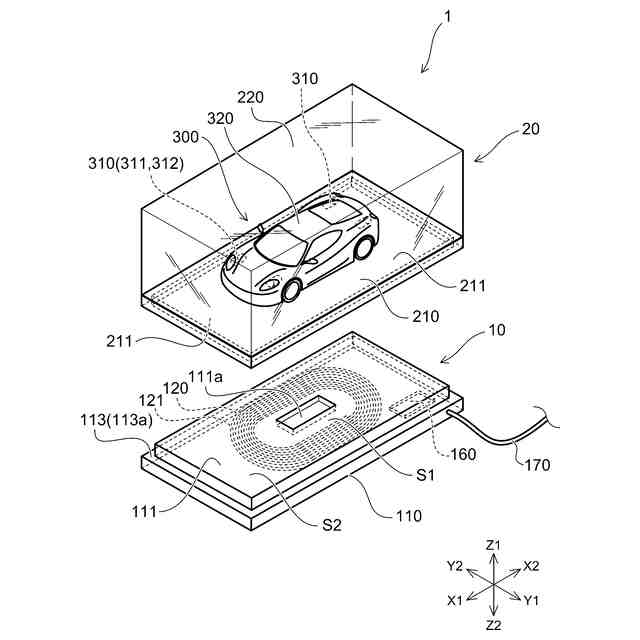
【解決手段】本発明の一態様は、給電ベースから模型ケースに収容された模型に非接触で電力を供給する模型用電力供給システムであって、模型ケースは、ケース載置面と、ケース裏面と、を有するケース底部と、模型を固定する固定部と、を有し、給電ベースは、ベース載置面と、ベース裏面と、ケース底部の位置決め部と、を有するベース本体と、ベース本体に設けられる電力供給用の送信コイルと、を有し、模型は、送信コイルで発生する磁束を受ける受信コイルと、受信コイルで発生した誘導起電力によって動作する負荷部と、を有する電力消費部を有し、ベース本体は、ベース本体における固定部と重なる中央領域と、中央領域の外側の外周領域と、を有し、送信コイルは、外周領域において中央領域を中央として1つの渦巻状に設けられるコイル導体部を有する。
【選択図】図2
特許請求の範囲
【請求項1】
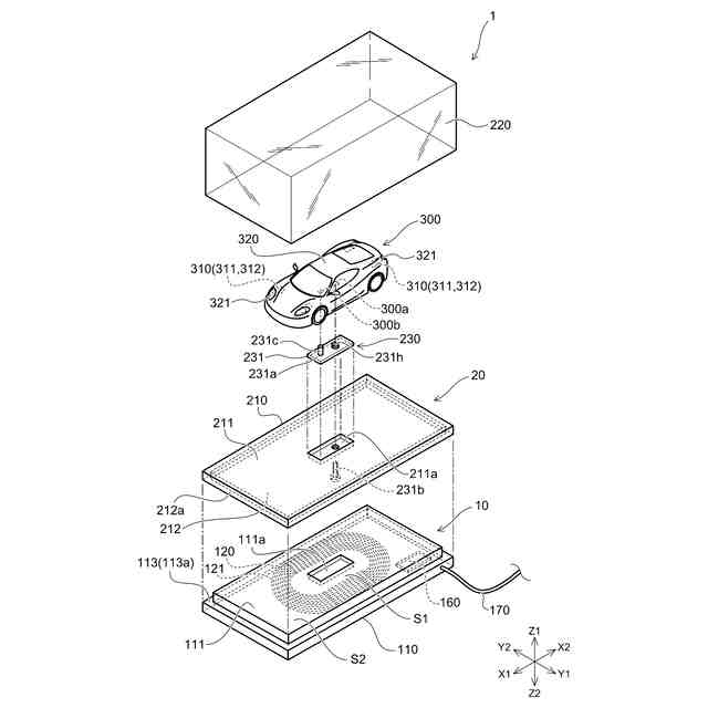
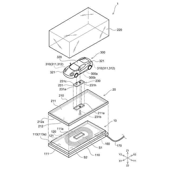
給電ベースから模型ケースに収容された模型に非接触で電力を供給する模型用電力供給システムであって、
前記模型ケースは、
前記模型を載置するケース載置面と、前記ケース載置面の反対側であるケース裏面と、を有するケース底部と、
前記ケース載置面に略中央に設けられ、前記模型を固定する固定部と、を有し、
前記給電ベースは、
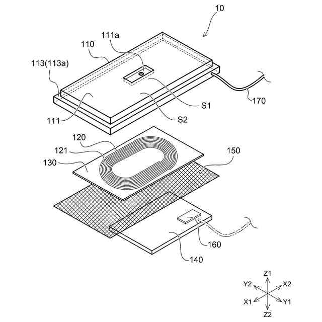
前記模型ケースの前記ケース底部が載置されるベース載置面と、前記ベース載置面の反対側であるベース裏面と、前記ベース載置面に前記ケース底部を載置する際の位置決めを行う位置決め部と、を有するベース本体と、
前記ベース本体に設けられる電力供給用の送信コイルと、を有し、
前記模型は、前記送信コイルで発生する磁束を受ける受信コイルと、前記受信コイルで発生した誘導起電力によって動作する負荷部と、を有する電力消費部を有し、
前記ベース本体は、前記ケース底部を前記ベース載置面に載置して前記位置決め部により前記ケース底部が位置決めされた状態で、前記ベース本体における前記固定部と重なる中央領域と、前記中央領域の外側の外周領域と、を有し、
前記送信コイルは、前記外周領域において前記中央領域を中央として1つの渦巻状に設けられるコイル導体部を有する、模型用非接触電力供給システム。
続きを表示(約 1,500 文字)
【請求項2】
前記固定部は、前記模型と前記ケース底部とを連結する連結部材を有し、
前記ケース底部の前記ケース裏面の側は凹形状に設けられ、
前記ケース底部は、
前記ケース載置面の側に設けられ、前記連結部材を嵌合する連結凹部と、
前記ケース裏面において前記連結凹部の反対側に設けられる連結凸部と、を有し、
前記連結凸部の突出高さは、前記ケース裏面の側の凹形状の深さよりも低く、
前記ベース本体は、
前記ベース載置面の前記中央領域に設けられ、前記ケース底部を前記ベース載置面に載置することで前記連結凸部と嵌合するベース凹部を有し、
前記コイル導体部は、前記ベース凹部を中央として1つの渦巻状に設けられる、請求項1に記載の模型用非接触電力供給システム。
【請求項3】
前記位置決め部は、前記ベース本体の前記ベース載置面の外周に設けられ、前記ベース載置面から下がった段部を有し、
前記ケース底部を前記ベース載置面に載置すると、前記ケース底部の前記ケース裏面の側に突出する縁部が前記段部に嵌まるように構成される、請求項1または請求項2に記載の模型用非接触電力供給システム。
【請求項4】
前記ケース底部の縦横の外形サイズは、前記段部を含めた前記ベース本体の縦横の外形サイズと等しい、請求項3に記載の模型用非接触電力供給システム。
【請求項5】
前記給電ベースは、前記送信コイルへの通電を制御する制御部を有し、
前記制御部は、前記送信コイルへの通電時間が所定時間を経過した段階で前記送信コイルへの通電を停止する制御を行う、請求項1に記載の模型用非接触電力供給システム。
【請求項6】
前記制御部は、前記受信コイルが前記送信コイルに接近したことによる前記送信コイルの電流の変化に基づき前記所定時間の計数を開始する制御を行う、請求項5に記載の模型用非接触電力供給システム。
【請求項7】
前記給電ベースは、
前記送信コイルへの通電を制御する制御部と、
温度センサと、をさらに備え、
前記制御部は、前記温度センサによる検出値が予め設定された閾値を超えると前記送信コイルへの通電を停止する制御を行う、請求項1に記載の模型用非接触電力供給システム。
【請求項8】
模型ケースに収容された模型に非接触で電力を供給する模型用非接触給電ベースであって、
前記模型ケースのケース底部が載置されるベース載置面と、前記ベース載置面の反対側であるベース裏面と、前記ベース載置面に前記ケース底部を載置する際の位置決めを行う位置決め部と、を有するベース本体と、
前記ベース本体に設けられる電力供給用の送信コイルと、
を備え、
前記ベース本体は、前記模型ケースに設けられたケース凸部と嵌合するベース凹部を有する中央領域と、前記中央領域の外側の外周領域と、を有し、
前記送信コイルは、前記外周領域において前記中央領域を中央として1つの渦巻き状に設けられるコイル導体部を有する、模型用非接触給電ベース。
【請求項9】
前記送信コイルへの通電を制御する制御部をさらに備え、
前記制御部は、前記送信コイルへの通電時間が所定時間を経過した段階で前記送信コイルへの通電を停止する制御を行う、請求項8に記載の模型用非接触給電ベース。
【請求項10】
前記制御部は、前記送信コイルの電流の変化に基づき前記所定時間の計数を開始する制御を行う、請求項9に記載の模型用非接触給電ベース。
(【請求項11】以降は省略されています)
発明の詳細な説明
【技術分野】
【0001】
本発明は、自動車などの模型に非接触で電力を供給する模型用非接触電力供給システム、模型用非接触給電ベースおよび模型に関するものである。
続きを表示(約 1,600 文字)
【背景技術】
【0002】
模型に非接触で電力を供給する技術として、特許文献1には、1つの給電装置からの電力の供給範囲の拡大、複数の負荷の同時作動、負荷の配置の随時変更が可能な非接触給電システム及びそれを用いたジオラマが開示される。
【0003】
また、特許文献2には、例えば、磁界共鳴や電界共鳴などの共鳴現象を用いて電力を給電する非接触給電システム、当該システムで用いられる装置、当該システムや当該装置で用いられる非接触給電方法が開示される。
【0004】
また、特許文献3には、遊技体の動きを制限することなく、かつ、他の回路に影響を及ぼすことなく充電することができ、メンテナンスも容易な遊技体、遊技装置及び遊技システムが開示される。
【0005】
また、特許文献4には、各グループに属する複数の機器が、グループ毎に他のグループに属する複数の機器とは異なる動作を同期して動作制御させることを安価にかつ容易に行える非接触給電システムが開示される。
【先行技術文献】
【特許文献】
【0006】
特開2015-006114号公報
特開2011-030317号公報
特開2005-334023号公報
特開2011-050163号公報
【発明の概要】
【発明が解決しようとする課題】
【0007】
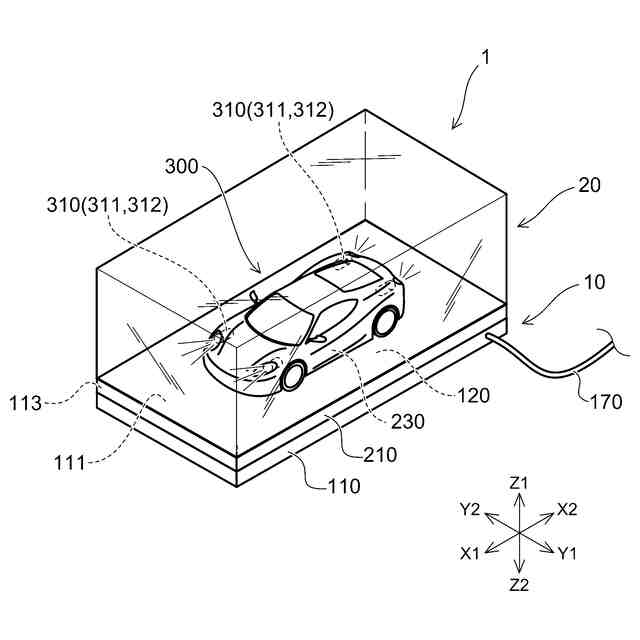
模型などに非接触で電力を供給して電灯などを点灯させる場合、電力を送受可能なエリアの設定が重要となる。すなわち、電力の送受可能なエリアが狭いと模型の設置範囲が制約されてしまう。一方、電力の送受可能なエリアが広いと不必要に周辺へ電磁波が漏れてしまい、周辺機器への影響が懸念される。
【0008】
本発明は、模型に非接触で電力を供給するシステムにおいて、周辺への電磁波の影響を考慮しつつ給電性に優れた模型用非接触電力供給システム、模型用非接触給電ベースおよび模型を提供することを目的とする。
【課題を解決するための手段】
【0009】
本発明の一態様は、模型用非接触給電ベースから模型ケースに収容された模型に非接触で電力を供給する模型用電力供給システムであって、模型ケースは、模型を載置するケース載置面と、ケース載置面の反対側であるケース裏面と、を有するケース底部と、ケース載置面に略中央に設けられ、模型を固定する固定部と、を有し、模型用非接触給電ベースは、模型ケースのケース底部が載置されるベース載置面と、ベース載置面の反対側であるベース裏面と、ベース載置面にケース底部を載置する際の位置決めを行う位置決め部と、を有するベース本体と、ベース本体に設けられる電力供給用の送信コイルと、を有し、模型は、送信コイルで発生する磁束を受ける受信コイルと、受信コイルで発生した誘導起電力によって動作する負荷部と、を有する電力消費部を有し、ベース本体は、ケース底部をベース載置面に載置して位置決め部によりケース底部が位置決めされた状態で、ベース本体における固定部と重なる中央領域と、中央領域の外側の外周領域と、を有し、送信コイルは、外周領域において中央領域を中央として1つの渦巻状に設けられるコイル導体部を有する。
【0010】
このような構成によれば、模型を収容した模型ケースを模型用非接触給電ベースのベース載置面に載置することで、模型ケースに模型を収容したまま模型ケース内の模型に電力が供給される。模型は固定部によって模型ケースの所定位置に固定されており、模型用非接触給電ベースには模型ケースを位置決めする位置決め部が設けられているため、模型ケースを模型用非接触給電ベースに載置して位置決め部によって位置決めするだけで、模型用非接触給電ベースの送信コイルで発生する磁束の領域内に模型側の受信コイルが位置することになり、狭い給電範囲であっても確実な給電が行われる。
(【0011】以降は省略されています)
この特許をJ-PlatPat(特許庁公式サイト)で参照する
関連特許
京商株式会社
模型用非接触電力供給システム
21日前
個人
高圧電気機器の開閉器
21日前
個人
電気を重力で発電装置
1か月前
キヤノン電子株式会社
モータ
1か月前
キヤノン電子株式会社
モータ
1か月前
株式会社東光高岳
充電器
1日前
コーセル株式会社
電源装置
1か月前
日星電気株式会社
ケーブル組立体
1か月前
東洋アルミニウム株式会社
発電体
今日
トヨタ自動車株式会社
モータ
1か月前
株式会社アイドゥス企画
減反モータ
21日前
株式会社デンソー
端子台
14日前
株式会社ダイヘン
充電装置
今日
株式会社デンソー
回転電機
5日前
個人
二次電池繰返パルス放電器用印刷基板
1か月前
株式会社ダイヘン
送配電装置
5日前
富士電機株式会社
電力変換装置
5日前
本田技研工業株式会社
回転電機
7日前
株式会社不二越
空冷式油圧装置
5日前
ローム株式会社
半導体集積回路
12日前
富士電機株式会社
電力変換装置
5日前
株式会社デンソー
電力変換装置
1か月前
株式会社TMEIC
制御装置
13日前
トヨタ自動車株式会社
固定子の加熱装置
1か月前
矢崎総業株式会社
電源回路
20日前
株式会社東光高岳
充電対象切換システム
1日前
株式会社日立製作所
回転電機
12日前
矢崎総業株式会社
給電装置
13日前
個人
非対称鏡像力を有する4層PWB電荷搬送体
28日前
ローム株式会社
モータドライバ回路
28日前
日産自動車株式会社
ロータシャフト
28日前
日産自動車株式会社
ロータシャフト
28日前
大和ハウス工業株式会社
敷設用機器
13日前
アズビル株式会社
タービン式流量制御装置
今日
株式会社イノコンバンク
無線給電システム
5日前
トヨタ自動車株式会社
ステータの製造装置
1か月前
続きを見る
他の特許を見る