TOP
|
特許
|
意匠
|
商標
特許ウォッチ
Twitter
他の特許を見る
公開番号
2025153565
公報種別
公開特許公報(A)
公開日
2025-10-10
出願番号
2024056103
出願日
2024-03-29
発明の名称
回転電機
出願人
株式会社ミツバ
代理人
個人
,
個人
,
個人
主分類
H02K
21/22 20060101AFI20251002BHJP(電力の発電,変換,配電)
要約
【課題】発電機としての性能とモータとしての性能をバランスよく向上できる回転電機を提供する。
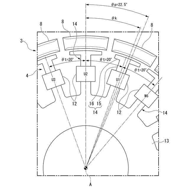
【解決手段】実施形態の始動発電機1は、ステータ4と、ロータ3と、を備える。ステータ4のティース14は、コイル12が巻回されるティース本体15と、ティース本体15における径方向の端部から周方向に延びる傘部16と、を有する。ロータ3は、複数の磁極を有する。m及びnを2以上の正の整数とし、かつm≠nとし、ティース14の個数をTとし、磁極の磁極数をPとし、ティース本体15における周方向の中心間の角度θtとし、磁極における周方向の中心間の角度をθpとし、同相の傘部16における周方向の中心間の角度をθkとしたとき、記ティース14の個数T、磁極数P、角度θt,θp,θkは、P=2m、T=3n、θt<θk<θp、P<Tを満たし、少なくとも2つの同相のティース14は周方向に隣り合っている。
【選択図】図2
特許請求の範囲
【請求項1】
コイルが巻回される複数のティースが周方向に並んで配置されたステータと、
前記ステータに対して回転自在に設けられたロータと、
を備え、
前記ティースは、
径方向に延び、前記コイルが巻回されるティース本体と、
前記ティース本体における径方向の端部から周方向に延びる傘部と、
を有し、
前記ロータは、前記傘部と径方向で対向するとともに周方向に等間隔に並んで配置された複数の磁極を有し、
m及びnを2以上の正の整数とし、かつm≠nとし、前記ティースの個数をTとし、前記磁極の磁極数をPとし、前記ティース本体における周方向の中心間の角度をθtとし、前記磁極における周方向の中心間の角度をθpとし、同相の前記傘部における周方向の中心間の角度をθkとしたとき、前記ティースの個数T、前記磁極数P、前記角度θt、前記角度θp、及び前記角度θkは、
P=2m、T=3n、θt<θk<θp、P<T
を満たし、
少なくとも2つの同相の前記ティースは周方向に隣り合っている、
ことを特徴とする回転電機。
続きを表示(約 170 文字)
【請求項2】
nは偶数である、
ことを特徴とする請求項1に記載の回転電機。
【請求項3】
前記磁極数Pは16極であり、
前記ティースの個数Tは18個であり、
前記角度θkは、
20°<θk<22.5°
を満たす、
ことを特徴とする請求項1又は請求項2に記載の回転電機。
発明の詳細な説明
【技術分野】
【0001】
本発明は、回転電機に関する。
続きを表示(約 1,800 文字)
【背景技術】
【0002】
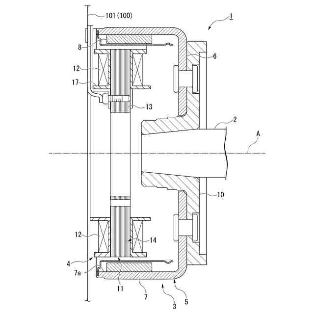
従来から、車両のエンジン始動用のモータとして用いられるとともに、エンジン始動後の発電機として用いられる回転電機が知られている。この種の回転電機は、車体に固定され、コイルが巻回されたステータと、クランクシャフトに固定され、ステータに対して回転自在に設けられたロータ(フライホイール)と、を備える。
【0003】
ステータは、周方向に並んで配置された複数のティースを備える。ティースは、径方向に延びるティース本体と、ティース本体における径方向の外側の端部から周方向に延びる傘部と、を有する。ティース本体には、コイルが巻回されている。
ロータは、ステータを径方向の外側から覆うように有底筒状に形成されたロータヨークを備える。ロータヨークの内周面には、永久磁石が設けられている。永久磁石には、複数の磁極が周方向に順番に並んでいる。
【0004】
このような構成のもと、回転電機をエンジン始動用のモータとして使用する場合、所定のコイルに選択的に電流を供給する。すると、ティースに磁束が形成され、この磁束とロータの永久磁石との間で生じる磁気的な吸引力や反発力によってロータが回転される。
回転電機をエンジン始動後の発電機として使用する場合、ロータが回転することによって永久磁石の磁束量が変化する。この磁束量の変化が起電力となってコイルに電流が発生する。コイルに発生する電流は、例えばバッテリ等に蓄電されたり、付属電機機器に供給されたりする。
【0005】
回転電機の性能を向上するために、さまざまな技術が提案されている。例えば、発電の高出力化、高効率化を図るために、ティースの形状を異形にする形状が提案されている(例えば、特許文献1参照)。このものは、ティース本体を等間隔に配置するとともに、傘部における周方向の中心間の角度(配置角度)を、磁極における周方向の中心間の角度(磁極のピッチ角度)と一致させている。このように構成することで、同相内での位相差が縮まり、発電効率を向上できる。
【先行技術文献】
【特許文献】
【0006】
特許第6154637号公報
【発明の概要】
【発明が解決しようとする課題】
【0007】
しかしながら、上述の従来技術にあっては、異相間の傘部の間の角度と、同相間の傘部の間の角度とが異なってしまうため、モータとしての性能が低下してしまうという課題があった。このように、発電機としての性能向上とモータとしての性能向上とはトレードオフの関係にある。
【0008】
そこで、本発明は、発電機としての性能とモータとしての性能をバランスよく向上できる回転電機を提供する。
【課題を解決するための手段】
【0009】
上記の課題を解決するために、本発明の第1態様では、回転電機は、コイルが巻回される複数のティースが周方向に並んで配置されたステータと、前記ステータに対して回転自在に設けられたロータと、を備え、前記ティースは、径方向に延び、前記コイルが巻回されるティース本体と、前記ティース本体における径方向の端部から周方向に延びる傘部と、を有し、前記ロータは、前記傘部と径方向で対向するとともに周方向に等間隔に並んで配置された複数の磁極を有し、m及びnを2以上の正の整数とし、かつm≠nとし、前記ティースの個数をTとし、前記磁極の磁極数をPとし、前記ティース本体における周方向の中心間の角度をθtとし、前記磁極における周方向の中心間の角度をθpとし、同相の前記傘部における周方向の中心間の角度をθkとしたとき、前記ティースの個数T、前記磁極数P、前記角度θt、前記角度θp、及び前記角度θkは、P=2m、T=3n、θt<θk<θp、P<Tを満たし、少なくとも2つの同相の前記ティースは周方向に隣り合っている。
【0010】
このように構成することで、発電機としての性能、及びモータとしての性能のいずれもバランスよく向上できる。
また、磁極数Pとティースの個数TとがP<Tを満たすと、隣り合う異相の傘部の間隔を極力小さくできる。この結果、コイルによる鎖交磁束や磁極による磁束をできる限り有効に使うことが可能になる。このため、発電機としての性能、及びモータとしての性能のいずれも確実に向上できる。
(【0011】以降は省略されています)
この特許をJ-PlatPat(特許庁公式サイト)で参照する
関連特許
株式会社ミツバ
回転電機
21日前
株式会社ミツバ
回転電機
28日前
株式会社ミツバ
モータ装置
16日前
株式会社ミツバ
モータ装置
29日前
株式会社ミツバ
ブラシレスモータ
1か月前
株式会社ミツバ
モータ及びファン装置
29日前
株式会社ミツバ
モータシステム及び電動車両
29日前
株式会社ミツバ
モータ装置およびロータの製造方法
29日前
株式会社ミツバ
モータ装置、ワイパー装置、及びモータ制御方法
24日前
株式会社ミツバ
モータ装置、ワイパー装置、及びモータ制御方法
29日前
個人
単極モータ
24日前
個人
電気を重力で発電装置
1日前
キヤノン電子株式会社
モータ
8日前
キヤノン電子株式会社
モータ
今日
株式会社アイシン
ロータ
24日前
株式会社アイシン
ロータ
28日前
日星電気株式会社
ケーブル組立体
16日前
コーセル株式会社
電源装置
9日前
トヨタ自動車株式会社
モータ
今日
株式会社デンソー
回転機
22日前
株式会社アイシン
ステータ
28日前
株式会社アイシン
ステータ
28日前
株式会社アイシン
ステータ
28日前
個人
二次電池繰返パルス放電器用印刷基板
14日前
株式会社kaisei
発電システム
24日前
株式会社デンソー
電力変換装置
15日前
株式会社ミツバ
回転電機
28日前
株式会社ミツバ
回転電機
21日前
株式会社デンソー
電力変換装置
23日前
株式会社ダイヘン
インバータ装置
23日前
株式会社デンソー
非接触受電装置
17日前
トヨタ自動車株式会社
固定子の加熱装置
11日前
トヨタ自動車株式会社
ステータの製造装置
1日前
山洋電気株式会社
モータ
14日前
矢崎総業株式会社
ワイヤーハーネス
24日前
トヨタ紡織株式会社
ロータの製造装置
9日前
続きを見る
他の特許を見る