TOP
|
特許
|
意匠
|
商標
特許ウォッチ
Twitter
他の特許を見る
10個以上の画像は省略されています。
公開番号
2025159917
公報種別
公開特許公報(A)
公開日
2025-10-22
出願番号
2024062778
出願日
2024-04-09
発明の名称
モータ装置
出願人
株式会社ミツバ
代理人
弁理士法人筒井国際特許事務所
主分類
H02K
21/14 20060101AFI20251015BHJP(電力の発電,変換,配電)
要約
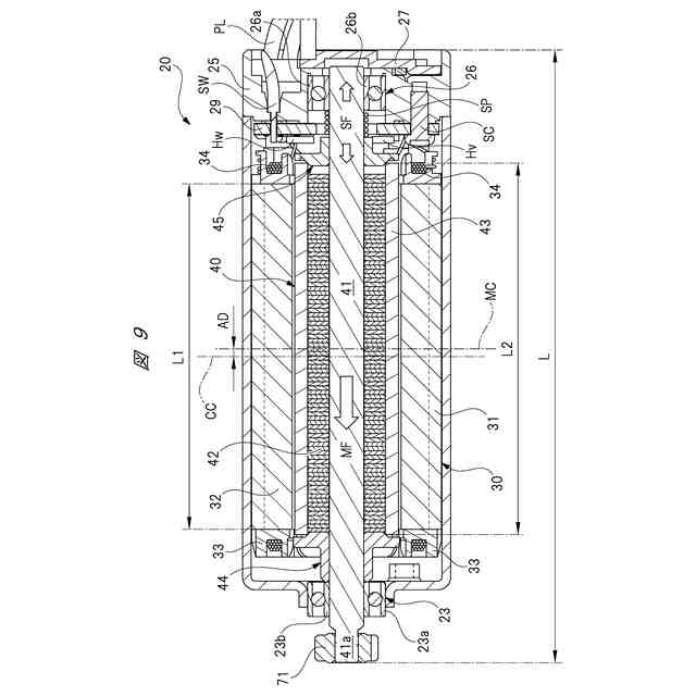
【課題】磁気吸引力でロータを軸方向に押圧可能とし、慣性質量の増大を抑えつつ安定したセンシングを行えるようにする。
【解決手段】リングマグネット43の軸方向中央部が、ステータコア31の軸方向中央部に対し、突き当て部材44の第1ボールベアリング23に対する突き当て方向とは反対側にずれている。よって、コイル34に駆動電流を供給して電動モータ部20を駆動することで、ロータ40を軸方向他側へ移動させようとする磁気吸引力MFを発生させることができる。磁気吸引力MFの作用により、ロータ40の軸方向位置ががたついてずれるようなことを無くすことができ、ひいては回転軸41の軸方向におけるリングマグネット43と合計3つのホール素子Hv,Hw(図9では2つのみ示す)との離間距離を一定に保持可能となり、慣性質量の増大を抑えつつ安定したセンシングを行えるようになる。
【選択図】図9
特許請求の範囲
【請求項1】
ステータおよびロータを備えたモータ装置であって、
前記ステータは、
モータケースの径方向内側に固定されるステータコアと、
前記ステータコアに設けられたティースに巻装されるコイルと、
を有し、
前記ロータは、
前記モータケースに固定された軸受により回転自在に支持される回転軸と、
前記回転軸に一体に設けられるマグネットと、
前記回転軸に固定され、前記回転軸の軸方向一側から前記回転軸の軸方向他側に向けて前記軸受に突き当てられる突当部材と、
を備え、
前記マグネットの軸方向中央部が、前記ステータコアの軸方向中央部に対し、前記突当部材の前記軸受に対する突き当て方向とは反対側にずれている、
モータ装置。
続きを表示(約 660 文字)
【請求項2】
請求項1に記載のモータ装置において、
前記回転軸の軸方向一側が、前記モータケースに固定された他の軸受により回転自在に支持され、
前記回転軸の軸方向における前記他の軸受と前記マグネットとの間には、前記回転軸の軸方向において前記他の軸受と対向する対向部材が設けられ、
前記回転軸の軸方向における前記他の軸受と前記対向部材との間には、圧縮荷重が加えられたコイルスプリングが配置されている、
モータ装置。
【請求項3】
請求項2に記載のモータ装置において、
前記軸受および前記他の軸受は、
径方向外側に配置される外輪と、
径方向内側に配置される内輪と、
前記外輪と前記内輪との間に配置される転動体と、
を有する転がり軸受であり、
前記外輪は、前記モータケースに設けられた軸受固定部に固定され、
前記内輪は、前記回転軸に当該回転軸の軸方向に移動可能に装着されている、
モータ装置。
【請求項4】
請求項1から請求項3の何れか1項に記載のモータ装置において、
前記モータケースには、前記回転軸の軸方向において前記マグネットと対向する磁気センサが設けられている、
モータ装置。
【請求項5】
請求項1から請求項3の何れか1項に記載のモータ装置において、
前記回転軸には、駆動対象物を駆動する駆動ギヤが固定されている、
モータ装置。
発明の詳細な説明
【技術分野】
【0001】
本発明は、ステータおよびロータを備えたモータ装置に関する。
続きを表示(約 1,600 文字)
【背景技術】
【0002】
例えば、特許文献1には、モータシャフトと、モータシャフトに対して軸方向に移動可能なセンサマグネットと、モータシャフトの軸方向においてセンサマグネットと対向するセンサ基板と、を備えたモータが記載されている。センサマグネットは、モータシャフトの軸方向において、スプリングのばね力によりセンサ基板に向けて押圧されている。これにより、センサマグネットとセンサ基板の磁気検出素子との間の隙間を自動調整可能とし、センシングの安定化を図ろうとしている。
【先行技術文献】
【特許文献】
【0003】
特開2016-127709号公報
【発明の概要】
【発明が解決しようとする課題】
【0004】
しかしながら、特許文献1に記載された技術では、モータシャフトよりも大径のセンサマグネットを、スプリングのばね力によりセンサ基板に向けて押圧する。そのため、比較的大きなばね力を発生するスプリングが必要となり、その分ロータの重量が嵩んで慣性質量が増大し、ひいては応答性の低下を招く虞があった。
【0005】
本発明の目的は、磁気吸引力でロータを軸方向に押圧可能とし、慣性質量の増大を抑えつつ安定したセンシングが行えるモータ装置を提供することにある。
【課題を解決するための手段】
【0006】
モータ装置の一態様では、ステータおよびロータを備えたモータ装置であって、前記ステータは、モータケースの径方向内側に固定されるステータコアと、前記ステータコアに設けられたティースに巻装されるコイルと、を有し、前記ロータは、前記モータケースに固定された軸受により回転自在に支持される回転軸と、前記回転軸に一体に設けられるマグネットと、前記回転軸に固定され、前記回転軸の軸方向一側から前記回転軸の軸方向他側に向けて前記軸受に突き当てられる突当部材と、を備え、前記マグネットの軸方向中央部が、前記ステータコアの軸方向中央部に対し、前記突当部材の前記軸受に対する突き当て方向とは反対側にずれている。
【発明の効果】
【0007】
本発明によれば、磁気吸引力でロータを軸方向に押圧可能とし、慣性質量の増大を抑えつつ安定したセンシングが行えるモータ装置を実現できる。
【図面の簡単な説明】
【0008】
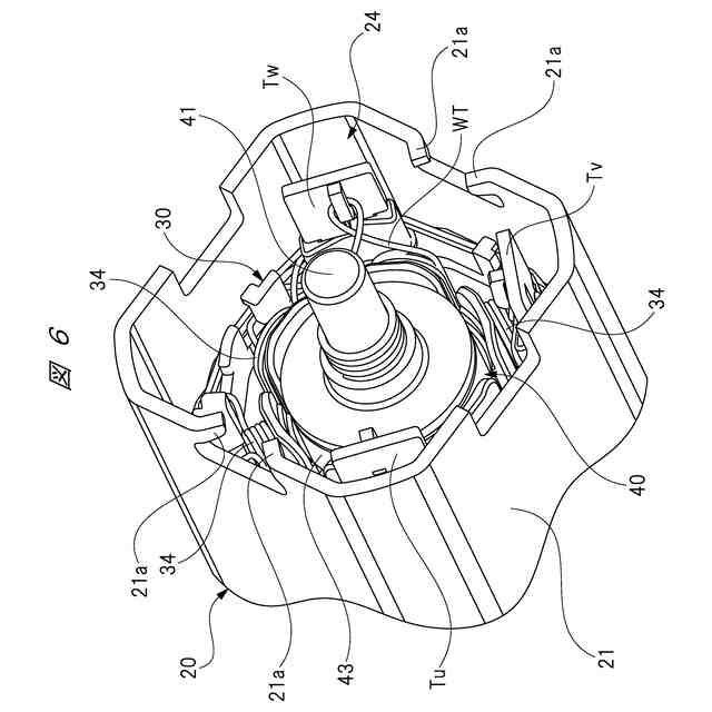
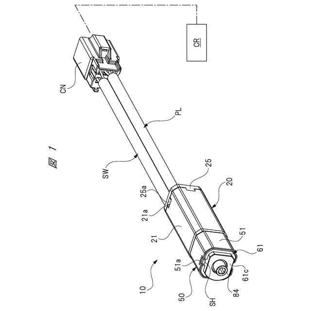
車両に搭載されるシート用モータを示す斜視図である。
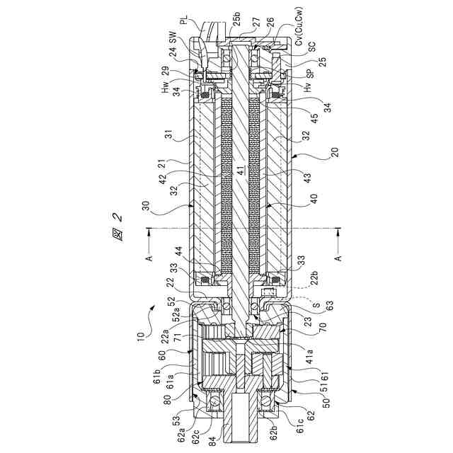
図1のシート用モータの回転軸の軸方向に沿う断面図である。
図2のA-A線に沿う断面図である。
第1ボールベアリングの周辺を示す拡大断面図である。
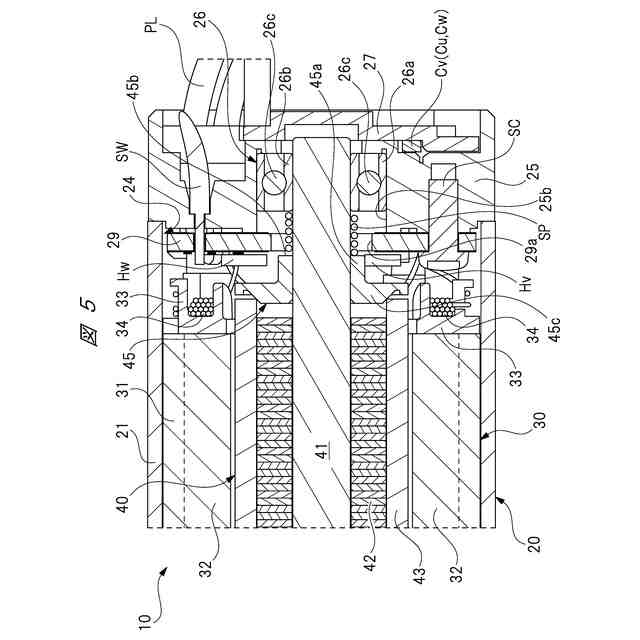
第2ボールベアリングの周辺を示す拡大断面図である。
電動モータ部の内部をカバー部材側から見た斜視図である。
カバー部材の内側を示す斜視図である。
ロータおよび第1,第2遊星歯車減速機を示す分解斜視図である。
磁気吸引力の作用を説明する電動モータ部の断面図である。
【発明を実施するための形態】
【0009】
以下、本発明の一実施の形態について、図面を用いて詳細に説明する。
【0010】
図1は車両に搭載されるシート用モータを示す斜視図を、図2は図1のシート用モータの回転軸の軸方向に沿う断面図を、図3は図2のA-A線に沿う断面図を、図4は第1ボールベアリングの周辺を示す拡大断面図を、図5は第2ボールベアリングの周辺を示す拡大断面図を、図6は電動モータ部の内部をカバー部材側から見た斜視図を、図7はカバー部材の内側を示す斜視図を、図8はロータおよび第1,第2遊星歯車減速機を示す分解斜視図を、図9は磁気吸引力の作用を説明する電動モータ部の断面図をそれぞれ示している。
(【0011】以降は省略されています)
この特許をJ-PlatPat(特許庁公式サイト)で参照する
関連特許
株式会社ミツバ
回転電機
1か月前
株式会社ミツバ
回転電機
1か月前
株式会社ミツバ
モータ装置
25日前
株式会社ミツバ
モータ装置
1か月前
株式会社ミツバ
モータ制御装置
1か月前
株式会社ミツバ
ブラシレスモータ
1か月前
株式会社ミツバ
モータ及びファン装置
1か月前
株式会社ミツバ
モータシステム及び電動車両
1か月前
株式会社ミツバ
モータ装置およびロータの製造方法
1か月前
株式会社ミツバ
モータ装置、ワイパー装置、及びモータ制御方法
1か月前
株式会社ミツバ
モータ装置、ワイパー装置、及びモータ制御方法
1か月前
個人
電気を重力で発電装置
10日前
キヤノン電子株式会社
モータ
9日前
キヤノン電子株式会社
モータ
17日前
コーセル株式会社
電源装置
18日前
日星電気株式会社
ケーブル組立体
25日前
トヨタ自動車株式会社
モータ
9日前
株式会社デンソー
回転機
1か月前
個人
二次電池繰返パルス放電器用印刷基板
23日前
株式会社kaisei
発電システム
1か月前
株式会社デンソー
電力変換装置
24日前
株式会社ミツバ
回転電機
1か月前
株式会社デンソー
電力変換装置
1か月前
トヨタ自動車株式会社
固定子の加熱装置
20日前
株式会社ダイヘン
インバータ装置
1か月前
株式会社デンソー
非接触受電装置
26日前
矢崎総業株式会社
ワイヤーハーネス
1か月前
トヨタ自動車株式会社
ステータの製造装置
10日前
個人
非対称鏡像力を有する4層PWB電荷搬送体
4日前
ローム株式会社
モータドライバ回路
4日前
日産自動車株式会社
ロータシャフト
4日前
日産自動車株式会社
ロータシャフト
4日前
山洋電気株式会社
モータ
23日前
株式会社アイシン
電力変換装置
9日前
トヨタ自動車株式会社
可変界磁ロータ
12日前
株式会社TMEIC
電力変換装置
1か月前
続きを見る
他の特許を見る