TOP
|
特許
|
意匠
|
商標
特許ウォッチ
Twitter
他の特許を見る
公開番号
2025169015
公報種別
公開特許公報(A)
公開日
2025-11-12
出願番号
2024073961
出願日
2024-04-30
発明の名称
ロータシャフト
出願人
日産自動車株式会社
代理人
個人
,
個人
主分類
H02K
9/19 20060101AFI20251105BHJP(電力の発電,変換,配電)
要約
【課題】従来のロータシャフトは、ロータの低速回転時や傾斜時の際、放熱部における作動流体の液化を阻害する恐れがあった。
【解決手段】回転電機MのロータRを構成するロータシャフト1であって、ロータコア11とロータ軸12,13とを同軸線上に備え、ロータコア11が、作動流体をF充填した沸騰部S1を有し、片方のロータ軸12が、沸騰部S1に連通する中間部S2と、中間部S2に連通する凝縮部S3とを有し、沸騰部S1と中間部S2との境界部分において、中間部S2の内径R2aが、沸騰部S1の内径Rよりも小さい構造とすることで、沸騰部S1と中間部S2との間の段差により、沸騰部S1から凝縮部S3への作動流体Fの流入を防止し、ロータRの回転速度や姿勢が変化した場合でも安定した動作を実現する。
【選択図】図1
特許請求の範囲
【請求項1】
回転電機のロータを構成するロータシャフトであって、
ロータコアと、前記ロータコアの両端に連結したロータ軸とを同軸線上に備え、
前記ロータコアが、その内部に、作動流体を充填した円柱状空間である沸騰部を有し、 片方の前記ロータ軸が、その内部に、前記沸騰部に連通する円柱状空間である中間部と、前記中間部に連通する円柱状空間である凝縮部とを有し、
前記沸騰部と前記中間部との境界部分において、前記中間部の内径が、前記沸騰部の内径よりも小さいことを特徴とするロータシャフト。
続きを表示(約 540 文字)
【請求項2】
前記中間部と前記凝縮部との境界部分において、前記中空部の内径が、前記凝縮部の内径以上であり、且つ前記沸騰部側に向けて漸次増大していることを特徴とする請求項1に記載のロータシャフト。
【請求項3】
前記凝縮部の内径が、軸線方向にわたって同一、又は前記中間部側に向けて漸次増大していることを特徴とする請求項2に記載のロータシャフト。
【請求項4】
前記沸騰部に充填した前記作動流体の体積が、前記沸騰部の内径と前記中間部の内径との差、及び前記沸騰部の軸線方向の長さに基づいて算出した基準容積よりも小さいことを特徴とする請求項3に記載のロータシャフト。
【請求項5】
前記沸騰部が、前記中間部の周縁部から軸線方向に突出する環状体を有することを特徴とする請求項4に記載のロータシャフト。
【請求項6】
前記環状体が、作動流体の透過性を有すると共に、前記沸騰部の軸線方向にわたって配置してあることを特徴とする請求項5に記載のロータシャフト。
【請求項7】
請求項1~6のいずれか1項に記載のロータシャフトを含むロータと、前記ロータに対応するステータとを備えたことを特徴とする回転電機。
発明の詳細な説明
【技術分野】
【0001】
本発明は、回転電機のロータを構成するロータシャフトに関し、とくに、沸騰冷却機能を有するロータシャフトに関するものである。
続きを表示(約 1,700 文字)
【背景技術】
【0002】
従来、沸騰冷却機能を有するロータシャフトとしては、例えば、特許文献1に記載されているものがある。特許文献1には、回転可能に保持された軸状のコンテナの内部にヒートパイプを収容した構成が記載されている。ヒートパイプは、主要部分である受熱部と、受熱部の一端に連続する中間部と、中間部に連通する放熱部とを有している。受熱部及び中間部は、軸線方向にわたって一定の内径を有すると共に、その内周面に、作動流体を保持するウイックが配置してある。放熱部は、ロータの外側に突出しており、中間部から先端に至る方向に内径が漸次減少するテーパ構造である。
【0003】
上記のロータシャフトは、ロータで発生した熱を受熱部で吸収して、ウイックに保持されている作動流体を気化させ、その気化熱によりロータを冷却する。そして、ロータシャフトは、放熱部において、受熱部の熱を外部に放出すると共に、放熱部の内面が作動流体の液膜で覆われた状態にする膜状凝縮を生じさせて蒸気を液化し、その液体を遠心力及びテーパ構造によって受熱部に戻すというサイクルを繰り返す。
【先行技術文献】
【特許文献】
【0004】
特開2016-102616号公報
【発明の概要】
【発明が解決しようとする課題】
【0005】
しかしながら、上記した従来のロータシャフトは、ロータの低速回転時において、放熱部の液体に生じる遠心力よりも重力が支配的になると、液体が放熱部の内壁に張り付かなくなって、膜状凝縮が良好に行われなくなる恐れがある。また、上記ロータシャフトは、ロータが低速回転であるうえに、放熱部が下側になるように傾斜した場合、受熱部と放熱部との間に作動流体が溜まり、放熱部における液膜が厚くなって膜状凝縮を阻害する恐れがある。
【0006】
本発明は、上記従来の状況に鑑みて成されたもので、沸騰部と凝縮部を備えた構造により沸騰冷却機能を有するロータシャフトであって、沸騰部から凝縮部への作動流体の流入を防止して、ロータの回転速度や姿勢が変化した場合でも安定した動作を実現するロータシャフトを提供することを目的としている。
【課題を解決するための手段】
【0007】
本発明に係わるロータシャフトは、回転電機のロータを構成し、ロータコアと、ロータコアの両端に連結したロータ軸とを同軸線上に備えている。ロータコアは、その内部に、作動流体を充填した円柱状空間である沸騰部を有している。片方のロータ軸は、その内部に、沸騰部に連通する円柱状空間である中間部と、中間部に連通する円柱状空間である凝縮部とを有している。そして、ロータシャフトは、沸騰部と中間部との境界部分において、中間部の内径が、沸騰部の内径よりも小さいことを特徴としている。
【発明の効果】
【0008】
本発明に係わるロータシャフトは、上記構成を採用したことにより、沸騰冷却機能を備えたロータシャフトにおいて、内径が大きい沸騰部と内径が小さい中間部との間に段差が形成されるので、沸騰部から凝縮部への作動流体の流入を防止して、ロータの回転速度や姿勢が変化した場合でも安定した動作を実現することができる。
【図面の簡単な説明】
【0009】
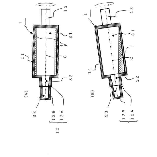
ロータシャフトの第1実施形態を示す断面説明図(A)、及び図A中のA-A線矢視に基づく断面図(B)である。
水平状態で高速回転するロータシャフトを示す断面図(A)、及び傾斜状態で低速回転するロータシャフトを示す断面図(B)である。
ロータシャフトの第2実施形態を示す断面図(A)、及びロータシャフトの第3実施形態を示す断面図(B)である。
【発明を実施するための形態】
【0010】
<第1実施形態>
図1(A)に示すロータシャフト1は、回転電機であるモータMのロータRを構成している。なお、図1(A)は、ステータSの片側半分を省略したモータの断面図であり、図1(B)は、図1(A)中のA-A線矢視に基づく断面図である。
(【0011】以降は省略されています)
この特許をJ-PlatPat(特許庁公式サイト)で参照する
関連特許
日産自動車株式会社
二次電池
16日前
日産自動車株式会社
二次電池
19日前
日産自動車株式会社
保持機構
26日前
日産自動車株式会社
内燃機関
5日前
日産自動車株式会社
電動車両
8日前
日産自動車株式会社
保持機構
20日前
日産自動車株式会社
積層型電池
26日前
日産自動車株式会社
面圧付与機構
26日前
日産自動車株式会社
面圧付与機構
22日前
日産自動車株式会社
ロータシャフト
今日
日産自動車株式会社
電池モジュール
13日前
日産自動車株式会社
電池モジュール
6日前
日産自動車株式会社
ロータシャフト
今日
日産自動車株式会社
車両用排気部構造
5日前
日産自動車株式会社
リチウム二次電池
5日前
日産自動車株式会社
リチウム二次電池
19日前
日産自動車株式会社
塗装方法及び自動車
7日前
日産自動車株式会社
ギヤ装置のブリーザ構造
22日前
日産自動車株式会社
エンジンのアンダカバー
13日前
株式会社ニフコ
締結構造
13日前
日産自動車株式会社
車両用荷室における排熱構造
16日前
日産自動車株式会社
相乗り可否判定方法及び装置
16日前
日産自動車株式会社
車載機能制御方法及び車載端末
21日前
日産自動車株式会社
経路案内方法及び経路案内装置
21日前
日産自動車株式会社
配車管理装置及び配車管理方法
27日前
日産自動車株式会社
車両制御装置及び車両制御方法
27日前
日産自動車株式会社
施錠制御方法及び施錠制御装置
15日前
日産自動車株式会社
画像処理方法及び画像処理装置
1か月前
日産自動車株式会社
運転支援方法及び運転支援装置
13日前
日産自動車株式会社
運転支援方法及び運転支援装置
14日前
日産自動車株式会社
車両制御方法および車両制御装置
14日前
日産自動車株式会社
車両制御方法および車両制御装置
14日前
日産自動車株式会社
固体酸化物形燃料電池の製造方法
28日前
日産自動車株式会社
車両制御方法および車両制御装置
14日前
日産自動車株式会社
物体検出方法、及び物体検出装置
5日前
日産自動車株式会社
衝突回避方法、及び衝突回避装置
5日前
続きを見る
他の特許を見る