TOP
|
特許
|
意匠
|
商標
特許ウォッチ
Twitter
他の特許を見る
公開番号
2025172374
公報種別
公開特許公報(A)
公開日
2025-11-26
出願番号
2024077855
出願日
2024-05-13
発明の名称
熱利用回路
出願人
トヨタ自動車株式会社
代理人
個人
,
個人
,
個人
主分類
H02M
7/48 20070101AFI20251118BHJP(電力の発電,変換,配電)
要約
【課題】複数の冷却対象を冷却する冷却媒体が熱交換した熱を効率的に利用する。
【解決手段】
熱利用回路2は、トランスアクスル26を冷却した冷却媒体の温度がインバータ21を冷却した冷却媒体の温度以上の場合に、インバータ21を冷却した冷却媒体とトランスアクスル26との間で熱交換を行い、トランスアクスル26を冷却した冷却媒体の温度がインバータ21を冷却した冷却媒体の温度より低い場合に、インバータ21を冷却した冷却媒体とトランスアクスル26との間での熱交換を抑制する。
【選択図】図1
特許請求の範囲
【請求項1】
インバータを冷却する冷却媒体が流れる第1冷却流路と、
トランスアクスルを冷却する冷却媒体が流れる第2冷却流路と、を備え、
前記トランスアクスルを冷却した冷却媒体の温度が前記インバータを冷却した冷却媒体の温度以上の場合に、前記インバータを冷却した冷却媒体と前記トランスアクスルとの間で熱交換を行い、
前記トランスアクスルを冷却した冷却媒体の温度が前記インバータを冷却した冷却媒体の温度より低い場合に、前記インバータを冷却した冷却媒体と前記トランスアクスルとの間での熱交換を抑制する、熱利用回路。
続きを表示(約 1,000 文字)
【請求項2】
請求項1に記載の熱利用回路であって、
前記第1冷却流路には、インバータを冷却する第1冷却媒体が流れ、
前記第2冷却流路には、トランスアクスルを冷却する第2冷却媒体が流れ、
更に、前記第1冷却媒体と前記第2冷却媒体との間で熱交換を行う熱交換器を備え、
前記トランスアクスルを冷却した第2冷却媒体の温度が前記インバータを冷却した第1冷却媒体の温度以上の場合に、前記熱交換器における熱交換を行い、
前記トランスアクスルを冷却した前記第2冷却媒体の温度が前記インバータを冷却した第1冷却媒体の温度よりも低い場合に、前記熱交換器における熱交換を抑制する、熱利用回路。
【請求項3】
請求項2に記載の熱利用回路であって、
前記第1冷却流路及び/又は前記第2冷却流路は、前記熱交換器を経由する熱交換流路と、前記熱交換器を経由しないバイパス流路と、前記第1冷却媒体及び/又は前記第2冷却媒体を前記熱交換流路に流すか前記バイパス流路に流すかを切り替える切替弁と、を有し、
前記切替弁は、
前記トランスアクスルを冷却した第2冷却媒体の温度が前記インバータを冷却した第1冷却媒体の温度以上の場合に、前記第1冷却媒体及び/又は前記第2冷却媒体を前記熱交換流路に流し、
前記トランスアクスルを冷却した第2冷却媒体の温度が前記インバータを冷却した第1冷却媒体の温度よりも低い場合に、前記第1冷却媒体及び/又は前記第2冷却媒体を前記バイパス流路に流す量を増大させる、熱利用回路。
【請求項4】
請求項1に記載の熱利用回路であって、
前記第1冷却流路及び前記第2冷却流路には同じ冷却媒体が流れ、
更に、前記インバータを冷却した冷却媒体が前記トランスアクスルを経由しないバイパス流路と、前記冷却媒体を前記第2冷却流路に流すか前記バイパス流路に流すかを切り替える切替弁と、を備え、
前記切替弁は、
前記トランスアクスルを冷却した冷却媒体の温度が前記インバータを冷却した冷却媒体の温度以上の場合に、前記インバータを冷却した冷却媒体を前記第2冷却流路に流し、
前記トランスアクスルを冷却した冷却媒体の温度が前記インバータを冷却した冷却媒体の温度より低い場合に、前記インバータを冷却した冷却媒体を前記バイパス流路に流す量を増大させる、熱利用回路。
発明の詳細な説明
【技術分野】
【0001】
本開示は、熱利用回路に関する。
続きを表示(約 1,300 文字)
【背景技術】
【0002】
車両において冷却対象を冷却した冷却媒体の熱を利用し、加熱対象を昇温することが知られている。下記特許文献1では、暖房用のチラーの吸熱源にインバータを用いることが開示されている。
【先行技術文献】
【特許文献】
【0003】
特開2020-165604号公報
【発明の概要】
【発明が解決しようとする課題】
【0004】
特許文献1では、冷却対象としてインバータのみが開示されており、複数の冷却対象が配置された場合の冷却媒体の熱利用については開示がない。複数の冷却対象の昇温速度が互いに異なる場合、複数の冷却対象を冷却した冷却媒体の熱を利用すると加熱対象を効率的に昇温することができない場合がある。例えば、昇温速度が比較的速い冷却対象を冷却し昇温された冷却媒体を、昇温速度が比較的遅い冷却対象を冷却に用いると放熱してしまう場合があり、加熱対象の昇温効率が低下してしまう恐れがある。
【0005】
本開示は、複数の冷却対象を冷却する冷却媒体が熱交換した熱を効率的に利用することを目的とする。
【課題を解決するための手段】
【0006】
本開示は、熱利用回路であって、インバータを冷却する冷却媒体が流れる第1冷却流路と、トランスアクスルを冷却する冷却媒体が流れる第2冷却流路と、を備える。熱利用回路は、トランスアクスルを冷却した冷却媒体の温度がインバータを冷却した冷却媒体の温度以上の場合に、インバータを冷却した冷却媒体とトランスアクスルとの間で熱交換を行い、トランスアクスルを冷却した冷却媒体の温度がインバータを冷却した冷却媒体の温度より低い場合に、インバータを冷却した冷却媒体とトランスアクスルとの間での熱交換を抑制する。
【発明の効果】
【0007】
本開示によれば、複数の冷却対象を冷却する冷却媒体が熱交換した熱を効率的に利用することができる。
【図面の簡単な説明】
【0008】
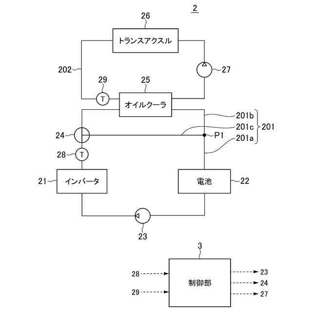
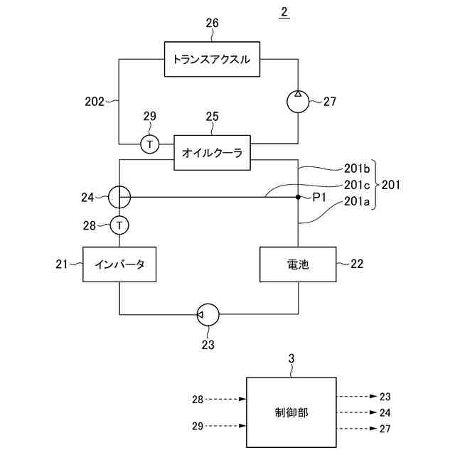
図1は、本実施形態に係る熱利用回路の構成を説明するための図である。
図2は、図1に示される熱利用回路の動作を説明するためのフローチャートである。
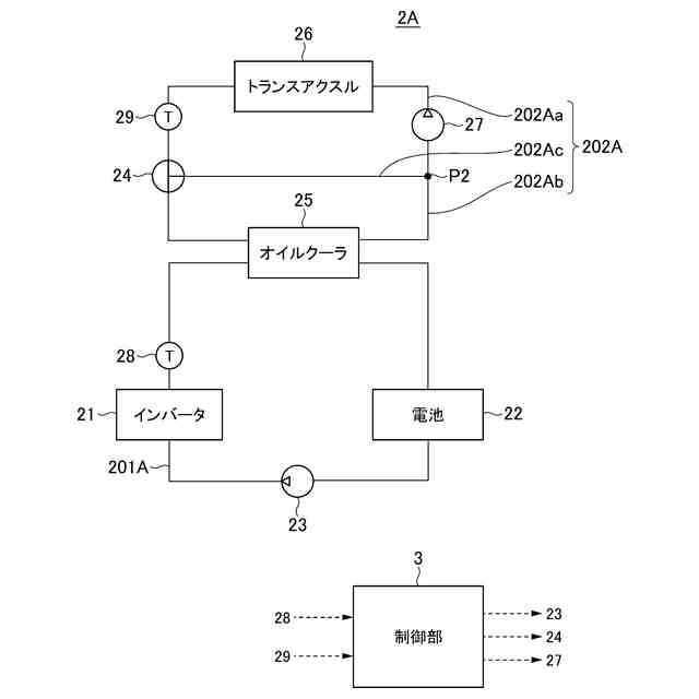
図3は、本実施形態の変形例に係る熱利用回路の構成を説明するための図である。
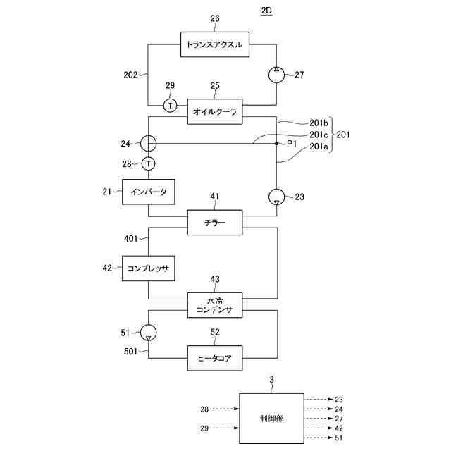
図4は、本実施形態の変形例に係る熱利用回路の構成を説明するための図である。
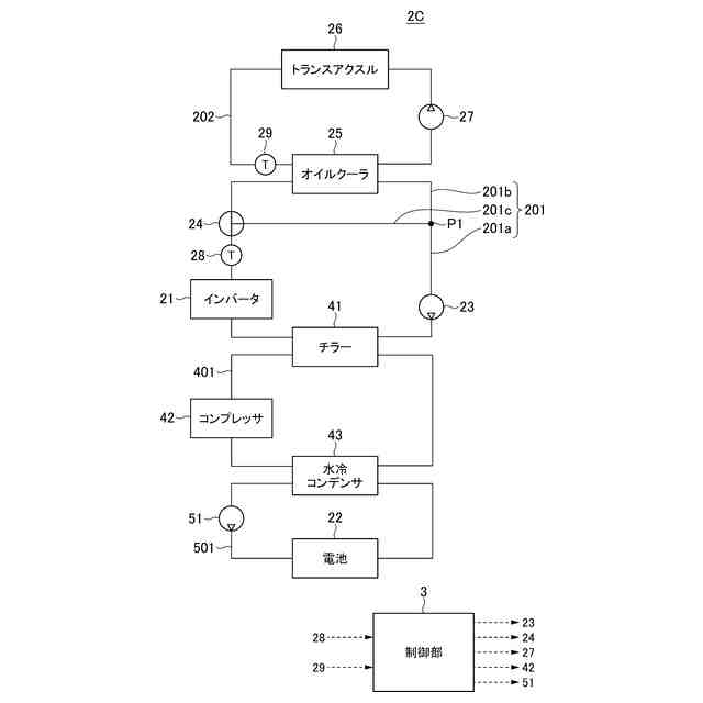
図5は、本実施形態の変形例に係る熱利用回路の構成を説明するための図である。
図6は、本実施形態の変形例に係る熱利用回路の構成を説明するための図である。
【発明を実施するための形態】
【0009】
以下、添付図面を参照しながら本実施形態について説明する。説明の理解を容易にするため、各図面において同一の構成要素に対しては可能な限り同一の符号を付して、重複する説明は省略する。
【0010】
図1を参照しながら、本実施形態に係る熱利用回路2について説明する。熱利用回路2は、車両に搭載される熱交換システムである。熱利用回路2は、第1冷却流路201と、第2冷却流路202と、を備えている。
(【0011】以降は省略されています)
この特許をJ-PlatPat(特許庁公式サイト)で参照する
関連特許
トヨタ自動車株式会社
方法
20日前
トヨタ自動車株式会社
車両
7日前
トヨタ自動車株式会社
車体
20日前
トヨタ自動車株式会社
車両
6日前
トヨタ自動車株式会社
電池
12日前
トヨタ自動車株式会社
車両
20日前
トヨタ自動車株式会社
電池
21日前
トヨタ自動車株式会社
電池
6日前
トヨタ自動車株式会社
配管
7日前
トヨタ自動車株式会社
車両
20日前
トヨタ自動車株式会社
車両
21日前
トヨタ自動車株式会社
蓄電池
20日前
トヨタ自動車株式会社
ロータ
7日前
トヨタ自動車株式会社
電動車
7日前
トヨタ自動車株式会社
電動車
6日前
トヨタ自動車株式会社
モータ
19日前
トヨタ自動車株式会社
制御装置
7日前
トヨタ自動車株式会社
電動車両
20日前
トヨタ自動車株式会社
路側装置
19日前
トヨタ自動車株式会社
蓄電装置
6日前
トヨタ自動車株式会社
コネクタ
6日前
トヨタ自動車株式会社
エンジン
6日前
トヨタ自動車株式会社
制御装置
19日前
トヨタ自動車株式会社
路側装置
19日前
トヨタ自動車株式会社
推定装置
19日前
トヨタ自動車株式会社
制御装置
7日前
トヨタ自動車株式会社
エンジン
7日前
トヨタ自動車株式会社
濾過装置
21日前
トヨタ自動車株式会社
蓄電装置
6日前
トヨタ自動車株式会社
路側装置
19日前
トヨタ自動車株式会社
製造設備
12日前
トヨタ自動車株式会社
制御装置
6日前
トヨタ自動車株式会社
蓄電装置
19日前
トヨタ自動車株式会社
制御装置
19日前
トヨタ自動車株式会社
電動車両
19日前
トヨタ自動車株式会社
学習装置
6日前
続きを見る
他の特許を見る