TOP
|
特許
|
意匠
|
商標
特許ウォッチ
Twitter
他の特許を見る
公開番号
2025166611
公報種別
公開特許公報(A)
公開日
2025-11-06
出願番号
2024070769
出願日
2024-04-24
発明の名称
車体
出願人
トヨタ自動車株式会社
代理人
弁理士法人太陽国際特許事務所
主分類
B62D
25/20 20060101AFI20251029BHJP(鉄道以外の路面車両)
要約
【課題】車体を構成する部品点数の低減を図ることができると共に、車体を構成する部品の共通化を図ることができる車体を得る。
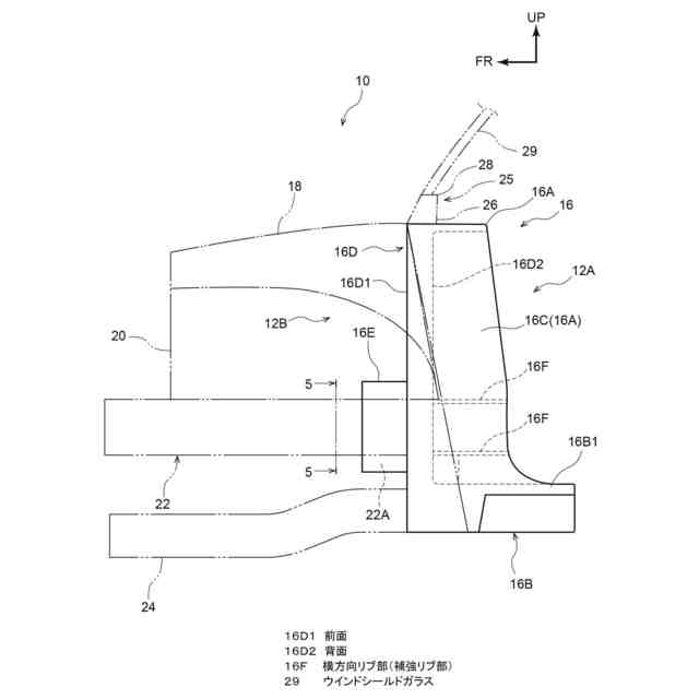
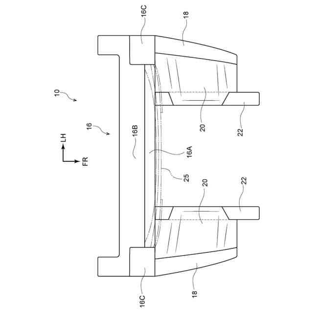
【解決手段】車体10は、金属の鋳造品とされ、車両幅方向に延在すると共にウインドシールドガラスを支持可能な上側構成部16Aと、車両幅方向に延在すると共にフロア部の前縁に沿って配置されてフロア部を支持可能とされた下側構成部16Bと、サスペンションの一部を支持可能なサスペンションタワー20を取付可能とされ、フロントピラー10Aの車両下側の一部を構成すると共に上側構成部16Aと下側構成部16Bとを繋ぐ一対の側部構成部16Cと、上側構成部16A、下側構成部16B及び側部構成部16Cと一体とされると共に車室12Aとパワーユニットルーム12Dとを仕切る隔壁部16Dと、を有する車体構成部品16を備えている。
【選択図】図1
特許請求の範囲
【請求項1】
金属の鋳造品とされ、
車両幅方向に延在すると共にウインドシールドガラスを支持可能な上側構成部と、
車両幅方向に延在すると共にフロア部の前縁に沿って配置されて当該フロア部を支持可能とされた下側構成部と、
サスペンションの一部を支持可能なサスペンション支持部を取付可能とされ、フロントピラーの車両下側の一部を構成すると共に前記上側構成部と前記下側構成部とを繋ぐ一対の側部構成部と、
前記上側構成部、前記下側構成部及び前記側部構成部と一体とされると共に車室とパワーユニットルームとを仕切る隔壁部と、
を有する車体構成部品を備えた車体。
続きを表示(約 360 文字)
【請求項2】
前記隔壁部に車両前後方向に貫通された貫通部が形成され、当該貫通部は、ダッシュパネル構成部品で塞がれると共に、
前記ダッシュパネル構成部品にブレーキ装置の一部が取り付けられている、
請求項1に記載の車体。
【請求項3】
前記ダッシュパネル構成部品は、樹脂製とされている、
請求項2に記載の車体。
【請求項4】
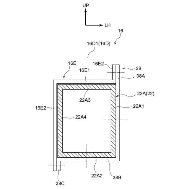
車両前後方向に延在しかつ前記サスペンション支持部の車両下側において前記隔壁部の車両前側の前面に対して取り付けられた前後方向骨格部をさらに備え、
前記隔壁部の車両後側の背面には、当該背面から車両後側に突出しかつ車両前後方向から見て前記前後方向骨格部から延出された補強リブ部が形成されている、
請求項1に記載の車体。
発明の詳細な説明
【技術分野】
【0001】
本発明は、車体に関する。
続きを表示(約 1,600 文字)
【背景技術】
【0002】
下記特許文献1には、車両の前部車体構造に関する発明が開示されている。この車両の前部車体構造では、アルミ合金製鋳造品とされたサスハウジングを備えている。このため、下記先行技術では、複数の部材を溶接で接合してサスハウジングを形成するような構成に比べて部品点数を低減することができる。
【先行技術文献】
【特許文献】
【0003】
特開2022-166936号公報
【発明の概要】
【発明が解決しようとする課題】
【0004】
ところで、上記先行技術において、サスハウジングには、サスペンションの一部を構成するダンパが取り付けられているが、サスペンションの取付位置は車両の仕様等によって異なるため、上記先行技術が、車体を構成する部品の共通化という観点においては改善の余地がある。
【0005】
本発明は上記事実を考慮し、車体を構成する部品点数の低減を図ることができると共に、車体を構成する部品の共通化を図ることができる車体を得ることが目的である。
【課題を解決するための手段】
【0006】
第1の態様に係る車体は、金属の鋳造品とされ、車両幅方向に延在すると共にウインドシールドガラスを支持可能な上側構成部と、車両幅方向に延在すると共にフロア部の前縁に沿って配置されて当該フロア部を支持可能とされた下側構成部と、サスペンションの一部を支持可能なサスペンション支持部を取付可能とされ、フロントピラーの車両下側の一部を構成すると共に前記上側構成部と前記下側構成部とを繋ぐ一対の側部構成部と、前記上側構成部、前記下側構成部及び前記側部構成部と一体とされると共に車室とパワーユニットルームとを仕切る隔壁部と、を有する車体構成部品を備えている。
【0007】
第1の態様に係る車体によれば、車両幅方向に延在する上側構成部と、車両幅方向に延在する下側構成部と、上側構成部と下側構成部とを繋ぐ一対の側部構成部と、上側構成部、下側構成部及び側部構成部と一体とされた隔壁部とを有する車体構成部品を備えている。
【0008】
ところで、種々の仕様の車両において、ウインドシールドガラスの形状は同様の形状とされている傾向にあり、車体におけるウインドシールドガラスを支持する箇所の形状も類似する傾向にある。また、種々の仕様の車両において、車体のフロア部の高さ等はそれぞれ異なる傾向にあるものの、車体におけるフロア部とそれを支持する部分との相関関係は類似する傾向にある。また、種々の仕様の車両において、フロントピラー全体の構成としては異なる傾向にあるものの、フロントピラーの車両下側の部分の構成は、類似する傾向にある。さらに、種々の仕様の車両において、車室とパワーユニットルームとを仕切る隔壁の構成は、類似する傾向にある。
【0009】
ここで、本態様では、上側構成部がウインドシールドガラスを支持可能とされており、下側構成部がフロア部の前縁に沿って配置されてフロア部を支持可能とされており、側部構成部がフロントピラーの車両下側の一部を構成しており、隔壁部で車室とパワーユニットルームとが仕切られている。また、側部構成部は、取付位置が車両の仕様等によって異なる傾向にあるサスペンションの一部を支持可能なサスペンション支持部を取付可能とされている。
【0010】
すなわち、本態様では、種々の仕様の車両において車体における共通化可能な部分が車体構成部品に集約されている。また、種々の仕様の車両において車体における共通化が困難な部分が、車体構成部品と別体とされて車体構成部品に取り付けられている。
(【0011】以降は省略されています)
この特許をJ-PlatPat(特許庁公式サイト)で参照する
関連特許
トヨタ自動車株式会社
車両
24日前
トヨタ自動車株式会社
車両
10日前
トヨタ自動車株式会社
電池
1日前
トヨタ自動車株式会社
治具
1か月前
トヨタ自動車株式会社
車両
1か月前
トヨタ自動車株式会社
椅子
1か月前
トヨタ自動車株式会社
電池
15日前
トヨタ自動車株式会社
車両
1か月前
トヨタ自動車株式会社
車両
1か月前
トヨタ自動車株式会社
方法
1か月前
トヨタ自動車株式会社
電池
1か月前
トヨタ自動車株式会社
電池
1か月前
トヨタ自動車株式会社
方法
1か月前
トヨタ自動車株式会社
車両
1か月前
トヨタ自動車株式会社
方法
1か月前
トヨタ自動車株式会社
車体
1か月前
トヨタ自動車株式会社
電池
9日前
トヨタ自動車株式会社
車両
1か月前
トヨタ自動車株式会社
方法
1か月前
トヨタ自動車株式会社
方法
1か月前
トヨタ自動車株式会社
車両
1か月前
トヨタ自動車株式会社
車両
1か月前
トヨタ自動車株式会社
車両
1か月前
トヨタ自動車株式会社
方法
1か月前
トヨタ自動車株式会社
車両
9日前
トヨタ自動車株式会社
電池
1日前
トヨタ自動車株式会社
配管
10日前
トヨタ自動車株式会社
車両
1か月前
トヨタ自動車株式会社
車両
23日前
トヨタ自動車株式会社
車体
23日前
トヨタ自動車株式会社
電池
24日前
トヨタ自動車株式会社
車両
1か月前
トヨタ自動車株式会社
車両
23日前
トヨタ自動車株式会社
方法
23日前
トヨタ自動車株式会社
電動機
1か月前
トヨタ自動車株式会社
正極層
1か月前
続きを見る
他の特許を見る