TOP
|
特許
|
意匠
|
商標
特許ウォッチ
Twitter
他の特許を見る
公開番号
2025161630
公報種別
公開特許公報(A)
公開日
2025-10-24
出願番号
2024064981
出願日
2024-04-12
発明の名称
方法
出願人
トヨタ自動車株式会社
代理人
個人
,
個人
,
個人
,
個人
主分類
E05B
49/00 20060101AFI20251017BHJP(錠;鍵;窓または戸の付属品;金庫)
要約
【課題】車両のドアの開錠に関する技術を改善する。
【解決手段】車両向けのテレマティクスサービスを提供する情報処理装置20は、テレマティクスサービスを利用するユーザのアカウントに紐づけて、当該ユーザの車両30に用いられるスマートキーの識別情報を登録する。次に情報処理装置20は、車両30のドアの開錠を許可する条件を設定する。次に情報処理装置20は、当該条件が満たされたことを検出すると、車両30の状態を第1状態から第2状態に切り替える。そして情報処理装置20は、スマートキーを使用して車両30のドアを開錠する操作を検出すると、車両30の状態が第2状態である場合、ドアを開錠する指示を車両30へ送信する。
【選択図】図2
特許請求の範囲
【請求項1】
車両向けのテレマティクスサービスを提供する情報処理装置が実行する方法であって、
前記テレマティクスサービスを利用するユーザのアカウントに紐づけて、前記ユーザの車両に用いられるスマートキーの識別情報を登録することと、
前記車両のドアの開錠を許可する条件を設定することと、
前記条件が満たされたことを検出すると、前記車両の状態を第1状態から第2状態に切り替えることと、
前記スマートキーを使用して前記ドアを開錠する操作を検出すると、前記車両の状態が前記第2状態である場合、前記ドアを開錠する指示を前記車両へ送信することと、
を含む、方法。
発明の詳細な説明
【技術分野】
【0001】
本開示は、方法に関する。
続きを表示(約 1,000 文字)
【背景技術】
【0002】
従来、車両のドアの開錠に関する技術が知られている。例えば、特許文献1には、車両の施錠位置と端末装置の位置情報が適合する場合に、開錠を許可する技術が開示されている。
【先行技術文献】
【特許文献】
【0003】
特開2022-054747
【発明の概要】
【発明が解決しようとする課題】
【0004】
車両のドアの開錠に関する技術には改善の余地があった。
【0005】
かかる事情に鑑みてなされた本開示の目的は、車両のドアの開錠に関する技術を改善することにある。
【課題を解決するための手段】
【0006】
本開示の一実施形態に係る方法は、
車両向けのテレマティクスサービスを提供する情報処理装置が実行する方法であって、
前記テレマティクスサービスを利用するユーザのアカウントに紐づけて、前記ユーザの車両に用いられるスマートキーの識別情報を登録することと、
前記車両のドアの開錠を許可する条件を設定することと、
前記条件が満たされたことを検出すると、前記車両の状態を第1状態から第2状態に切り替えることと、
前記スマートキーを使用して前記ドアを開錠する操作を検出すると、前記車両が前記第2状態である場合、前記ドアを開錠する指示を前記車両へ送信することと、
を含む。
【発明の効果】
【0007】
本開示の一実施形態によれば、車両のドアの開錠に関する技術が改善される。
【図面の簡単な説明】
【0008】
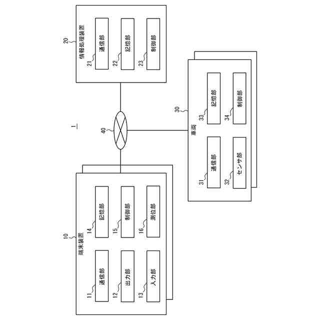
本開示の一実施形態に係るシステムの概略構成を示すブロック図である。
情報処理装置の第1動作を示すフローチャートである。
情報処理装置の第2動作を示すフローチャートである。
【発明を実施するための形態】
【0009】
以下、本開示の実施形態について説明する。
【0010】
(実施形態の概要)
図1を参照して、本開示の実施形態に係るシステム1の概要について説明する。システム1は、複数の端末装置10と、情報処理装置20と、複数の車両30と、を備える。複数の端末装置10、情報処理装置20、及び複数の車両30は、例えばインターネット及び移動体通信網等を含むネットワーク40と通信可能に接続される。
(【0011】以降は省略されています)
この特許をJ-PlatPat(特許庁公式サイト)で参照する
関連特許
トヨタ自動車株式会社
車両
今日
トヨタ自動車株式会社
配管
15日前
トヨタ自動車株式会社
電池
20日前
トヨタ自動車株式会社
車両
14日前
トヨタ自動車株式会社
電池
6日前
トヨタ自動車株式会社
電池
6日前
トヨタ自動車株式会社
電池
14日前
トヨタ自動車株式会社
車両
15日前
トヨタ自動車株式会社
ロータ
15日前
トヨタ自動車株式会社
モータ
27日前
トヨタ自動車株式会社
電動車
15日前
トヨタ自動車株式会社
電動車
14日前
トヨタ自動車株式会社
蓄電装置
6日前
トヨタ自動車株式会社
蓄電装置
6日前
トヨタ自動車株式会社
蓄電装置
6日前
トヨタ自動車株式会社
エンジン
15日前
トヨタ自動車株式会社
製造設備
20日前
トヨタ自動車株式会社
蓄電装置
6日前
トヨタ自動車株式会社
コネクタ
14日前
トヨタ自動車株式会社
監視装置
20日前
トヨタ自動車株式会社
判定装置
14日前
トヨタ自動車株式会社
蓄電装置
6日前
トヨタ自動車株式会社
蓄電装置
6日前
トヨタ自動車株式会社
蓄電装置
6日前
トヨタ自動車株式会社
処理装置
6日前
トヨタ自動車株式会社
蓄電装置
7日前
トヨタ自動車株式会社
制御装置
15日前
トヨタ自動車株式会社
蓄電装置
6日前
トヨタ自動車株式会社
制御装置
15日前
トヨタ自動車株式会社
蓄電装置
6日前
トヨタ自動車株式会社
蓄電装置
6日前
トヨタ自動車株式会社
蓄電装置
7日前
トヨタ自動車株式会社
制御装置
6日前
トヨタ自動車株式会社
蓄電装置
6日前
トヨタ自動車株式会社
蓄電装置
6日前
トヨタ自動車株式会社
制御装置
15日前
続きを見る
他の特許を見る