TOP
|
特許
|
意匠
|
商標
特許ウォッチ
Twitter
他の特許を見る
公開番号
2025176305
公報種別
公開特許公報(A)
公開日
2025-12-04
出願番号
2024082334
出願日
2024-05-21
発明の名称
車両
出願人
トヨタ自動車株式会社
代理人
弁理士法人深見特許事務所
主分類
B60W
60/00 20200101AFI20251127BHJP(車両一般)
要約
【課題】自動運転システムからの指令とユーザの要求とに基づいて適切な制御を実行する。
【解決手段】VCIBは、ReadyON指令があると判定され(S100にてYES)、ReadyONが可能な状態であって(S102にてYES)、ユーザ操作による指令である場合に(S106にてYES)、指令履歴を削除するステップ(S106)と、ReadyONの指令履歴がないと(S110にてNO)、マニュアルモードを設定するステップ(S114)と、ユーザ操作による指令でない場合(S104にてNO)、指令履歴を記憶するステップ(S108)と、ReadyON指令履歴があると(S110にてYES)、スタンバイモードを設定するステップ(S112)とを含む、処理を実行する。
【選択図】図3
特許請求の範囲
【請求項1】
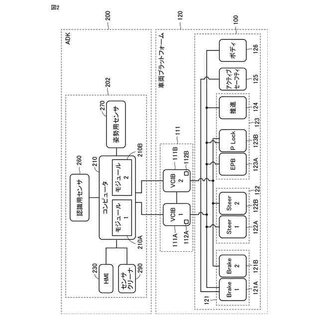
車両の自動運転を行なう自動運転システムと、
前記車両の移動を制限するスタンバイモードと、前記自動運転システムを用いて前記自動運転を行なう自動運転モードとを含む複数の運転モードのうちのいずれかに従って車両制御を実行する車両プラットフォームと、
前記車両プラットフォームと前記自動運転システムとの間のインターフェースを行なう車両制御インターフェースとを備え、
前記車両制御インターフェースは、
前記車両プラットフォームによる運転が可能な第1状態に移行する移行指令を前記自動運転システムから受け付けた場合に前記スタンバイモードを設定し、
前記移行指令を前記自動運転システムから受け付けた履歴がある状態で、ユーザ操作によって前記移行指令を受け付けた場合に前記履歴を削除する、車両。
続きを表示(約 310 文字)
【請求項2】
前記車両制御インターフェースは、前記第1状態に移行できないときに前記移行指令を前記自動運転システムから受け付けた場合には前記履歴を記憶する、請求項1に記載の車両。
【請求項3】
前記車両制御インターフェースは、前記履歴がある状態で、前記第1状態に移行できるときに前記移行指令を前記自動運転システムから受け付けた場合には、前記スタンバイモードを設定する、請求項2に記載の車両。
【請求項4】
前記車両制御インターフェースは、前記スタンバイモードが設定されると、前記車両の移動を制限した状態で前記自動運転システムからの制御指令を受信するまで待機する、請求項1に記載の車両。
発明の詳細な説明
【技術分野】
【0001】
本開示は、車両に関する。
続きを表示(約 1,400 文字)
【背景技術】
【0002】
近年、ユーザの操作を受け付けることなく車両を走行させる自動運転システムの開発が進められている。自動運転システムは、たとえば、既存の車両に搭載可能にするためにインターフェースを介して車両とは別個に設けられる場合がある。
【0003】
自動運転システムについて、たとえば、特開2021-123135号公報(特許文献1)には、各種電源モードを設定する技術が開示されている。
【先行技術文献】
【特許文献】
【0004】
特開2021-123135号公報
【発明の概要】
【発明が解決しようとする課題】
【0005】
上述のような自動運転システムを搭載した車両においては、たとえば、省エネの観点から自動運転システムからReadyON(電源ON)指令を受けることによって車両を不動状態として自動運転システムからの指示を待つスタンバイモードに移行することが考えられる。しかしながら、車両が外部電源を用いた充電中であるなどによりスタンバイモードに移行できない場合に、自動運転システムからReadyON指令を受け付けた履歴が残っていると、充電後にユーザによってReadyON操作を受け付けたときに、当該履歴によってユーザの意図と異なりスタンバイモードに移行する場合がある。
【0006】
本開示は、上述した課題を解決するためになされたものであって、その目的は、自動運転システムからの指令とユーザの要求とに基づいて適切な制御を実行する車両を提供することである。
【課題を解決するための手段】
【0007】
本開示のある局面に係る車両は、車両の自動運転を行なう自動運転システムと、車両の移動を制限するスタンバイモードと、自動運転システムを用いて自動運転を行なう自動運転モードとを含む複数の運転モードのうちのいずれかに従って車両制御を実行する車両プラットフォームと、車両プラットフォームと自動運転システムとの間のインターフェースを行なう車両制御インターフェースとを備える。車両制御インターフェースは、車両プラットフォームによる運転が可能な第1状態に移行する移行指令を自動運転システムから受け付けた場合にスタンバイモードを設定し、移行指令を自動運転システムから受け付けた履歴がある状態で、ユーザ操作によって移行指令を受け付けた場合に履歴を削除する。
【0008】
このようにすると、ユーザ操作によって移行指令を受け付けたときには自動運転システムから受け付けた移行指令の履歴が削除されるので、履歴が残ることに起因してスタンバイモードが設定されることを抑制することができる。そのため、ユーザ操作による移行指令に従った運転モードを設定することができる。
【0009】
ある実施の形態においては、車両制御インターフェースは、第1状態に移行できないときに移行指令を自動運転システムから受け付けた場合には履歴を記憶する。
【0010】
このようにすると、第1状態に移行できないときには移行指令を自動運転システムから受け付けた場合には履歴が記憶されるのでユーザ操作以外によって移行指令を受け付けた場合には履歴に従ってスタンバイモードを設定することができる。
(【0011】以降は省略されています)
この特許をJ-PlatPat(特許庁公式サイト)で参照する
関連特許
トヨタ自動車株式会社
電池
20日前
トヨタ自動車株式会社
車両
1か月前
トヨタ自動車株式会社
電池
6日前
トヨタ自動車株式会社
方法
1か月前
トヨタ自動車株式会社
方法
1か月前
トヨタ自動車株式会社
電池
6日前
トヨタ自動車株式会社
車両
1か月前
トヨタ自動車株式会社
車両
28日前
トヨタ自動車株式会社
治具
1か月前
トヨタ自動車株式会社
車体
28日前
トヨタ自動車株式会社
車両
1か月前
トヨタ自動車株式会社
電池
1か月前
トヨタ自動車株式会社
配管
15日前
トヨタ自動車株式会社
車両
29日前
トヨタ自動車株式会社
車両
1か月前
トヨタ自動車株式会社
車両
今日
トヨタ自動車株式会社
車両
1か月前
トヨタ自動車株式会社
方法
1か月前
トヨタ自動車株式会社
車両
15日前
トヨタ自動車株式会社
車両
1か月前
トヨタ自動車株式会社
電池
14日前
トヨタ自動車株式会社
車両
14日前
トヨタ自動車株式会社
車両
28日前
トヨタ自動車株式会社
方法
1か月前
トヨタ自動車株式会社
電池
29日前
トヨタ自動車株式会社
方法
28日前
トヨタ自動車株式会社
正極層
1か月前
トヨタ自動車株式会社
電動機
1か月前
トヨタ自動車株式会社
モータ
1か月前
トヨタ自動車株式会社
サーバ
1か月前
トヨタ自動車株式会社
蓄電池
28日前
トヨタ自動車株式会社
モータ
27日前
トヨタ自動車株式会社
自動車
1か月前
トヨタ自動車株式会社
ロータ
15日前
トヨタ自動車株式会社
電動車
14日前
トヨタ自動車株式会社
電動車
15日前
続きを見る
他の特許を見る