TOP
|
特許
|
意匠
|
商標
特許ウォッチ
Twitter
他の特許を見る
公開番号
2025169504
公報種別
公開特許公報(A)
公開日
2025-11-14
出願番号
2024074220
出願日
2024-05-01
発明の名称
電池
出願人
トヨタ自動車株式会社
代理人
個人
,
個人
,
個人
主分類
H01M
10/058 20100101AFI20251107BHJP(基本的電気素子)
要約
【課題】過充電が発生した際にも高温のガスが外部に放出され難い電池を提供する。
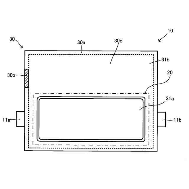
【解決手段】電極体11と、電極体11を内包して封止する第1の外装体20と、第1の外装体20を内包して封止する封止部30aを具備する第2の外装体30と、を備え、第2の外装体30の封止部30aの一部には、封止部の他の部位に比べて封止強度が低い脆弱部30bを有する。本開示の電池によれば、異常時に電極体からガスが発生し、第1の外装体20の封止部を破って放出されても、第2の外装体30の非接合部30cに達してここで一定時間保持される。これにより放出したガスの温度が冷却される。さらに第2の外装体30の封止部30aが破られて外部に放出されるに至ったとしても温度が下げられているため、ガスが大気の酸素と反応することが抑制できたり、高温のガスによる不具合の発生を抑えることができたりする。
【選択図】図2
特許請求の範囲
【請求項1】
電極体と、
前記電極体を内包して封止する第1の外装体と、
前記第1の外装体を内包して封止する封止部を具備する第2の外装体と、を備え、
前記第2の外装体の前記封止部の一部には、前記封止部の他の部位に比べて封止強度が低い脆弱部を有する、
電池。
続きを表示(約 540 文字)
【請求項2】
前記第1の外装体がラミネートフィルムである、請求項1に記載の電池。
【請求項3】
前記第2の外装体がラミネートフィルムである、請求項1に記載の電池。
【請求項4】
前記第2の外装体は平面視で長方形であり、前記脆弱部は、前記第2の外装体の短辺の封止部に設けられる、請求項1に記載の電池。
【請求項5】
前記第2の外装体は逆止弁を有し、
前記逆止弁の前記第2の外装体の内から外における耐久圧力が、前記脆弱部の耐久圧力よりも高い、
請求項1に記載の電池。
【請求項6】
前記第1の外装体と前記第2の外装体との間が減圧されている、請求項1に記載の電池。
【請求項7】
前記第1の外装体と前記第2の外装体との間に不活性ガスが含まれる請求項1に記載の電池。
【請求項8】
前記第1の外装体と前記第2の外装体との間に空気が含まれる請求項1に記載の電池。
【請求項9】
前記空気の水分量が1000ppm以下である、請求項8に記載の電池。
【請求項10】
前記電極体が固体電解質を有し、前記電池が固体電池である、請求項1に記載の電池。
発明の詳細な説明
【技術分野】
【0001】
本開示は、電極体及び該電極体を封止する外装体を有する電池に関する。
続きを表示(約 760 文字)
【背景技術】
【0002】
特許文献1にはラミネートフィルム内に電池セルが収容される全固体電池が開示されている。
特許文献2には電極積層体を軟質ラミネートフィルムと硬質ラミネートフィルムとで覆うことが開示されており、全固体電池についても示されている。
【先行技術文献】
【特許文献】
【0003】
特開2021-176134号公報
特開2020-170583号公報
【発明の概要】
【発明が解決しようとする課題】
【0004】
ところが、過充電が発生した際には高温のガスがラミネートフィルムの外に放出される虞がある。
【0005】
そこで本開示では過充電が発生した際にも高温のガスが外部に放出され難い電池を提供することを課題とする。
【課題を解決するための手段】
【0006】
本願は、電極体と、電極体を内包して封止する第1の外装体と、第1の外装体を内包して封止する封止部を具備する第2の外装体と、を備え、第2の外装体の封止部の一部には、封止部の他の部位に比べて封止強度が低い脆弱部を有する、電池を開示する。
【0007】
第1の外装体がラミネートフィルムであってもよい。
【0008】
第2の外装体がラミネートフィルムであってもよい。
【0009】
第2の外装体は平面視で長方形であり、脆弱部は、第2の外装体の短辺の封止部に設けられてもよい。
【0010】
第2の外装体は逆止弁を有し、逆止弁の第2の外装体の内から外における耐久圧力が、脆弱部の耐久圧力よりも高くなるように構成してもよい。
(【0011】以降は省略されています)
この特許をJ-PlatPat(特許庁公式サイト)で参照する
関連特許
トヨタ自動車株式会社
方法
2日前
トヨタ自動車株式会社
タンク
2日前
トヨタ自動車株式会社
制御装置
2日前
トヨタ自動車株式会社
制御装置
2日前
トヨタ自動車株式会社
電極活物質
2日前
トヨタ自動車株式会社
予測モデル
2日前
トヨタ自動車株式会社
車両前部構造
3日前
トヨタ自動車株式会社
スパッツ装置
2日前
トヨタ自動車株式会社
情報処理装置
2日前
トヨタ自動車株式会社
燃料電池セル
2日前
トヨタ自動車株式会社
情報処理装置
2日前
トヨタ自動車株式会社
情報処理装置
2日前
トヨタ自動車株式会社
情報処理装置
2日前
トヨタ自動車株式会社
車両制御装置
2日前
トヨタ自動車株式会社
車両後部構造
2日前
トヨタ自動車株式会社
情報処理装置
2日前
トヨタ自動車株式会社
車両下部構造
2日前
トヨタ自動車株式会社
車両前部構造
2日前
トヨタ自動車株式会社
車両下部構造
2日前
トヨタ自動車株式会社
車両締結構造
2日前
トヨタ自動車株式会社
車両側部構造
2日前
トヨタ自動車株式会社
データ収集装置
2日前
トヨタ自動車株式会社
情報処理システム
2日前
トヨタ自動車株式会社
燃料電池システム
2日前
トヨタ自動車株式会社
電力融通システム
2日前
トヨタ自動車株式会社
水素エンジン車両
2日前
トヨタ自動車株式会社
ハイブリッド車両
2日前
トヨタ自動車株式会社
燃料電池システム
2日前
トヨタ自動車株式会社
遠隔支援システム
2日前
トヨタ自動車株式会社
異常管理システム
2日前
トヨタ自動車株式会社
車両用シート構造
2日前
トヨタ自動車株式会社
システムおよび方法
2日前
トヨタ自動車株式会社
湿潤粉体の成膜方法
2日前
トヨタ自動車株式会社
車両用スイッチ装置
2日前
トヨタ自動車株式会社
拠点候補地探索装置
2日前
トヨタ自動車株式会社
ファンカップリング
2日前
続きを見る
他の特許を見る