TOP
|
特許
|
意匠
|
商標
特許ウォッチ
Twitter
他の特許を見る
公開番号
2025177722
公報種別
公開特許公報(A)
公開日
2025-12-05
出願番号
2024084788
出願日
2024-05-24
発明の名称
情報処理装置
出願人
トヨタ自動車株式会社
代理人
弁理士法人秀和特許事務所
主分類
G06Q
50/10 20120101AFI20251128BHJP(計算;計数)
要約
【課題】外部装置の作動のための認証を簡略化することを目的とする。
【解決手段】車載装置により車両のユーザの認証が成立した場合に、情報処理装置の制御部は、車両の外部に配置されている外部装置に対して、ユーザの認証処理の実行を省略させる。また、この場合において、情報処理装置の制御部は、車両の車両情報を外部装置に出力することで、車両の認証処理を外部装置に実行させる。そして、情報処理装置の制御部は、車両情報により車両の認証が成立した場合に、所定の動作を外部装置に実行させる。
【選択図】図3
特許請求の範囲
【請求項1】
車載装置により車両のユーザの認証が成立した場合に、
前記車両の外部に配置されている外部装置に対して、前記ユーザの認証処理の実行を省略させることと、
前記車両の車両情報を前記外部装置に出力することで、前記車両の認証処理を前記外部装置に実行させることと、
前記車両情報により前記車両の認証が成立した場合に、所定の動作を前記外部装置に実行させることと、
を実行するように構成される制御部を備える、
情報処理装置。
発明の詳細な説明
【技術分野】
【0001】
本開示は、情報処理装置に関する。
続きを表示(約 1,600 文字)
【背景技術】
【0002】
特許文献1には、車内に設けられる車載通信機と電子キーとの間の無線通信が成立することを条件に車載機器の動作を許可又は実行する車載制御部を有する電子キーシステムが開示されている。特許文献1に開示されている電子キーシステムは、車載通信機と電子キーとの間で授受される無線信号の信号強度を検出する信号強度検出部と、車両ドアの開閉を検出する開閉検出部と、車両ドアの開閉を規制するロック状態と車両ドアの開閉を許容するアンロック状態とを切り替えるドアロック装置と、を有する。電子キーシステムにおいて、電子キーは、自身に固有の情報を車載通信機へ無線送信する。
【0003】
そして、車載制御部は、閉状態から開状態へ移行した車両ドアの位置情報から車両に乗り込むユーザのシート位置を特定する。また、車載制御部は、ロック状態からアンロック状態に切り替えられてから車両ドアが開くまでの間に検出された信号強度と、車両ドアが開いてから同車両ドアが閉じるまでの間に検出された信号強度との比較、並びに電子キーから無線送信される電子キーに固有の情報から車両に乗り込むユーザを特定する。そして、車載制御部は、ユーザに対応するように車載機器を動作させる。
【先行技術文献】
【特許文献】
【0004】
特開2016-215817号公報
【発明の概要】
【発明が解決しようとする課題】
【0005】
本開示は、外部装置を作動させるための認証を簡略化することを目的とする。
【課題を解決するための手段】
【0006】
本開示に係る情報処理装置は、
車載装置により車両のユーザの認証が成立した場合に、
前記車両の外部に配置されている外部装置に対して、前記ユーザの認証処理の実行を省略させることと、
前記車両の車両情報を前記外部装置に出力することで、前記車両の認証処理を前記外部装置に実行させることと、
前記車両情報により前記車両の認証が成立した場合に、所定の動作を前記外部装置に実行させることと、
を実行するように構成される制御部を備える。
【発明の効果】
【0007】
本開示により、外部装置を作動させるための認証を簡略化することが可能となる。
【図面の簡単な説明】
【0008】
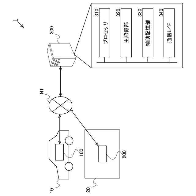
図1は、認証システムの概略構成を示す図である。
図2は、サーバの機能構成の一例を概略的に示すブロック図である。
図3は、認証システムにおける情報処理の流れを示すシーケンス図である。
【発明を実施するための形態】
【0009】
ユーザが車両において車載装置によって認証を受ける場合がある。また、車両に搭乗しているユーザが、外部装置を作動させるために、外部装置によりユーザの認証を再度受けなければならない場合がある。この場合において、ユーザは二度の認証処理によって認証を受けることとなり、ユーザに手間が生じてしまう。しかしながら、車載装置によってユーザの認証が成立している場合、車両にはユーザが搭乗していることとなる。そのため、外部装置が車両の認証処理をすることで、外部装置がユーザの認証処理を行わなくても、ユーザを間接的に認証することができる。
【0010】
そこで、本開示に係る情報処理装置の制御部は、車両装置により車両のユーザの認証が成立した場合に、車両の外部に配置されている外部装置に対して、ユーザの認証処理の実行を省略させる。また、情報処理装置の制御部は、車両の車両情報を外部装置に出力することで、車両の認証処理を外部装置に実行させる。また、制御部は、車両情報により車両の認証が成立した場合に、所定の動作を外部装置に実行させる。
(【0011】以降は省略されています)
この特許をJ-PlatPat(特許庁公式サイト)で参照する
関連特許
トヨタ自動車株式会社
車両
16日前
トヨタ自動車株式会社
電池
16日前
トヨタ自動車株式会社
電池
22日前
トヨタ自動車株式会社
車両
2日前
トヨタ自動車株式会社
電池
8日前
トヨタ自動車株式会社
電池
8日前
トヨタ自動車株式会社
配管
17日前
トヨタ自動車株式会社
車両
17日前
トヨタ自動車株式会社
方法
1日前
トヨタ自動車株式会社
タンク
1日前
トヨタ自動車株式会社
電動車
17日前
トヨタ自動車株式会社
ロータ
17日前
トヨタ自動車株式会社
電動車
16日前
トヨタ自動車株式会社
蓄電装置
8日前
トヨタ自動車株式会社
蓄電装置
8日前
トヨタ自動車株式会社
エンジン
16日前
トヨタ自動車株式会社
制御装置
1日前
トヨタ自動車株式会社
蓄電装置
8日前
トヨタ自動車株式会社
蓄電装置
16日前
トヨタ自動車株式会社
エンジン
8日前
トヨタ自動車株式会社
蓄電装置
16日前
トヨタ自動車株式会社
蓄電装置
16日前
トヨタ自動車株式会社
反応容器
16日前
トヨタ自動車株式会社
制御装置
16日前
トヨタ自動車株式会社
判定装置
16日前
トヨタ自動車株式会社
制御装置
8日前
トヨタ自動車株式会社
処理装置
8日前
トヨタ自動車株式会社
蓄電装置
8日前
トヨタ自動車株式会社
蓄電装置
8日前
トヨタ自動車株式会社
蓄電装置
8日前
トヨタ自動車株式会社
制御装置
16日前
トヨタ自動車株式会社
制御装置
1日前
トヨタ自動車株式会社
塗工装置
8日前
トヨタ自動車株式会社
蓄電装置
8日前
トヨタ自動車株式会社
監視装置
22日前
トヨタ自動車株式会社
製造設備
22日前
続きを見る
他の特許を見る