TOP
|
特許
|
意匠
|
商標
特許ウォッチ
Twitter
他の特許を見る
公開番号
2025173953
公報種別
公開特許公報(A)
公開日
2025-11-28
出願番号
2024079856
出願日
2024-05-16
発明の名称
塗工装置
出願人
トヨタ自動車株式会社
代理人
個人
主分類
B05C
11/10 20060101AFI20251120BHJP(霧化または噴霧一般;液体または他の流動性材料の表面への適用一般)
要約
【課題】衝撃を相殺することができる。そして塗工膜厚の品質精度が向上できる塗工装置を提供すること。
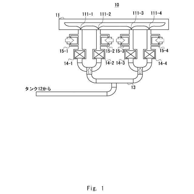
【解決手段】塗工装置10は、塗工ヘッド11と、塗工ヘッド11に供給する電極インクを貯留するタンク12と、タンク12と塗工ヘッド11とを連通する配管13と、塗工時には、前記タンクから送出される電極インクの送出先が塗工ヘッド11ドとなり、塗工中断時には、電極インクの送出先が前記タンクとなる切替バルブ14-1~14-4と、塗工ヘッド11の吐出口111-1~111-4毎に設けられた偶数個のサックバックバルブ15-1~15-4と、を備え、複数のサックバックバルブ15-1~15-4は、互いに対向して配置されている。
【選択図】図1
特許請求の範囲
【請求項1】
塗工ヘッドと、
前記塗工ヘッドに供給する電極インクを貯留するタンクと、
前記タンクと前記塗工ヘッドとを連通する配管と、
塗工時には、前記タンクから送出される電極インクの送出先が前記塗工ヘッドとなり、塗工中断時には、前記電極インクの送出先が前記タンクとなる切替バルブと、
前記塗工ヘッドの吐出口毎に設けられた偶数個のサックバックバルブと、を備え
前記複数のサックバックバルブは、互いに対向して配置されている、塗工装置。
発明の詳細な説明
【技術分野】
【0001】
本発明は塗工装置に関する。
続きを表示(約 830 文字)
【背景技術】
【0002】
特許文献1には、塗工ヘッドへインクを供給する際のバルブ開閉技術であり、インクに気泡が生じるのを抑制しつつ、塗工ヘッドにインクを供給するための配管をインクで充填する塗工装置が記載されている。
【先行技術文献】
【特許文献】
【0003】
特開2021-171688号公報
【発明の概要】
【発明が解決しようとする課題】
【0004】
しかしながら、特許文献1の塗工装置を用いて大流量塗工に対応しようとすると押し出しの量が多くなるため、必然的にサックバックの勢いも増大し、衝撃が大きくなる問題があった。
【課題を解決するための手段】
【0005】
一実施形態の塗工装置は、サックバックバルブを対向させるようにした。
【発明の効果】
【0006】
本開示の塗工装置によれば、衝撃を相殺することができる。そして塗工膜厚の品質精度が向上できる。
【図面の簡単な説明】
【0007】
実施の形態1にかかる塗工装置の一例を示す略図である。
【発明を実施するための形態】
【0008】
実施の形態1
以下、図面を参照して本発明の実施の形態について説明する。図1は、実施の形態1にかかる塗工装置の一例を示す略図である。図1において塗工装置10は、塗工ヘッド11と、タンク12と、配管13と、切替バルブ14-1~14-4と、サックバックバルブ15-1~15-4とを備える。
【0009】
塗工ヘッド11は、複数の吐出口111-1~111-4を有する。
【0010】
タンク12は、電極インクを貯留するタンクである。そしてタンク12は、配管13を介して電極インクを塗工ヘッド11に供給する。
(【0011】以降は省略されています)
この特許をJ-PlatPat(特許庁公式サイト)で参照する
関連特許
トヨタ自動車株式会社
車両
22日前
トヨタ自動車株式会社
電池
14日前
トヨタ自動車株式会社
電池
8日前
トヨタ自動車株式会社
車両
8日前
トヨタ自動車株式会社
方法
22日前
トヨタ自動車株式会社
車両
22日前
トヨタ自動車株式会社
電池
23日前
トヨタ自動車株式会社
車両
9日前
トヨタ自動車株式会社
電池
今日
トヨタ自動車株式会社
配管
9日前
トヨタ自動車株式会社
車両
23日前
トヨタ自動車株式会社
車両
29日前
トヨタ自動車株式会社
車体
22日前
トヨタ自動車株式会社
治具
1か月前
トヨタ自動車株式会社
車両
29日前
トヨタ自動車株式会社
電池
今日
トヨタ自動車株式会社
電動車
8日前
トヨタ自動車株式会社
ロータ
9日前
トヨタ自動車株式会社
電動車
9日前
トヨタ自動車株式会社
モータ
21日前
トヨタ自動車株式会社
蓄電池
22日前
トヨタ自動車株式会社
エンジン
8日前
トヨタ自動車株式会社
蓄電装置
21日前
トヨタ自動車株式会社
制御装置
9日前
トヨタ自動車株式会社
制御装置
21日前
トヨタ自動車株式会社
制御装置
9日前
トヨタ自動車株式会社
路側装置
21日前
トヨタ自動車株式会社
路側装置
21日前
トヨタ自動車株式会社
路側装置
21日前
トヨタ自動車株式会社
塗工装置
今日
トヨタ自動車株式会社
路側装置
21日前
トヨタ自動車株式会社
車両装置
今日
トヨタ自動車株式会社
蓄電装置
今日
トヨタ自動車株式会社
電動車両
21日前
トヨタ自動車株式会社
蓄電装置
今日
トヨタ自動車株式会社
蓄電装置
29日前
続きを見る
他の特許を見る