TOP
|
特許
|
意匠
|
商標
特許ウォッチ
Twitter
他の特許を見る
公開番号
2025167368
公報種別
公開特許公報(A)
公開日
2025-11-07
出願番号
2024071909
出願日
2024-04-25
発明の名称
電動車両
出願人
トヨタ自動車株式会社
代理人
弁理士法人アイテック国際特許事務所
主分類
H01M
10/633 20140101AFI20251030BHJP(基本的電気素子)
要約
【課題】電力源をより適正な温度とする。
【解決手段】走行用のモータと、モータに電力を供給する燃料電池または蓄電装置である電力源と、電力源に電力ラインを介して接続され電力ラインの電力を外部負荷に供給する外部給電装置と、電力源を冷却する冷却装置と、少なくとも冷却装置を制御する制御装置と、備える電動車両であって、制御装置は、外部給電に要する時間である給電時間または外部給電に要する電力量である給電量である第1関連量と、外部給電後に向かう目的地までの距離または消費電力である第2関連量と、に基づいて電力源の温度が調整されるように冷却装置を制御する。
【選択図】図3
特許請求の範囲
【請求項1】
走行用のモータと、前記モータに電力を供給する燃料電池または蓄電装置である電力源と、前記電力源に電力ラインを介して接続され前記電力ラインの電力を外部負荷に供給する外部給電を実行する外部給電装置と、前記電力源を冷却する冷却装置と、少なくとも前記冷却装置を制御する制御装置と、備える電動車両であって、
前記制御装置は、前記外部給電に要する時間である給電時間または前記外部給電に要する電力量である給電量である第1関連量と、前記外部給電後に向かう目的地までの距離または消費電力である第2関連量と、に基づいて前記電力源の温度が調整されるように前記冷却装置を制御する
電動車両。
続きを表示(約 560 文字)
【請求項2】
請求項1記載の電動車両であって、
前記制御装置は、前記外部給電が指示されたときには、前記第1関連量と外気温とに基づいて、前記外部給電中に前記電力源の温度を前記電力源に許容される温度範囲の上限温度以下に維持可能な前記外部給電の開始時の前記電力源の温度範囲である第1温度範囲を設定し、前記第2関連量に基づいて、前記目的地まで走行可能な前記外部給電の開始時の前記電力源の温度範囲である第2温度範囲を設定し、前記外部給電の実行前に、前記電力源の温度が前記第1温度範囲と前記第2温度範囲とに基づく開始時温度になるように前記冷却装置を制御する
電動車両。
【請求項3】
請求項2記載の電動車両であって、
前記制御装置は、前記第1温度範囲に比して前記第2温度範囲が優先されるように前記開始時温度を設定する
電動車両。
【請求項4】
請求項3記載の電動車両であって、
前記制御装置は、前記第1温度範囲が前記第2温度範囲に含まれないときには、前記開始時温度を前記第2温度範囲に含まれる温度とする
電動車両。
【請求項5】
請求項1記載の電動車両であって、
前記目的地は、エネルギ供給施設である
電動車両。
発明の詳細な説明
【技術分野】
【0001】
本開示は、電動車両に関する。
続きを表示(約 1,700 文字)
【背景技術】
【0002】
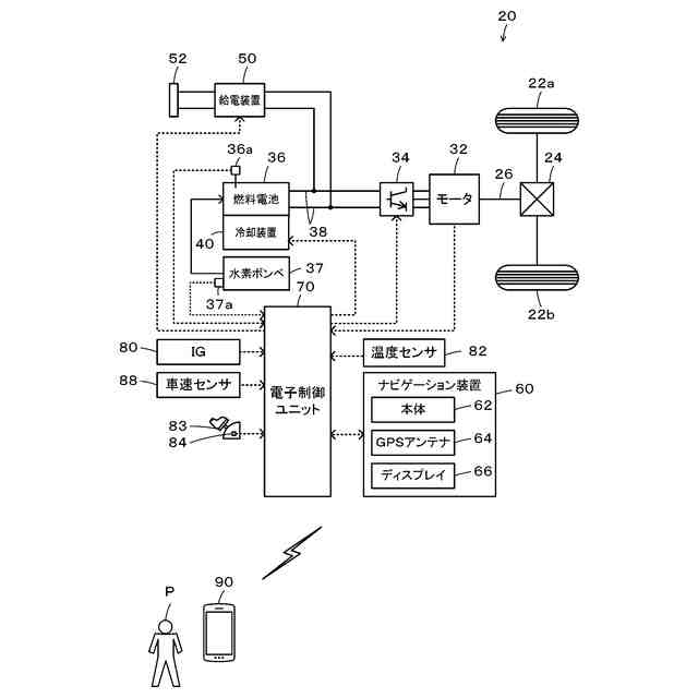
従来、この種の電動車両としては、走行用のモータと、電力源としてのバッテリと、外部給電装置と、冷却装置とを備えるものが提案されている(例えば、特許文献1参照)。バッテリは、モータに電力を供給する。外部給電装置は、バッテリからの出力を外部負荷に供給する外部給電を実行する。冷却装置は、バッテリを冷却する。この電動車両では、外部給電装置の利用開始操作がなされたときには、バッテリが出力可能な上限電力とバッテリが実際に出力している電力との差分である余裕出力電力が閾値以上のときに、外部給電を開始している。
【先行技術文献】
【特許文献】
【0003】
特開2020-54026号公報
【発明の概要】
【発明が解決しようとする課題】
【0004】
しかし、上述の電動車両では、外部給電を実行するとバッテリの蓄電量が低下する。そのため、外部給電後は、バッテリを充電するために充電ステーション等の目的地に車両が向かうことが考えられる。しかし、外部給電でバッテリの蓄電量が低下しすぎると、外部給電後に電動車両が電欠で目的地に到達できない不都合が発生することがある。こうした不都合を抑制する手法して、バッテリの温度をある程度高くする手法が考えられる。この手法では、外部給電中に、バッテリが過度に昇温して、バッテリの出力が制限されてしまうことがある。
【0005】
本開示の電動車両は、電力源をより適正な温度とすることを主目的とする。
【課題を解決するための手段】
【0006】
本開示の電動車両は、上述の主目的を達成するために以下の手段を採った。
【0007】
本開示の電動車両は、
走行用のモータと、前記モータに電力を供給する燃料電池または蓄電装置である電力源と、前記電力源に電力ラインを介して接続され前記電力ラインの電力を外部負荷に供給する外部給電を実行する外部給電装置と、前記電力源を冷却する冷却装置と、少なくとも前記冷却装置を制御する制御装置と、備える電動車両であって、
前記制御装置は、前記外部給電に要する時間である給電時間または前記外部給電に要する電力量である給電量である第1関連量と、前記外部給電後に向かう目的地までの距離または消費電力である第2関連量と、に基づいて前記電力源の温度が調整されるように前記冷却装置を制御する
ことを要旨とする。
【0008】
この本開示の電動車両では、外部給電に要する時間である給電時間または外部給電に要する電力量である給電量である第1関連量と、外部給電後に向かう目的地までの距離または消費電力である第2関連量と、に基づいて電力源の温度が調整されるように冷却装置を制御する。これにより、第1関連量と第2関連量とに応じて電力源の温度を調整することができる。この結果、電力源を適正な温度とすることができる。
【0009】
こうした本開示の電動車両において、前記制御装置は、前記外部給電が指示されたときには、前記第1関連量と外気温とに基づいて、前記外部給電中に前記電力源の温度を前記電力源に許容される温度範囲の上限温度以下に維持可能な前記外部給電の開始時の前記電力源の温度範囲である第1温度範囲を設定し、前記第2関連量に基づいて、前記目的地まで走行可能な前記外部給電の開始時の前記電力源の温度範囲である第2温度範囲を設定し、前記外部給電の実行前に前記電力源の温度が前記第1温度範囲と前記第2温度範囲とに基づく開始時温度になるように前記冷却装置を制御してもよい。こうすれば、外部給電の実行を開始する温度を適正なものとして、外部給電中に電力源の温度が上限温度を越えることを抑制すると共に、外部給電後に電動車両を目的地まで走行させることができる。
【0010】
この場合において、前記制御装置は、前記第1温度範囲に比して前記第2温度範囲が優先されるように前記開始時温度を設定してもよい。こうすれば、より確実に、外部給電後に電動車両を目的地まで走行させることができる。
(【0011】以降は省略されています)
この特許をJ-PlatPat(特許庁公式サイト)で参照する
関連特許
トヨタ自動車株式会社
車両
1か月前
トヨタ自動車株式会社
車両
25日前
トヨタ自動車株式会社
電池
10日前
トヨタ自動車株式会社
車両
10日前
トヨタ自動車株式会社
車両
11日前
トヨタ自動車株式会社
方法
24日前
トヨタ自動車株式会社
電池
16日前
トヨタ自動車株式会社
車体
24日前
トヨタ自動車株式会社
車両
24日前
トヨタ自動車株式会社
車両
24日前
トヨタ自動車株式会社
電池
25日前
トヨタ自動車株式会社
電池
2日前
トヨタ自動車株式会社
車両
1か月前
トヨタ自動車株式会社
車両
1か月前
トヨタ自動車株式会社
電池
2日前
トヨタ自動車株式会社
配管
11日前
トヨタ自動車株式会社
治具
1か月前
トヨタ自動車株式会社
蓄電池
24日前
トヨタ自動車株式会社
ロータ
11日前
トヨタ自動車株式会社
モータ
23日前
トヨタ自動車株式会社
電動車
10日前
トヨタ自動車株式会社
電動車
11日前
トヨタ自動車株式会社
学習装置
10日前
トヨタ自動車株式会社
エンジン
10日前
トヨタ自動車株式会社
制御装置
11日前
トヨタ自動車株式会社
コネクタ
10日前
トヨタ自動車株式会社
制御装置
10日前
トヨタ自動車株式会社
制御装置
10日前
トヨタ自動車株式会社
蓄電装置
10日前
トヨタ自動車株式会社
蓄電装置
10日前
トヨタ自動車株式会社
蓄電装置
10日前
トヨタ自動車株式会社
反応容器
10日前
トヨタ自動車株式会社
判定装置
10日前
トヨタ自動車株式会社
蓄電装置
3日前
トヨタ自動車株式会社
蓄電装置
3日前
トヨタ自動車株式会社
蓄電装置
2日前
続きを見る
他の特許を見る