TOP
|
特許
|
意匠
|
商標
特許ウォッチ
Twitter
他の特許を見る
公開番号
2025171554
公報種別
公開特許公報(A)
公開日
2025-11-20
出願番号
2024077029
出願日
2024-05-10
発明の名称
蓄電装置
出願人
トヨタ自動車株式会社
代理人
弁理士法人深見特許事務所
主分類
H01M
50/242 20210101AFI20251113BHJP(基本的電気素子)
要約
【課題】車両への側突荷重によってバッテリが損傷することを抑制することができる蓄電装置を提供する。
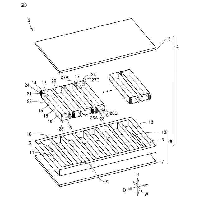
【解決手段】蓄電装置3は、車両1に搭載され、収容ケース4と蓄電モジュール14とを備え、蓄電モジュール14は、モジュールケース15と、モジュールケース15に設けられると共に、モジュールケース15から車両1の幅方向Wに突出するように形成された荷重受け部材23,24とを有し、モジュールケース15は、車両1の幅方向Wに配列する第1端壁28および第2端壁29と、第1端壁28および第2端壁29を接続すると共に幅方向Wに延びる周壁30とを含み、第1端壁28から幅方向Wに離れた位置から周壁30を平面視した際に、荷重受け部材23,24は、第1端壁28の外表面であって、周壁30と重なる位置に設けられる。
【選択図】図3
特許請求の範囲
【請求項1】
車両に搭載される蓄電装置であって、
前記蓄電装置は、収容ケースと蓄電モジュールとを備え、
前記蓄電モジュールは、モジュールケースと、前記モジュールケースに設けられると共に、前記モジュールケースから前記車両の幅方向に突出するように形成された荷重受け部材とを有し、
前記モジュールケースは、前記幅方向に配列する第1端壁および第2端壁と、前記第1端壁および前記第2端壁を接続すると共に前記幅方向に延びる周壁とを含み、
前記第1端壁から前記幅方向に離れた位置から前記周壁を平面視した際に、前記荷重受け部材は、前記第1端壁の外表面であって、前記周壁と重なる位置に設けられた、蓄電装置。
続きを表示(約 910 文字)
【請求項2】
前記第2端壁から前記幅方向に離れた位置から前記周壁を平面視した際に、前記荷重受け部材は、さらに、前記第2端壁の外表面であって、前記周壁と重なる位置に設けられた、請求項1に記載の蓄電装置。
【請求項3】
前記周壁は、第1側壁と第2側壁と第3側壁と第4側壁とを有し、
前記第1側壁と前記第2側壁とは、前記車両の前後方向に間隔をあけて配列し、
前記第3側壁と前記第4側壁とは、前記車両の上下方向に間隔をあけて配列するとともに、前記第1側壁と前記第2側壁とを接続し、
前記第1側壁と前記第2側壁と前記第3側壁と前記第4側壁のうち、前記第1端壁から前記幅方向に離れた位置から前記周壁を平面視した際に、前記荷重受け部材と重なる位置に設けられたものを形成する材料は、金属である、請求項1に記載の蓄電装置。
【請求項4】
前記荷重受け部材は、第1受け部と、第2受け部とを有し、
前記周壁は、前記車両の前後方向に間隔をあけて配列する第1側壁および第2側壁を含み、
前記第1端壁から前記幅方向に離れた位置から前記第1側壁および前記第2側壁を平面視した際に、前記第1受け部は前記第1側壁と重なる位置に設けられ、前記第2受け部は前記第2側壁と重なる位置に設けられる、請求項1に記載の蓄電装置。
【請求項5】
前記収容ケースは、ロアケースと、アッパーカバーとを有し、
前記ロアケースは、底板と、周壁部材と、リンフォースとを有し、
前記周壁部材は、前記底板の外周縁部から上方に立ち上がるように形成されるとともに、前記幅方向に間隔をあけて配列する第1板部材と第2板部材とを有し、
前記リンフォースは、前記幅方向に延びるように形成されるとともに、前記第1板部材と前記第2板部材を接続し、
前記ロアケースから上下方向に離れた位置から前記蓄電モジュールを平面視した際に、前記蓄電モジュールは、側壁部材と前記リンフォースとによって規定された収容空間に収容された、請求項1から請求項4のいずれかに記載の蓄電装置。
発明の詳細な説明
【技術分野】
【0001】
本開示は、蓄電装置に関する。
続きを表示(約 1,400 文字)
【背景技術】
【0002】
例えば、特開2021-088264号公報には、車両の側突荷重からバッテリを保護するために、車両の側突荷重を蓄電装置の構造部材に伝達する蓄電装置が開示されている。
【先行技術文献】
【特許文献】
【0003】
特開2021-088264号公報
【発明の概要】
【発明が解決しようとする課題】
【0004】
上記特許文献1に係る蓄電装置は、車両の側突荷重に対するバッテリの保護についてさらなる改善の余地がある。
【0005】
本開示は、上記課題を解決するためになされたものであり、その目的は、車両の側突荷重によってバッテリが損傷することを抑制できる蓄電装置を提供することである。
【課題を解決するための手段】
【0006】
本開示の第1の局面に係る蓄電装置は、車両に搭載される蓄電装置であって、収容ケースと蓄電モジュールとを備え、蓄電モジュールは、モジュールケースと、モジュールケースに設けられると共に、モジュールケースから車両の幅方向に突出するように形成された荷重受け部材とを有し、モジュールケースは、車両の幅方向に配列する第1端壁および第2端壁と、第1端壁および第2端壁を接続すると共に幅方向に延びる周壁とを含み、第1端壁から幅方向に離れた位置から周壁を平面視した際に、荷重受け部材は、第1端壁の外表面であって、周壁と重なる位置に設けられる。
【0007】
本開示の第1の局面に係る蓄電装置は、第2端壁から幅方向に離れた位置から周壁を平面視した際に、荷重受け部材は、さらに、第2端壁の外表面であって、周壁と重なる位置に設けられる。
【0008】
本開示の第1の局面に係る蓄電装置における周壁は、第1側壁と第2側壁と第3側壁と第4側壁とを有し、第1側壁と第2側壁とは、車両の前後方向に間隔をあけて配列し、第3側壁と第4側壁とは、車両の上下方向に間隔をあけて配列するとともに、第1側壁と第2側壁とを接続し、第1側壁と第2側壁と第3側壁と第4側壁のうち、第1端壁から幅方向に離れた位置から周壁を平面視した際に、荷重受け部材と重なる位置に設けられたものを形成する材料は、金属である。
【0009】
本開示の第1の局面に係る蓄電装置における荷重受け部材は、第1受け部と、第2受け部とを有し、周壁は、車両の前後方向に間隔をあけて配列する第1側壁および第2側壁を含み、第1端壁から幅方向に離れた位置から第1側壁および第2側壁を平面視した際に、第1受け部は第1側壁と重なる位置に設けられ、第2受け部は第2側壁と重なる位置に設けられる。
【0010】
本開示の第1の局面に係る蓄電装置における収容ケースは、ロアケースと、アッパーカバーとを有し、ロアケースは、底板と、周壁部材と、リンフォースとを有し、周壁部材は、底板の外周縁部から上方に立ち上がるように形成されるとともに、幅方向に間隔をあけて配列する第1板部材と第2板部材とを有し、リンフォースは、幅方向に延びるように形成されるとともに、第1板部材と第2板部材を接続し、ロアケースから車両の上下方向に離れた位置から蓄電モジュールを平面視した際に、蓄電モジュールは、側壁部材とリンフォースとによって規定された収容空間に収容される。
【発明の効果】
(【0011】以降は省略されています)
この特許をJ-PlatPat(特許庁公式サイト)で参照する
関連特許
個人
三重コイル変圧器
1日前
日機装株式会社
加圧装置
6日前
日新イオン機器株式会社
イオン源
6日前
ローム株式会社
半導体装置
1日前
ローム株式会社
半導体装置
今日
三菱電機株式会社
回路遮断器
29日前
株式会社GSユアサ
蓄電装置
21日前
富士電機株式会社
電磁接触器
21日前
トヨタ自動車株式会社
蓄電装置
13日前
株式会社東芝
電子源
6日前
大電株式会社
電線又はケーブル
13日前
個人
電源ボックス及び電子機器
6日前
株式会社ヨコオ
コネクタ
今日
日本特殊陶業株式会社
保持装置
1日前
ホシデン株式会社
複合コネクタ
15日前
株式会社トクミ
ケーブル
7日前
ヒロセ電機株式会社
電気コネクタ
21日前
株式会社レゾナック
冷却器
29日前
矢崎総業株式会社
バスバー
2日前
住友電装株式会社
コネクタ
1日前
ローム株式会社
半導体モジュール
22日前
住友電装株式会社
コネクタ
21日前
ローム株式会社
半導体装置
今日
矢崎総業株式会社
コネクタ
21日前
日本特殊陶業株式会社
アンテナ装置
8日前
トヨタ自動車株式会社
蓄電装置構造
7日前
株式会社半導体エネルギー研究所
二次電池
今日
日本特殊陶業株式会社
アンテナ装置
8日前
株式会社デンソー
半導体装置
21日前
日本航空電子工業株式会社
コネクタ
6日前
日本航空電子工業株式会社
コネクタ
1か月前
日本特殊陶業株式会社
アンテナ装置
8日前
三菱電機株式会社
半導体装置
6日前
株式会社パロマ
監視システム
13日前
矢崎総業株式会社
端子
13日前
株式会社ダイヘン
電圧調整装置
8日前
続きを見る
他の特許を見る