TOP
|
特許
|
意匠
|
商標
特許ウォッチ
Twitter
他の特許を見る
10個以上の画像は省略されています。
公開番号
2025179319
公報種別
公開特許公報(A)
公開日
2025-12-10
出願番号
2024085989
出願日
2024-05-28
発明の名称
半導体装置
出願人
ローム株式会社
代理人
個人
主分類
H01L
23/50 20060101AFI20251203BHJP(基本的電気素子)
要約
【課題】 実装に用いられる導電性接合材に生じる応力を低減することが可能な半導体装置を提供すること。
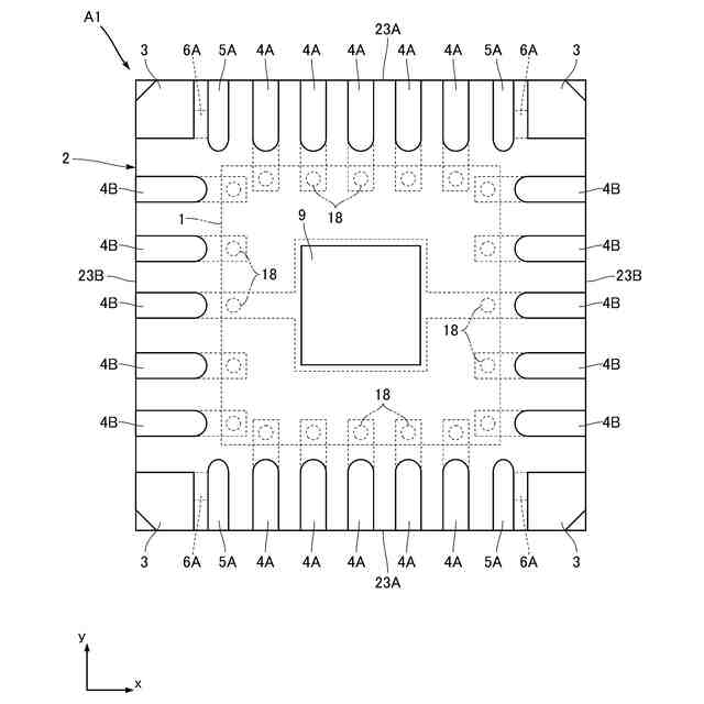
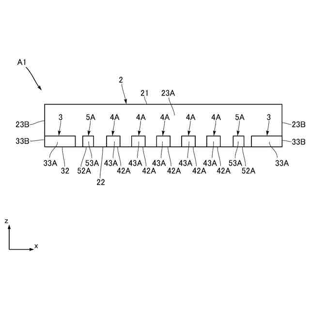
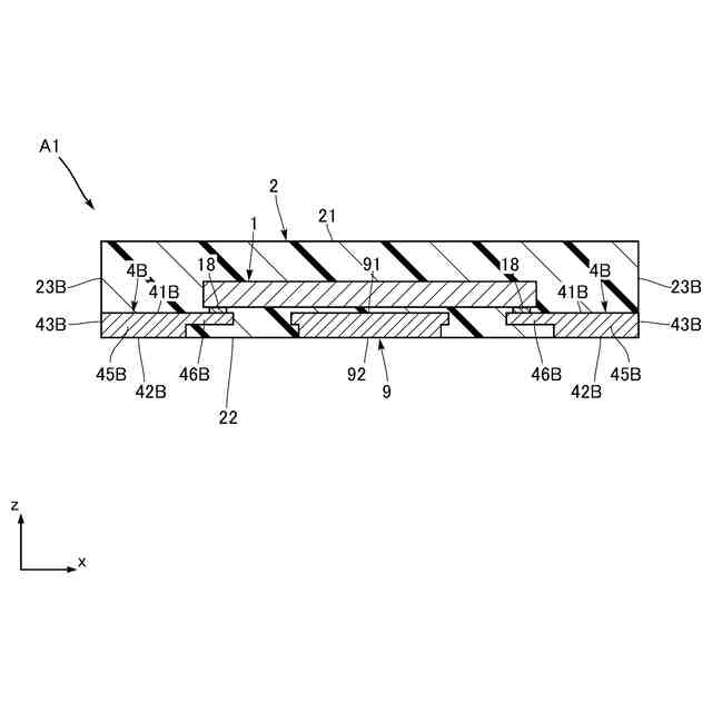
【解決手段】 半導体装置A1は、半導体素子1と、半導体素子1を覆う封止樹脂2と、を備える。封止樹脂2は、樹脂主面21および樹脂裏面22と、樹脂第1側面23Aおよび樹脂第2側面23Bと、を有する。半導体装置A1は、第1裏面32、第1端面33Aおよび第2端面33Bを有する第1リード3と、半導体素子1に導通し、樹脂裏面22から露出する第2裏面42Aおよび樹脂第1側面23Aから露出する第3端面43Aを有する第2リード4Aと、第1方向xにおいて第1リード3および第2リード4Aの間に位置し、樹脂裏面22から露出する第3裏面52A、樹脂第1側面23Aから露出する第4端面53Aを有する第3リード5Aと、第1リード3および第3リード5Aを繋ぐ第1連結部6Aと、を備える。
【選択図】 図1
特許請求の範囲
【請求項1】
半導体素子と、
前記半導体素子を覆う封止樹脂と、を備え、
前記封止樹脂は、厚さ方向において互いに反対側を向く樹脂主面および樹脂裏面と、前記厚さ方向と交差する第1方向に沿った樹脂第1側面および前記厚さ方向および前記第1方向と交差する第2方向に沿った樹脂第2側面と、を有し、
前記樹脂裏面から露出する第1裏面、前記樹脂第1側面から露出する第1端面および前記樹脂第2側面から露出する第2端面を有する第1リードと、
前記半導体素子に導通し、前記樹脂裏面から露出する第2裏面および前記樹脂第1側面から露出する第3端面を有する第2リードと、
前記第1方向において前記第1リードおよび前記第2リードの間に位置し、前記樹脂裏面から露出する第3裏面、前記樹脂第1側面から露出する第4端面を有する第3リードと、
前記第1リードおよび前記第3リードを繋ぐ第1連結部と、
を備える、半導体装置。
続きを表示(約 790 文字)
【請求項2】
前記第1リード、前記第3リードおよび前記第1連結部は、前記半導体素子から絶縁されている、請求項1に記載の半導体装置。
【請求項3】
前記第1リード、前記第3リードおよび前記第1連結部は、前記半導体素子に導通している、請求項1に記載の半導体装置。
【請求項4】
前記第1リードは、前記樹脂主面と同じ側を向く第1主面を有し、
前記第2リードは、前記樹脂主面と同じ側を向く第2主面を有し、
前記第3リードは、前記樹脂主面と同じ側を向く第3主面を有し、
前記第1連結部は、前記樹脂主面と同じ側を向く第4主面および前記樹脂裏面と同じ側を向く第4裏面を有する、請求項1に記載の半導体装置。
【請求項5】
前記第1主面、前記第2主面および前記第3主面は、前記厚さ方向において同じ位置にある、請求項4に記載の半導体装置。
【請求項6】
前記第4主面は、前記厚さ方向において前記第1主面、前記第2主面および前記第3主面と同じ位置にある、請求項5に記載の半導体装置。
【請求項7】
前記第4主面は、前記厚さ方向において前記第1主面、前記第2主面および前記第3主面と前記樹脂裏面との間に位置する、請求項5に記載の半導体装置。
【請求項8】
前記第4裏面は、前記厚さ方向において前記第4主面および前記樹脂裏面の間に位置し且つ前記封止樹脂によって覆われている、請求項6に記載の半導体装置。
【請求項9】
前記第4裏面は、前記樹脂裏面から露出している、請求項6に記載の半導体装置。
【請求項10】
前記第1連結部は、前記樹脂第1側面から離れている、請求項1ないし9のいずれかに記載の半導体装置。
(【請求項11】以降は省略されています)
発明の詳細な説明
【技術分野】
【0001】
本開示は、半導体装置に関する。
続きを表示(約 2,000 文字)
【背景技術】
【0002】
特許文献1には、従来の半導体装置の一例が開示されている。同文献に開示された半導体装置は、半導体素子、複数のリードおよび封止樹脂を備える。複数のリードは、封止樹脂の裏面から露出する実装面および封止樹脂の側面から露出する端面を有する。
【先行技術文献】
【特許文献】
【0003】
特開2022-87155号公報
【0004】
[概要]
複数のリードの実装面は、はんだ等の導電性接合材によって回路基板等に接合される。これらの導電性接合材のいずれかに過大な応力が生じると、導電性接合材の亀裂や剥離の原因となる。
【0005】
本開示は、上記した事情のもとで考え出されたものであって、実装に用いられる導電性接合材に生じる応力を低減することが可能な半導体装置を提供することをその課題とする。
【0006】
本開示によって提供される半導体装置は、半導体素子と、前記半導体素子を覆う封止樹脂と、を備え、前記封止樹脂は、厚さ方向において互いに反対側を向く樹脂主面および樹脂裏面と、前記厚さ方向と交差する第1方向に沿った樹脂第1側面および前記厚さ方向および前記第1方向と交差する第2方向に沿った樹脂第2側面と、を有し、前記樹脂裏面から露出する第1裏面、前記樹脂第1側面から露出する第1端面および前記樹脂第2側面から露出する第2端面を有する第1リードと、前記半導体素子に導通し、前記樹脂裏面から露出する第2裏面および前記樹脂第1側面から露出する第3端面を有する第2リードと、前記第1方向において前記第1リードおよび前記第2リードの間に位置し、前記樹脂裏面から露出する第3裏面、前記樹脂第1側面から露出する第4端面を有する第3リードと、前記第1リードおよび前記第3リードを繋ぐ第1連結部と、を備える
【0007】
本開示のその他の特徴および利点は、添付図面を参照して以下に行う詳細な説明によって、より明らかとなろう。
【図面の簡単な説明】
【0008】
図1は、本開示の第1実施形態に係る半導体装置を示す平面図である。
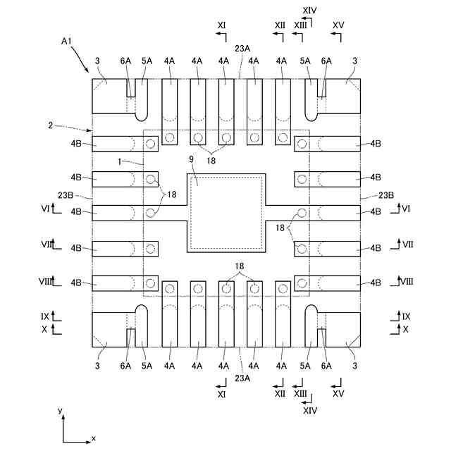
図2は、本開示の第1実施形態に係る半導体装置を示す部分平面図である。
図3は、本開示の第1実施形態に係る半導体装置を示す底面図である。
図4は、本開示の第1実施形態に係る半導体装置を示す正面図である。
図5は、本開示の第1実施形態に係る半導体装置を示す側面図である。
図6は、図2のVI-VI線に沿う断面図である。
図7は、図2のVII-VII線に沿う断面図である。
図8は、図2のVIII-VIII線に沿う断面図である。
図9は、図2のIX-IX線に沿う断面図である。
図10は、図2のX-X線に沿う断面図である。
図11は、図2のXI-XI線に沿う断面図である。
図12は、図2のXII-XII線に沿う断面図である。
図13は、図2のXIII-XIII線に沿う断面図である。
図14は、図2のXIV-XIV線に沿う断面図である。
図15は、図2のXV-XV線に沿う断面図である。
図16は、本開示の第1実施形態に係る半導体装置を示す部分拡大平面図である。
図17は、図16のXVII-XVII線に沿う部分拡大断面図である。
図18は、本開示の第1実施形態に係る半導体装置の第1変形例を示す部分拡大断面図である。
図19は、本開示の第1実施形態に係る半導体装置の第2変形例を示す部分拡大断面図である。
図20は、本開示の第1実施形態に係る半導体装置の第3変形例を示す部分拡大平面図である。
図21は、本開示の第1実施形態に係る半導体装置の第3変形例を示す部分拡大正面図である。
図22は、本開示の第2実施形態に係る半導体装置を示す部分拡大平面図である。
図23は、図22のXXIII-XXIII線に沿う部分拡大断面図である。
図24は、本開示の第3実施形態に係る半導体装置を示す部分拡大平面図である。
図25は、図24のXXV-XXV線に沿う部分拡大断面図である。
図26は、本開示の第4実施形態に係る半導体装置を示す部分拡大平面図である。
図27は、本開示の第5実施形態に係る半導体装置を示す断面図である。
【0009】
[詳細な説明]
以下、本開示の好ましい実施の形態につき、図面を参照して具体的に説明する。
【0010】
本開示における「第1」、「第2」、「第3」等の用語は、単に識別のために用いたものであり、それらの対象物に順列を付することを意図していない。
(【0011】以降は省略されています)
この特許をJ-PlatPat(特許庁公式サイト)で参照する
関連特許
ローム株式会社
半導体装置
今日
ローム株式会社
半導体装置
12日前
ローム株式会社
半導体装置
12日前
ローム株式会社
半導体装置
12日前
ローム株式会社
半導体装置
5日前
ローム株式会社
半導体集積回路
12日前
ローム株式会社
半導体集積回路
13日前
ローム株式会社
定電圧生成回路
12日前
ローム株式会社
定電圧生成回路
12日前
ローム株式会社
比較回路、半導体装置
12日前
ローム株式会社
サーマルプリントヘッド
12日前
ローム株式会社
逐次比較型AD変換回路
20日前
ローム株式会社
電源制御装置及び電源装置
5日前
ローム株式会社
監視回路及びレジスタ制御装置
12日前
ローム株式会社
電源制御装置、スイッチング電源
5日前
ローム株式会社
昇圧型スイッチングレギュレータ
14日前
ローム株式会社
電圧調整装置及び電荷蓄積システム
14日前
ローム株式会社
モータドライバ回路および駆動方法
13日前
ローム株式会社
整流回路およびAC/DCコンバータ
1日前
ローム株式会社
整流回路およびAC/DCコンバータ
1日前
ローム株式会社
整流回路およびAC/DCコンバータ
1日前
ローム株式会社
半導体装置および半導体装置の製造方法
13日前
ローム株式会社
イグナイタおよび内燃機関点火システム
1日前
ローム株式会社
ドライバ、信号伝達装置、電子機器、車両
5日前
ローム株式会社
サーマルプリントヘッド及びその製造方法
12日前
ローム株式会社
検出回路、信号伝達装置、電子機器、車両
12日前
ローム株式会社
半導体装置、および半導体装置の製造方法
12日前
ローム株式会社
コントローラ、ターゲット、及び通信システム
12日前
ローム株式会社
雨検出装置、雨検出システム、および、雨検出方法
14日前
ローム株式会社
窒化物半導体装置および窒化物半導体装置の製造方法
12日前
ローム株式会社
半導体装置
5日前
ローム株式会社
半導体装置
5日前
ローム株式会社
半導体装置
12日前
ローム株式会社
双方向DC/DCコンバータ、電源遮断保護回路および半導体装置
6日前
ローム株式会社
トランスデューサ、共振器、発振器及びトランスデューサの製造方法
5日前
ローム株式会社
オーディオ回路、それを用いた電子機器および車載オーディオシステム
13日前
続きを見る
他の特許を見る