TOP
|
特許
|
意匠
|
商標
特許ウォッチ
Twitter
他の特許を見る
10個以上の画像は省略されています。
公開番号
2025176835
公報種別
公開特許公報(A)
公開日
2025-12-05
出願番号
2024083186
出願日
2024-05-22
発明の名称
ドライバ、信号伝達装置、電子機器、車両
出願人
ローム株式会社
代理人
弁理士法人 佐野特許事務所
主分類
H03K
17/06 20060101AFI20251128BHJP(基本電子回路)
要約
【課題】ミラークランプ動作に必要な外部端子数及び素子面積を削減する。
【解決手段】ドライバ224は、駆動対象のパワートランジスタMLに流れる出力電流ILが一定となるようにパワートランジスタMLの駆動信号OUTLを制御する駆動回路224bと、パワートランジスタMLの一端に印加される出力信号OUTが閾値VMCを下回ったときにパワートランジスタMLを強制的にフルオン状態とするように駆動信号OUTLを制御するミラークランプ回路224cと、を備える。
【選択図】図12
特許請求の範囲
【請求項1】
駆動対象のパワートランジスタに流れる出力電流が一定となるように前記パワートランジスタの駆動信号を制御するように構成された駆動回路と、
前記パワートランジスタの一端に印加される出力信号が閾値を下回ったときに前記パワートランジスタを強制的にフルオン状態とするように前記駆動信号を制御するように構成されたミラークランプ回路と、
を備える、ドライバ。
続きを表示(約 1,000 文字)
【請求項2】
前記駆動回路は、電源端と前記駆動信号の印加端との間に接続された電流源と、前記駆動信号の印加端と基準電位端との間に接続された第1トランジスタと、を含み、前記第1トランジスタは、前記パワートランジスタのターンオン時にオン状態からオフ状態に切り替えられる、請求項1に記載のドライバ。
【請求項3】
前記ミラークランプ回路は、前記駆動信号の印加端と前記基準電位端との間に接続された第2トランジスタをさらに含み、前記第2トランジスタは、前記出力信号が前記閾値よりも高いときにオン状態とされて前記出力信号が前記閾値よりも低いときにオフ状態とされる、請求項2に記載のドライバ。
【請求項4】
前記駆動回路は、前記電流源に対して並列接続された第2トランジスタをさらに含み、前記第2トランジスタは、前記出力信号が前記閾値よりも高いときにオフ状態とされて前記出力信号が前記閾値よりも低いときにオン状態とされる、請求項2に記載のドライバ。
【請求項5】
前記ミラークランプ回路は、前記出力信号と前記閾値とを比較して比較信号を生成するように構成されたコンパレータをさらに含み、前記第2トランジスタは、前記比較信号に応じてオン/オフされる、請求項3又は4に記載のドライバ。
【請求項6】
請求項1~4のいずれかに記載のドライバと、
入力パルス信号に応じて送信パルス信号を生成するように構成された送信回路と、
受信パルス信号に応じて前記ドライバを駆動するように構成された受信回路と、
前記送信回路と前記受信回路との間を絶縁しつつ前記送信パルス信号を前記受信パルス信号として伝達するように構成された絶縁回路と、
を備える、信号伝達装置。
【請求項7】
前記駆動信号を外部出力するように構成された第1外部端子と、前記出力電流に応じた検出信号の外部入力を受けるように構成された第2外部端子と、前記出力信号の外部入力を受けるように構成された第3外部端子と、を備える、請求項6に記載の信号伝達装置。
【請求項8】
請求項6に記載の信号伝達装置を備える、電子機器。
【請求項9】
前記出力信号を生成するように構成されたハーフブリッジ型のスイッチ出力回路をさらに備え、前記パワートランジスタは、前記スイッチ出力回路の下側スイッチ素子である、請求項8に記載の電子機器。
【請求項10】
請求項8に記載の電子機器を備える、車両。
発明の詳細な説明
【技術分野】
【0001】
本開示は、ドライバ、信号伝達装置、電子機器及び車両に関する。
続きを表示(約 1,700 文字)
【背景技術】
【0002】
従来、一次回路系と二次回路系との間を電気的に絶縁しつつ、一次回路系と二次回路系との間で信号を伝達する信号伝達装置は、様々なアプリケーション(電源装置又はモータ駆動装置など)に用いられている。
【0003】
なお、上記に関連する従来技術の一例としては、本願出願人による特許文献1を挙げることができる。
【先行技術文献】
【特許文献】
【0004】
国際公開第2022/070944号
【0005】
[概要]
従来の信号伝達装置は、外部端子数及び素子面積の削減について検討の余地があった。
【0006】
例えば、本開示に係るドライバは、駆動対象のパワートランジスタに流れる出力電流が一定となるように前記パワートランジスタの駆動信号を制御するように構成された駆動回路と、前記パワートランジスタの一端に印加される出力信号が閾値を下回ったときに前記パワートランジスタを強制的にフルオン状態とするように前記駆動信号を制御するように構成されたミラークランプ回路と、を備える。
【図面の簡単な説明】
【0007】
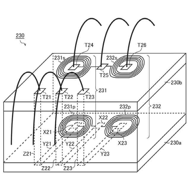
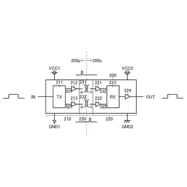
図1は、信号伝達装置の基本構成を示す図である。
図2は、トランスチップの基本構造を示す図である。
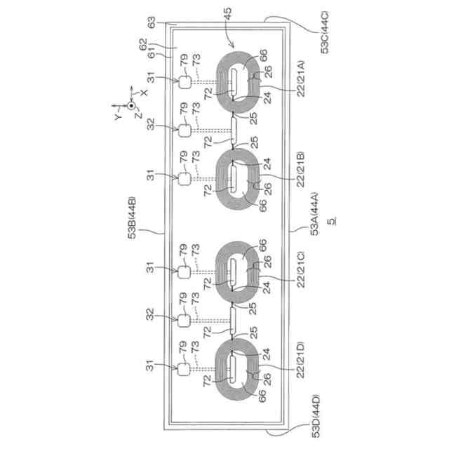
図3は、2チャンネル型のトランスチップとして用いられる半導体装置の斜視図である。
図4は、図3に示す半導体装置の平面図である。
図5は、図3の半導体装置において低電位コイルが形成された層を示す平面図である。
図6は、図3の半導体装置において高電位コイルが形成された層を示す平面図である。
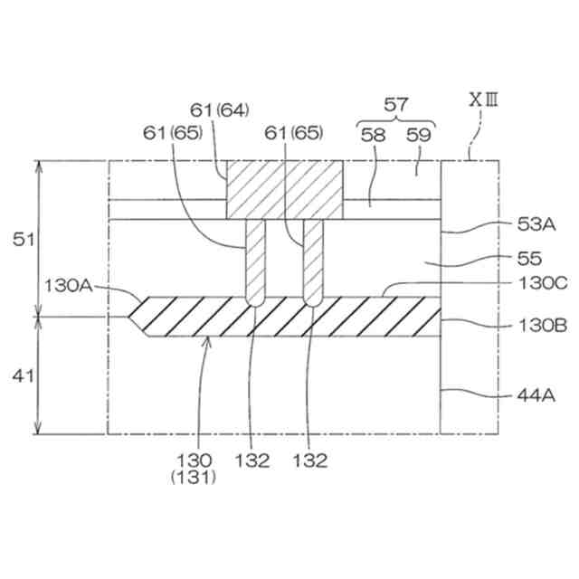
図7は、図6に示すVIII-VIII線に沿う断面図である。
図8は、図7に示す領域XIIIの拡大図(分離構造)を示す図である。
図9は、トランスチップのレイアウト例を模式的に示す図である。
図10は、信号伝達装置の比較例を示す図である。
図11は、比較例のミラークランプ動作を示す図である。
図12は、信号伝達装置の第1実施形態を示す図である。
図13は、第1実施形態のミラークランプ動作を示す図である。
図14は、信号伝達装置の第2実施形態を示す図である。
図15は、第2実施形態のミラークランプ動作を示す図である。
図16は、車両の外観を示す図である。
【0008】
[詳細な説明]
<信号伝達装置(基本構成)>
図1は、信号伝達装置の基本構成を示す図である。本構成例の信号伝達装置200は、一次回路系200p(VCC1-GND1系)と二次回路系200s(VCC2-GND2系)との間を絶縁しつつ、一次回路系200pから二次回路系200sにパルス信号を伝達し、二次回路系200sに設けられたスイッチ素子(不図示)のゲートを駆動する半導体集積回路装置(いわゆる絶縁ゲートドライバIC)である。例えば、信号伝達装置200は、コントローラチップ210と、ドライバチップ220と、トランスチップ230と、を単一のパッケージに封止して成る。
【0009】
コントローラチップ210は、電源電圧VCC1(例えばGND1基準で最大7V)の供給を受けて動作する半導体チップである。コントローラチップ210には、例えば、パルス送信回路211と、バッファ212及び213が集積されている。
【0010】
パルス送信回路211は、入力パルス信号INに応じて送信パルス信号S11及びS21を生成するパルスジェネレータである。より具体的に述べると、パルス送信回路211は、入力パルス信号INがハイレベルである旨を通知するときには、送信パルス信号S11のパルス駆動(単発または複数発の送信パルス出力)を行い、入力パルス信号INがローレベルである旨を通知するときには、送信パルス信号S21のパルス駆動を行う。すなわち、パルス送信回路211は、入力パルス信号INの論理レベルに応じて、送信パルス信号S11及びS21のいずれか一方をパルス駆動する。
(【0011】以降は省略されています)
この特許をJ-PlatPat(特許庁公式サイト)で参照する
関連特許
ローム株式会社
半導体装置
8日前
ローム株式会社
半導体装置
24日前
ローム株式会社
半導体装置
8日前
ローム株式会社
半導体装置
8日前
ローム株式会社
半導体装置
29日前
ローム株式会社
半導体装置
29日前
ローム株式会社
半導体装置
24日前
ローム株式会社
半導体装置
29日前
ローム株式会社
半導体装置
16日前
ローム株式会社
半導体装置
1日前
ローム株式会社
電源制御装置
24日前
ローム株式会社
信号伝達装置
24日前
ローム株式会社
定電圧生成回路
8日前
ローム株式会社
半導体集積回路
8日前
ローム株式会社
半導体集積回路
9日前
ローム株式会社
定電圧生成回路
8日前
ローム株式会社
半導体モジュール
17日前
ローム株式会社
半導体メモリ装置
1か月前
ローム株式会社
モータドライバ回路
24日前
ローム株式会社
比較回路、半導体装置
8日前
ローム株式会社
逐次比較型AD変換回路
16日前
ローム株式会社
サーマルプリントヘッド
8日前
ローム株式会社
電源制御装置及び電源装置
1日前
ローム株式会社
半導体装置およびシステム
16日前
ローム株式会社
監視回路及びレジスタ制御装置
8日前
ローム株式会社
昇圧型スイッチングレギュレータ
10日前
ローム株式会社
信号受信装置、IC及び電気機器
22日前
ローム株式会社
電源制御装置、スイッチング電源
1日前
ローム株式会社
電圧調整装置及び電荷蓄積システム
10日前
ローム株式会社
モータドライバ回路および駆動方法
9日前
ローム株式会社
半導体装置および半導体装置の製造方法
9日前
ローム株式会社
半導体装置および半導体装置の製造方法
29日前
ローム株式会社
検出回路、信号伝達装置、電子機器、車両
8日前
ローム株式会社
サーマルプリントヘッド及びその製造方法
8日前
ローム株式会社
半導体装置、および半導体装置の製造方法
29日前
ローム株式会社
力率改善回路、制御装置、および電子機器
29日前
続きを見る
他の特許を見る