TOP
|
特許
|
意匠
|
商標
特許ウォッチ
Twitter
他の特許を見る
10個以上の画像は省略されています。
公開番号
2025166930
公報種別
公開特許公報(A)
公開日
2025-11-07
出願番号
2024071127
出願日
2024-04-25
発明の名称
半導体装置および半導体装置の製造方法
出願人
ローム株式会社
代理人
個人
主分類
H01L
21/52 20060101AFI20251030BHJP(基本的電気素子)
要約
【課題】 剥離を抑制することが可能な半導体装置および半導体装置の製造方法を提供すること。
【解決手段】 半導体装置A10は、第1リード11と、半導体素子30と、第1方向zにおいて第1リード11および半導体素子30の間に介在する接合シート60と、第1リード11の一部、半導体素子30および接合シート60を覆う封止樹脂50と、を備え、接合シート60は、第1方向zの第1側z1を向き且つ少なくとも一部が半導体素子30と接合された第1面61を有し、第1面61は、第1領域611および第2領域612を含み、第1領域611は、第1方向zに視て少なくとも一部が半導体素子30と重なり、第2領域612は、第1領域611より表面粗さが大きく且つ少なくとも一部が封止樹脂50と接する。
【選択図】 図12
特許請求の範囲
【請求項1】
第1リードと、
半導体素子と、
第1方向において前記第1リードおよび前記半導体素子の間に介在する接合シートと、
前記第1リードの一部、前記半導体素子および前記接合シートを覆う封止樹脂と、を備え、
前記接合シートは、前記第1方向の第1側を向き且つ少なくとも一部が前記半導体素子と接合された第1面を有し、
前記第1面は、第1領域および第2領域を含み、
前記第1領域は、前記第1方向に視て少なくとも一部が前記半導体素子と重なり、
前記第2領域は、前記第1領域より表面粗さが大きく且つ少なくとも一部が前記封止樹脂と接する、半導体装置。
続きを表示(約 780 文字)
【請求項2】
前記第1方向に視て、前記半導体素子のすべてが前記第1領域と重なる、請求項1に記載の半導体装置。
【請求項3】
前記第1方向に視て、前記第1領域は、前記半導体素子からはみ出している、請求項1に記載の半導体装置。
【請求項4】
前記第1方向に視て、前記第2領域は、前記半導体素子から離れている、請求項3に記載の半導体装置。
【請求項5】
前記第1方向に視て、前記第2領域は、前記第1面の周縁の少なくとも一部に接している、請求項1に記載の半導体装置。
【請求項6】
前記第1方向に視て、前記第2領域は、前記第1面の周縁のすべてに接している、請求項1に記載の半導体装置。
【請求項7】
前記第1面は、前記第1方向に視て矩形状であり、
前記第1方向に視て、前記第2領域は、前記第1面の角部に接している、請求項5に記載の半導体装置。
【請求項8】
前記接合シートは、基材層および前記基材層の前記第1方向の前記第1側に積層された第1層を含み、
前記第1領域は、前記第1層によって構成されている、請求項1ないし7のいずれかに記載の半導体装置。
【請求項9】
前記第2領域の少なくとも一部が、前記第1層によって構成されている、請求項8に記載の半導体装置。
【請求項10】
前記基材層は、前記第1方向の第2側z2を向き且つ少なくとも一部が前記第1リードと接合された第2面を有し、
前記第2面は、第3領域および第4領域を含み、
前記第3領域は、前記第1リードに接し、
前記第4領域は、前記第3領域より表面粗さが大きい、請求項8に記載の半導体装置。
(【請求項11】以降は省略されています)
発明の詳細な説明
【技術分野】
【0001】
本開示は、半導体装置および半導体装置の製造方法に関する。
続きを表示(約 1,600 文字)
【背景技術】
【0002】
特許文献1には、従来の半導体装置の一例が開示されている。同文献に開示された半導体装置は、支持基板、半導体素子および封止樹脂を備える。半導体素子は、中間金属層を介して固相拡散接合によって接合されている。
【先行技術文献】
【特許文献】
【0003】
特開2022-63488号公報
【0004】
[概要]
中間金属層および封止樹脂の間に剥離が生じると、半導体装置が適切に機能しないおそれがある。
【0005】
本開示は、上記した事情のもとで考え出されたものであって、剥離を抑制することが可能な半導体装置および半導体装置の製造方法を提供することをその課題とする。
【0006】
本開示の半導体装置は、第1リードと、半導体素子と、第1方向において前記第1リードおよび前記半導体素子の間に介在する接合シートと、前記第1リードの一部、前記半導体素子および前記接合シートを覆う封止樹脂と、を備え、前記接合シートは、前記第1方向の第1側を向き且つ少なくとも一部が前記半導体素子と接合された第1面を有し、前記第1面は、第1領域および第2領域を含み、前記第1領域は、前記第1方向に視て少なくとも一部が前記半導体素子と重なり、前記第2領域は、前記第1領域より表面粗さが大きく且つ少なくとも一部が前記封止樹脂と接する。
【0007】
本開示のその他の特徴および利点は、添付図面を参照して以下に行う詳細な説明によって、より明らかとなろう。
【図面の簡単な説明】
【0008】
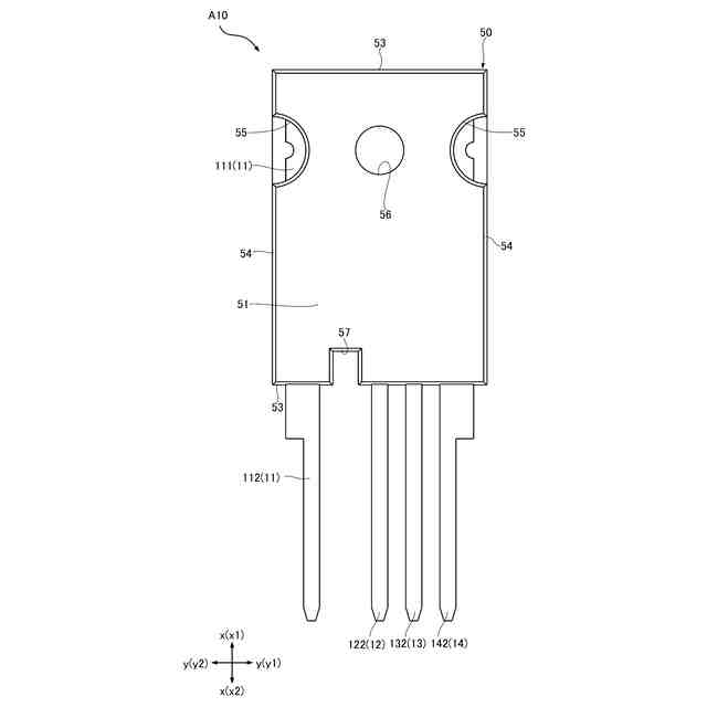
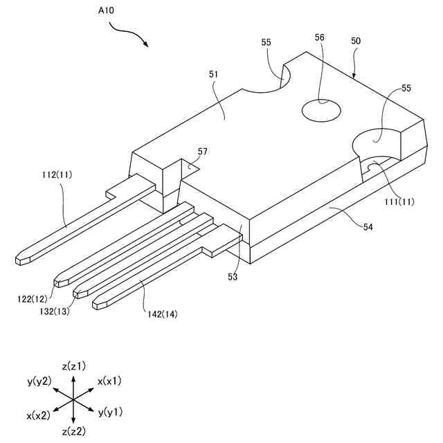
図1は、本開示の第1実施形態に係る半導体装置を示す斜視図である。
図2は、本開示の第1実施形態に係る半導体装置を示す平面図である。
図3は、本開示の第1実施形態に係る半導体装置を示す部分平面図である。
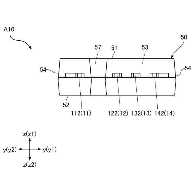
図4は、本開示の第1実施形態に係る半導体装置を示す底面図である。
図5は、本開示の第1実施形態に係る半導体装置を示す側面図である。
図6は、本開示の第1実施形態に係る半導体装置を示す正面図である。
図7は、図3のVII-VII線に沿う断面図である。
図8は、図3のVIII-VIII線に沿う断面図である。
図9は、図3のIX-IX線に沿う断面図である。
図10は、図3のX-X線に沿う断面図である。
図11は、本開示の第1実施形態に係る半導体装置を示す部分拡大平面図である。
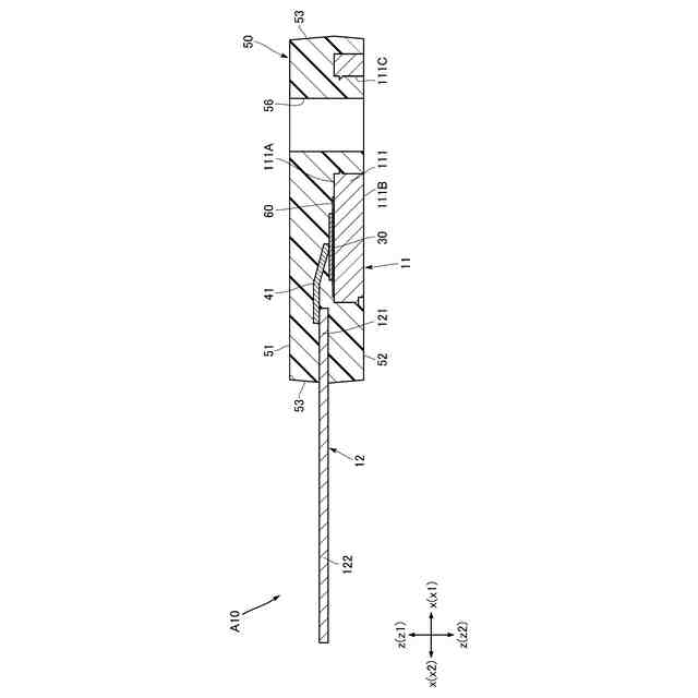
図12は、図11のXII-XII線に沿う部分拡大断面図である。
図13は、本開示の第1実施形態に係る半導体装置の製造方法を示す部分拡大断面図である。
図14は、本開示の第1実施形態に係る半導体装置の製造方法を示す部分拡大断面図である。
図15は、本開示の第1実施形態に係る半導体装置の第1変形例を示す部分拡大断面図である。
図16は、本開示の第1実施形態に係る半導体装置の第2変形例を示す部分拡大平面図である。
図17は、本開示の第2実施形態に係る半導体装置を示す部分拡大断図である。
図18は、本開示の第3実施形態に係る半導体装置を示す部分拡大断図である。
図19は、本開示の第4実施形態に係る半導体装置を示す部分拡大断図である。
【0009】
[詳細な説明]
以下、本開示の好ましい実施の形態につき、図面を参照して具体的に説明する。
【0010】
本開示における「第1」、「第2」、「第3」等の用語は、単に識別のために用いたものであり、それらの対象物に順列を付することを意図していない。
(【0011】以降は省略されています)
この特許をJ-PlatPat(特許庁公式サイト)で参照する
関連特許
ローム株式会社
半導体装置
11日前
ローム株式会社
半導体装置
11日前
ローム株式会社
半導体装置
11日前
ローム株式会社
半導体装置
4日前
ローム株式会社
定電圧生成回路
11日前
ローム株式会社
定電圧生成回路
11日前
ローム株式会社
半導体集積回路
11日前
ローム株式会社
サーマルプリントヘッド
11日前
ローム株式会社
電源制御装置及び電源装置
4日前
ローム株式会社
監視回路及びレジスタ制御装置
11日前
ローム株式会社
電源制御装置、スイッチング電源
4日前
ローム株式会社
整流回路およびAC/DCコンバータ
今日
ローム株式会社
整流回路およびAC/DCコンバータ
今日
ローム株式会社
整流回路およびAC/DCコンバータ
今日
ローム株式会社
イグナイタおよび内燃機関点火システム
今日
ローム株式会社
検出回路、信号伝達装置、電子機器、車両
11日前
ローム株式会社
サーマルプリントヘッド及びその製造方法
11日前
ローム株式会社
ドライバ、信号伝達装置、電子機器、車両
4日前
ローム株式会社
半導体装置、および半導体装置の製造方法
11日前
ローム株式会社
コントローラ、ターゲット、及び通信システム
11日前
ローム株式会社
窒化物半導体装置および窒化物半導体装置の製造方法
11日前
ローム株式会社
半導体装置
11日前
ローム株式会社
半導体装置
4日前
ローム株式会社
半導体装置
4日前
ローム株式会社
双方向DC/DCコンバータ、電源遮断保護回路および半導体装置
5日前
ローム株式会社
トランスデューサ、共振器、発振器及びトランスデューサの製造方法
4日前
ローム株式会社
トランスデューサ、及びその駆動方法、並びにシステム
11日前
日機装株式会社
加圧装置
4日前
マクセル株式会社
電源装置
1か月前
日新イオン機器株式会社
イオン源
4日前
株式会社東芝
端子台
1か月前
富士電機株式会社
電磁接触器
19日前
三菱電機株式会社
回路遮断器
27日前
株式会社GSユアサ
蓄電装置
1か月前
株式会社GSユアサ
蓄電装置
1か月前
株式会社GSユアサ
蓄電装置
19日前
続きを見る
他の特許を見る