TOP
|
特許
|
意匠
|
商標
特許ウォッチ
Twitter
他の特許を見る
10個以上の画像は省略されています。
公開番号
2025173226
公報種別
公開特許公報(A)
公開日
2025-11-27
出願番号
2024078710
出願日
2024-05-14
発明の名称
半導体装置および半導体装置の製造方法
出願人
ローム株式会社
代理人
個人
,
個人
主分類
H10D
30/66 20250101AFI20251119BHJP()
要約
【課題】半導体装置のオン抵抗を低減すること。
【解決手段】半導体装置10は、縦型トランジスタ48と、縦型トランジスタ48の一部が設けられた半導体層12と、を備える。半導体層12は、第1ドープ層62と、第1ドープ層62上に設けられた第2ドープ層64と、第2ドープ層64上に設けられた第3ドープ層66と、を含む。第2ドープ層64のn型不純物濃度は、第1ドープ層62のn型不純物濃度および第3ドープ層66のn型不純物濃度の双方よりも高い。
【選択図】図2
特許請求の範囲
【請求項1】
縦型トランジスタと、
前記縦型トランジスタの一部が設けられた半導体層と、
を備え、
前記半導体層は、
第1ドープ層と、
前記第1ドープ層上に設けられた第2ドープ層と、
前記第2ドープ層上に設けられた第3ドープ層と、
を含み、
前記第2ドープ層の第1導電型の不純物濃度は、前記第1ドープ層の第1導電型の不純物濃度および前記第3ドープ層の第1導電型の不純物濃度の双方よりも高い
半導体装置。
続きを表示(約 1,200 文字)
【請求項2】
前記第1ドープ層の第1導電型の不純物濃度は、前記第3ドープ層の第1導電型の不純物濃度よりも高い
請求項1に記載の半導体装置。
【請求項3】
前記第1ドープ層の厚さは、前記第3ドープ層の厚さよりも薄い
請求項1に記載の半導体装置。
【請求項4】
前記第1ドープ層の第1導電型の不純物濃度は、前記第2ドープ層に向かうにつれて低くなる
請求項1に記載の半導体装置。
【請求項5】
前記第2ドープ層の第1導電型の不純物濃度は、前記第1ドープ層側から前記第2ドープ層の厚さ方向の中央に向けて高くなり、かつ前記第3ドープ層側から前記第2ドープ層の前記厚さ方向の中央に向けて高くなる
請求項1に記載の半導体装置。
【請求項6】
前記第1ドープ層の第1導電型の不純物濃度は、1×10
18
cm
-3
以上1×10
20
cm
-3
未満であり、
前記第2ドープ層の第1導電型の不純物濃度は、1×10
18
cm
-3
以上1×10
20
cm
-3
以下であり、
前記第3ドープ層の第1導電型の不純物濃度は、1×10
16
cm
-3
以上1×10
17
cm
-3
以下である
請求項1に記載の半導体装置。
【請求項7】
前記半導体層は、半導体基板をさらに含み、
前記第1ドープ層は、前記半導体基板上に設けられている
請求項1に記載の半導体装置。
【請求項8】
前記半導体基板は、リンを含む材料によって構成されており、
前記第2ドープ層は、不純物としてヒ素を含む
請求項7に記載の半導体装置。
【請求項9】
前記半導体層は、第1面、および前記第1面とは反対側の第2面を含み、
前記第3ドープ層は、前記第2面を含み、
前記半導体基板は、前記第1面を含み、
前記第2ドープ層は、前記第1ドープ層と前記第2ドープ層と前記第3ドープ層とから構成されるドープ層の厚さ方向の中央よりも前記半導体基板寄りに配置されている
請求項7に記載の半導体装置。
【請求項10】
前記半導体層は、
前記半導体基板上に設けられ、前記第1ドープ層を含む第1エピタキシャル層と、
前記第1エピタキシャル層上に設けられ、前記第3ドープ層を含む第2エピタキシャル層と、
を含み、
前記第2ドープ層は、前記第1エピタキシャル層と前記第2エピタキシャル層との境界を含んで前記第1エピタキシャル層および前記第2エピタキシャル層の双方に設けられている
請求項7に記載の半導体装置。
(【請求項11】以降は省略されています)
発明の詳細な説明
【技術分野】
【0001】
本開示は、半導体装置および半導体装置の製造方法に関する。
続きを表示(約 2,200 文字)
【背景技術】
【0002】
近年、トレンチゲート型の金属酸化膜半導体電界効果トランジスタ(Metal-Oxide-Semiconductor Field Effect Transistor:MOSFET)が広く実用化されている。トレンチゲート型のMOSFETでは、半導体層に設けられたトレンチ内にゲート電極が配置されている。特許文献1には、このようなトレンチゲート型のMOSFETが開示されている。
【先行技術文献】
【特許文献】
【0003】
特開2018-129378号公報
【0004】
[概要]
半導体装置のオン抵抗を低減することが求められている。
【0005】
本開示の一態様の半導体装置は、縦型トランジスタと、前記縦型トランジスタの一部が設けられた半導体層と、を備え、前記半導体層は、第1ドープ層と、前記第1ドープ層上に設けられた第2ドープ層と、前記第2ドープ層上に設けられた第3ドープ層と、を含み、前記第2ドープ層の第1導電型の不純物濃度は、前記第1ドープ層の第1導電型の不純物濃度および前記第3ドープ層の第1導電型の不純物濃度の双方よりも高い。
【図面の簡単な説明】
【0006】
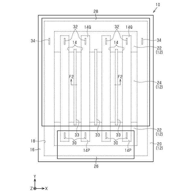
図1は、一実施形態に係る例示的な半導体装置の一例の概略平面図である。
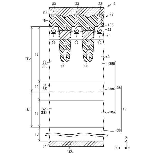
図2は、図1のF2-F2線で半導体装置を切断した概略断面図である。
図3は、図2の半導体装置の一部を拡大した概略断面図である。
図4は、半導体装置の半導体層の厚さ方向の位置と不純物濃度との関係を示すグラフである。
図5は、半導体装置の第1エピタキシャル層に注入する不純物の濃度と半導体装置の絶縁耐圧との関係を示すグラフである。
図6は、第1エピタキシャル層に注入する不純物の濃度と半導体装置のオン抵抗との関係を示すグラフである。
図7は、一実施形態に係る例示的な半導体装置の製造工程を説明するための概略断面図である。
図8は、図7に示す工程に続く工程の概略断面図である。
図9は、図8に示す工程に続く工程の概略断面図である。
図10は、図9に示す工程に続く工程の概略断面図である。
図11は、図10に示す工程に続く工程の概略断面図である。
図12は、図11に示す工程に続く工程の概略断面図である。
図13は、図12に示す工程に続く工程の概略断面図である。
図14は、図13に示す工程に続く工程の概略断面図である。
図15は、図14に示す工程に続く工程の概略断面図である。
図16は、図15に示す工程に続く工程の概略断面図である。
図17は、図16に示す工程に続く工程の概略断面図である。
図18は、図17に示す工程に続く工程の概略断面図である。
図19は、図18に示す工程に続く工程の概略断面図である。
図20は、図19に示す工程に続く工程の概略断面図である。
図21は、図20に示す工程に続く工程の概略断面図である。
図22は、図21に示す工程に続く工程の概略断面図である。
図23は、サンプル1の半導体装置のオン抵抗を示すグラフである。
図24は、サンプル2の半導体装置のオン抵抗を示すグラフである。
図25は、サンプル2の半導体装置および一実施形態の半導体装置のオン抵抗を示すグラフである。
図26は、変更例の半導体装置の概略断面図である。
【0007】
[詳細な説明]
以下、添付図面を参照して本開示における半導体装置のいくつかの実施形態について説明する。なお、説明を簡単かつ明確にするため、図面に示される構成要素は、必ずしも一定の縮尺で描かれていない。また、理解を容易にするため、断面図ではハッチング線が省略されている場合がある。添付の図面は、本開示の実施形態を例示するものに過ぎず、本開示を制限するものとみなされるべきではない。
【0008】
以下の詳細な記載は、本開示の例示的な実施形態を具体化する装置、システム、および方法を含む。この詳細な記載は本来説明のためのものに過ぎず、本開示の実施形態またはこのような実施形態の適用および使用を限定することを意図しない。
【0009】
本開示において使用される「少なくとも1つ」という表現は、所望の選択肢の「1つ以上」を意味する。一例として、本開示において使用される「少なくとも1つ」という表現は、選択肢の数が2つであれば「1つの選択肢のみ」または「2つの選択肢の双方」を意味する。他の例として、本開示において使用される「少なくとも1つ」という表現は、選択肢の数が3つ以上であれば「1つの選択肢のみ」または「2つ以上の任意の選択肢の組み合わせ」を意味する。
【0010】
本開示において使用される「Aの寸法(幅、長さ)がBの寸法(幅、長さ)と等しい」または「Aの寸法(幅、長さ)とBの寸法(幅、長さ)とが互いに等しい」とは、Aの寸法(幅、長さ)とBの寸法(幅、長さ)との差が例えばAの寸法(幅、長さ)の10%以内の関係も含む。
(【0011】以降は省略されています)
この特許をJ-PlatPat(特許庁公式サイト)で参照する
関連特許
個人
積和演算用集積回路
21日前
サンケン電気株式会社
半導体装置
20日前
エイブリック株式会社
縦型ホール素子
1か月前
エイブリック株式会社
縦型ホール素子
1か月前
日機装株式会社
半導体発光装置
15日前
旭化成株式会社
発光素子
1か月前
ローム株式会社
抵抗チップ
1か月前
株式会社東芝
半導体装置
7日前
富士電機株式会社
半導体装置
1か月前
三菱電機株式会社
半導体装置
7日前
株式会社半導体エネルギー研究所
表示装置
1か月前
三菱電機株式会社
半導体装置
29日前
ローム株式会社
半導体集積回路
29日前
日亜化学工業株式会社
発光装置
1か月前
株式会社半導体エネルギー研究所
発光デバイス
15日前
ローム株式会社
窒化物半導体装置
1か月前
サンケン電気株式会社
半導体装置
7日前
ローム株式会社
半導体装置
20日前
ローム株式会社
半導体装置
1か月前
ローム株式会社
半導体装置
1か月前
株式会社半導体エネルギー研究所
発光デバイス
28日前
ローム株式会社
窒化物半導体装置
1か月前
富士電機株式会社
半導体装置の製造方法
1か月前
大日本印刷株式会社
太陽電池
1か月前
日亜化学工業株式会社
発光素子
20日前
日亜化学工業株式会社
発光装置
22日前
日亜化学工業株式会社
発光装置
29日前
ローム株式会社
光センサ
1か月前
ローム株式会社
半導体装置
7日前
今泉工業株式会社
光発電装置及びその製造方法
1か月前
日本ゼオン株式会社
構造体
22日前
ローム株式会社
RAM
1か月前
日亜化学工業株式会社
発光素子
20日前
ローム株式会社
半導体装置
20日前
住友電気工業株式会社
炭化珪素半導体装置
1か月前
住友電気工業株式会社
炭化珪素半導体装置
1か月前
続きを見る
他の特許を見る