TOP
|
特許
|
意匠
|
商標
特許ウォッチ
Twitter
他の特許を見る
10個以上の画像は省略されています。
公開番号
2025155348
公報種別
公開特許公報(A)
公開日
2025-10-14
出願番号
2024059144
出願日
2024-04-01
発明の名称
窒化物半導体装置
出願人
ローム株式会社
代理人
個人
,
個人
主分類
H10D
30/83 20250101AFI20251006BHJP()
要約
【課題】閾値電圧の変動を低減することができる窒化物半導体装置を提供する。
【解決手段】窒化物半導体装置10は、電子走行層と、電子走行層上に位置し、電子走行層よりも大きなバンドギャップを有する電子供給層42と、電子供給層42に接するソース電極28およびドレイン電極30と、電子供給層42に接する底面を含み、ソース電極28とドレイン電極30との間に位置するゲート層46であって、アクセプタ型不純物を含むゲート層46と、ゲート層46上に位置するゲート電極26とを備えている。ゲート層46は、ゲート電極26に接する第1接触面46A1および第2接触面46A2を含む。ゲート層46は、ゲート電極26にゲート電圧が印加されたときに、第2接触面46A2に流れる単位面積当たりのゲート電流が第1接触面46A1に流れる単位面積あたりのゲート電流よりも大きくなるように構成されている。
【選択図】図2
特許請求の範囲
【請求項1】
電子走行層と、
前記電子走行層上に位置し、前記電子走行層よりも大きなバンドギャップを有する電子供給層と、
前記電子供給層に接するソース電極およびドレイン電極と、
前記電子供給層に接する底面を含み、前記ソース電極と前記ドレイン電極との間に位置するゲート層であって、アクセプタ型不純物を含むゲート層と、
前記ゲート層上に位置するゲート電極と
を備え、
前記ゲート層は、前記ゲート電極に接する第1接触面および第2接触面を含み、
前記ゲート層は、前記ゲート電極にゲート電圧が印加されたときに、前記第2接触面に流れる単位面積当たりのゲート電流が前記第1接触面に流れる単位面積あたりのゲート電流よりも大きくなるように構成されている、窒化物半導体装置。
続きを表示(約 960 文字)
【請求項2】
前記第2接触面の前記アクセプタ型不純物の濃度は、前記第1接触面の前記アクセプタ型不純物の濃度よりも高い、請求項1に記載の窒化物半導体装置。
【請求項3】
前記ゲート層の前記アクセプタ型不純物の濃度は、前記ゲート層の前記底面と交差する厚さ方向に変化しており、前記底面と前記第2接触面との間の前記ゲート層の厚さは、前記底面と前記第1接触面との間の前記ゲート層の厚さよりも小さい、請求項2に記載の窒化物半導体装置。
【請求項4】
前記厚さ方向に変化する前記アクセプタ型不純物の濃度は、前記第1接触面に向かって減少する勾配を含む、請求項3に記載の窒化物半導体装置。
【請求項5】
前記厚さ方向に変化する前記アクセプタ型不純物の濃度は、前記第1接触面に向かって増加する第1の勾配と、前記第1接触面に向かって減少する第2の勾配とを含む、請求項3に記載の窒化物半導体装置。
【請求項6】
前記第2接触面は、前記第1接触面と面一である、請求項2に記載の窒化物半導体装置。
【請求項7】
前記ゲート層は、前記アクセプタ型不純物を第1の濃度で含むベース部分と、前記アクセプタ型不純物を前記第1の濃度よりも高い第2の濃度で含むウェル部分とを含み、前記ウェル部分は、前記第2接触面から前記ゲート層内に延在している、請求項6に記載の窒化物半導体装置。
【請求項8】
前記ゲート層の前記第2接触面を構成する材料のバンドギャップは、前記ゲート層の前記第1接触面を構成する材料のバンドギャップよりも小さい、請求項1に記載の窒化物半導体装置。
【請求項9】
前記底面と前記第2接触面との間の前記ゲート層の厚さは、前記底面と前記第1接触面との間の前記ゲート層の厚さよりも小さい、請求項8に記載の窒化物半導体装置。
【請求項10】
前記第1接触面は、Al
x
Ga
1-x
Nで構成され、前記第2接触面は、Al
y
Ga
1-y
Nで構成され、0≦y<xである、請求項8に記載の窒化物半導体装置。
(【請求項11】以降は省略されています)
発明の詳細な説明
【技術分野】
【0001】
本開示は、窒化物半導体装置に関する。
続きを表示(約 2,200 文字)
【背景技術】
【0002】
現在、窒化ガリウム(GaN)、窒化アルミニウムガリウム(AlGaN)などの窒化物半導体を用いた高電子移動度トランジスタ(High Electron Mobility Transistor:HEMT)の製品化が進んでいる。HEMTでは、電子走行層(例えばGaN層)において、電子供給層(例えばAlGaN層)とのヘテロ接合界面に二次元電子ガス(2-dimensional electron gas:2DEG)が形成される。この2DEGが、電流経路(チャネル)を走行するキャリアとして用いられる。HEMTを用いたパワートランジスタは、典型的なシリコン(Si)パワートランジスタと比較して、低オン抵抗および高速・高周波動作可能なトランジスタとして認知されている。
【0003】
HEMTなどのパワートランジスタでは、フェールセーフの観点から、ゲート電圧が印加されていない場合にドレイン・ソース間のチャネルが遮断されるノーマリーオフ動作が望ましい。特許文献1には、窒化物半導体を用いたノーマリーオフ型のHEMTの一例が開示されている。
【先行技術文献】
【特許文献】
【0004】
国際公開第2020/158394号
【0005】
[概要]
p型のゲート層とショットキー接合を形成するゲート電極を用いたHEMTでは、ゲート電極に電圧を印加すると、閾値電圧が変動することがある。
【0006】
本開示の一態様による窒化物半導体装置は、電子走行層と、前記電子走行層上に位置し、前記電子走行層よりも大きなバンドギャップを有する電子供給層と、前記電子供給層に接するソース電極およびドレイン電極と、前記電子供給層に接する底面を含み、前記ソース電極と前記ドレイン電極との間に位置するゲート層であって、アクセプタ型不純物を含むゲート層と、前記ゲート層上に位置するゲート電極とを備えている。前記ゲート層は、前記ゲート電極に接する第1接触面および第2接触面を含む。前記ゲート層は、前記ゲート電極にゲート電圧が印加されたときに、前記第2接触面に流れる単位面積当たりのゲート電流が前記第1接触面に流れる単位面積あたりのゲート電流よりも大きくなるように構成されている。
【0007】
他の特徴および態様は、以下の詳細な説明、図面、および特許請求の範囲から明らかとなるであろう。
【図面の簡単な説明】
【0008】
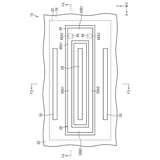
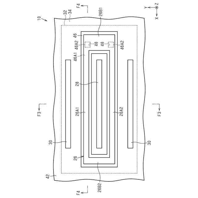
図1は、第1実施形態による例示的な窒化物半導体装置の概略平面図である。
図2は、図1に示した絶縁層の下方に位置する窒化物半導体装置の構成要素を示す概略平面図である。
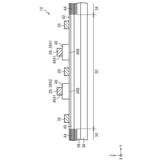
図3は、図2のF3-F3線に沿った窒化物半導体装置の概略断面図である。
図4は、図2のF4-F4線に沿った窒化物半導体装置の概略断面図である。
図5は、厚さ方向に沿ったゲート層中の不純物濃度プロファイルを模式的に示すグラフである。
図6は、厚さ方向に沿ったゲート層中の不純物濃度プロファイルを模式的に示すグラフである。
図7は、厚さ方向に沿ったゲート層中の不純物濃度プロファイルを模式的に示すグラフである。
図8は、厚さ方向に沿ったゲート層中の不純物濃度プロファイルを模式的に示すグラフである。
図9は、厚さ方向に沿ったゲート層中の不純物濃度プロファイルを模式的に示すグラフである。
図10は、厚さ方向に沿ったゲート層中の不純物濃度プロファイルを模式的に示すグラフである。
図11は、図2に示す窒化物半導体装置のドレイン・ソース間電流の主経路領域を示す概略平面図である。
図12は、第2実施形態による例示的な窒化物半導体装置の概略平面図である。
図13は、図12のF13-F13線に沿った窒化物半導体装置の概略断面図である。
図14は、図12のF14-F14線に沿った窒化物半導体装置の概略断面図である。
図15は、第3実施形態による例示的な窒化物半導体装置の概略平面図である。
図16は、図15のF16-F16線に沿った窒化物半導体装置の概略断面図である。
図17は、図15のF17-F17線に沿った窒化物半導体装置の概略断面図である。
【0009】
[詳細な説明]
以下、添付図面を参照して本開示の窒化物半導体装置のいくつかの実施形態を説明する。図面および詳細な説明を通して、同じ参照数字は同じ要素を指す。図面は縮尺通りでない場合があり、図面における要素の相対的な大きさ、比率、および描写は、明瞭さ、説明、および便宜のために誇張されている場合がある。
【0010】
以下の詳細な説明は、記載された方法、装置、および/またはシステムの包括的な理解を提供する。記載された方法、装置、および/またはシステムの変更および均等物は、当業者には明らかである。必然的に特定の順序で生じる動作を除き、動作の順序は例示的なものであり、かつ当業者にとって明らかなように変更することができる。当業者に周知の機能および構造についての説明は省略され得る。例示的な実施形態は、異なる形態を有していてもよく、記載された例に限定されない。
(【0011】以降は省略されています)
この特許をJ-PlatPat(特許庁公式サイト)で参照する
関連特許
ローム株式会社
半導体装置
7日前
ローム株式会社
半導体装置
20日前
ローム株式会社
半導体装置
20日前
ローム株式会社
半導体装置
20日前
ローム株式会社
半導体装置
15日前
ローム株式会社
半導体装置
15日前
ローム株式会社
信号伝達装置
15日前
ローム株式会社
電源制御装置
15日前
ローム株式会社
半導体集積回路
29日前
ローム株式会社
半導体集積回路
今日
ローム株式会社
半導体モジュール
8日前
ローム株式会社
半導体メモリ装置
22日前
ローム株式会社
モータドライバ回路
15日前
ローム株式会社
逐次比較型AD変換回路
7日前
ローム株式会社
半導体装置およびシステム
7日前
ローム株式会社
半導体装置、電子機器、車両
29日前
ローム株式会社
半導体装置、電子機器、車両
29日前
ローム株式会社
昇圧型スイッチングレギュレータ
1日前
ローム株式会社
信号受信装置、IC及び電気機器
13日前
ローム株式会社
モータドライバ回路および駆動方法
今日
ローム株式会社
電圧調整装置及び電荷蓄積システム
1日前
ローム株式会社
半導体装置および半導体装置の製造方法
今日
ローム株式会社
パルス幅変調回路およびモータ駆動装置
29日前
ローム株式会社
半導体装置および半導体装置の製造方法
20日前
ローム株式会社
電圧電流変換回路および半導体集積回路
29日前
ローム株式会社
半導体装置、および半導体装置の製造方法
13日前
ローム株式会社
力率改善回路、制御装置、および電子機器
20日前
ローム株式会社
半導体装置、および半導体装置の製造方法
20日前
ローム株式会社
電源回路、電子コントロールユニット、自動車
7日前
ローム株式会社
雨検出装置、雨検出システム、および、雨検出方法
1日前
ローム株式会社
三相ブラシレスモータのドライバ回路および駆動方法
22日前
ローム株式会社
信号伝達装置、電子機器、車両、絶縁ゲートドライバIC
7日前
ローム株式会社
半導体装置
1か月前
ローム株式会社
半導体装置
28日前
ローム株式会社
制御装置、力率改善回路、電子機器、およびオフセット設定方法
7日前
ローム株式会社
半導体装置、マルチフェーズDC/DCコンバータ及び電源装置
13日前
続きを見る
他の特許を見る