TOP
|
特許
|
意匠
|
商標
特許ウォッチ
Twitter
他の特許を見る
公開番号
2025171764
公報種別
公開特許公報(A)
公開日
2025-11-20
出願番号
2024077413
出願日
2024-05-10
発明の名称
半導体装置
出願人
株式会社東芝
代理人
弁理士法人iX
主分類
H10D
30/87 20250101AFI20251113BHJP()
要約
【課題】特性を向上可能な半導体装置を提供する。
【解決手段】実施形態によれば、半導体装置は、第1~第3電極、半導体部材、第1、第2導電部材を含む。半導体部材は、第1半導体領域及び第2半導体領域を含む。第1半導体領域は、Al
x1
Ga
1-x1
N(0≦x1<1)を含む。第2半導体領域は、Al
x2
Ga
1-x2
N(x1<x2≦1)を含む。第1導電部材は、第1導電部分を含む。第1導電部分の少なくとも一部は、第1方向において第2導電部材と重なる。第2導電部材の少なくとも一部は、第2方向において第3電極と重なる。第1導電部分は、第1部分及び第2部分を含む。第1部分は、第2方向において、第3電極と重なる。第2部分は、第2方向において、第3電極と重ならない。第1導電部分の第1方向に沿う第1長は、第3電極の第1方向に沿う第2長よりも長い。
【選択図】図1
特許請求の範囲
【請求項1】
第1電極と、
第2電極と、
前記第1電極から前記第2電極への第1方向において、前記第1電極と前記第2電極との間に設けられた第3電極と、
半導体部材と、
前記第1電極と電気的に接続された第1導電部材と、
前記第3電極と電気的に接続された第2導電部材と、
第1絶縁部材と、
を備え、
前記半導体部材は、第1半導体領域及び第2半導体領域を含み、
前記第1半導体領域は、Al
x1
Ga
1-x1
N(0≦x1<1)を含み、
前記第1半導体領域は、第1部分領域、第2部分領域、第3部分領域、第4部分領域及び第5部分領域を含み、
前記第1部分領域から前記第1電極への第2方向は、前記第1方向と交差し、
前記第2部分領域から前記第2電極への方向は、前記第2方向に沿い、
前記第3部分領域から前記第3電極への方向は、前記第2方向に沿い、
前記第4部分領域は前記第1部分領域と前記第3部分領域との間にあり、
前記第5部分領域は前記第3部分領域と前記第2部分領域との間にあり、
前記第2半導体領域は、Al
x2
Ga
1-x2
N(x1<x2≦1)を含み、
前記第2半導体領域は、第1半導体部分及び第2半導体部分を含み、
前記第4部分領域から前記第1半導体部分への方向は、前記第2方向に沿い、
前記第5部分領域から前記第2半導体部分への方向は、前記第2方向に沿い、
前記第3電極は、前記第2方向において前記半導体部材と前記第2導電部材との間にあり、
前記第1絶縁部材の少なくとも一部は、前記第3部分領域と前記第3電極との間にあり、
前記第3電極は、前記第1方向において、前記第1絶縁部材と重ならず、
前記第1導電部材は、第1導電部分を含み、
前記第1導電部分の前記第1方向における第1導電部分位置は、前記第2導電部材の前記第1方向における第2導電部材位置と、前記第2電極の前記第1方向における第2電極位置と、の間にあり、
前記第1導電部分の少なくとも一部は、前記第1方向において前記第2導電部材と重なり、
前記第2導電部材の少なくとも一部は、前記第2方向において前記第3電極と重なり、
前記第1導電部分は、第1部分及び第2部分を含み、
前記第1部分は、前記第2方向において、前記第3電極と重なり、
前記第2部分は、前記第2方向において、前記第3電極と重ならず、
前記第1導電部分の前記第1方向に沿う第1長は、前記第3電極の前記第1方向に沿う第2長よりも長い、半導体装置。
続きを表示(約 2,400 文字)
【請求項2】
第1電極と、
第2電極と、
前記第1電極から前記第2電極への第1方向において、前記第1電極と前記第2電極との間に設けられた第3電極であって、前記第3電極は、第1電極部分と、前記第1電極部分と接続された第2電極部分と、を含む、前記第3電極と、
半導体部材と、
前記第1電極と電気的に接続された第1導電部材と、
前記第3電極と電気的に接続された第2導電部材と、
第1絶縁部材と、
を備え、
前記半導体部材は、第1半導体領域及び第2半導体領域を含み、
前記第1半導体領域は、Al
x1
Ga
1-x1
N(0≦x1<1)を含み、
前記第1半導体領域は、第1部分領域、第2部分領域、第3部分領域、第4部分領域及び第5部分領域を含み、
前記第1部分領域から前記第1電極への第2方向は、前記第1方向と交差し、
前記第2部分領域から前記第2電極への方向は、前記第2方向に沿い、
前記第3部分領域から前記第3電極への方向は、前記第2方向に沿い、
前記第4部分領域は前記第1部分領域と前記第3部分領域との間にあり、
前記第5部分領域は前記第3部分領域と前記第2部分領域との間にあり、
前記第2半導体領域は、Al
x2
Ga
1-x2
N(x1<x2≦1)を含み、
前記第2半導体領域は、第1半導体部分及び第2半導体部分を含み、
前記第4部分領域から前記第1半導体部分への方向は、前記第2方向に沿い、
前記第5部分領域から前記第2半導体部分への方向は、前記第2方向に沿い、
前記第3電極は、前記第2方向において前記半導体部材と前記第2導電部材との間にあり、
前記第1絶縁部材の少なくとも一部は、前記第3部分領域と前記第3電極との間にあり、
前記第1電極部分の少なくとも一部は、前記第1方向において、前記第1絶縁部材の一部と、前記第1絶縁部材の別の一部と、の間にあり、
前記第2電極部分の前記第1方向における第2電極部分位置は、前記第1電極部分の前記第1方向における第1電極部分位置と、前記第2電極の前記第1方向における第2電極位置と、の間にあり、
前記第2電極部分は、前記第1方向において前記第1絶縁部材と重ならず、
前記第1導電部材は、第1導電部分を含み、
前記第1導電部分の前記第1方向における第1導電部分位置は、前記第2導電部材の前記第1方向における第2導電部材位置と、前記第2電極位置と、の間にあり、
前記第1導電部分の少なくとも一部は、前記第1方向において前記第2導電部材と重なり、
前記第2導電部材の少なくとも一部は、前記第2方向において前記第3電極と重なり、
前記第1導電部分は、第1部分及び第2部分を含み、
前記第1部分は、前記第2方向において、前記第2電極部分と重なり、
前記第2部分は、前記第2方向において、前記第3電極と重ならず、
前記第1導電部分の前記第1方向に沿う第1長は、前記第2電極部分の前記第1方向に沿う第2長よりも長い、半導体装置。
【請求項3】
前記第1電極部分の少なくとも一部は、前記第1方向において、前記第1半導体部分と前記第2半導体部分との間に設けられた、請求項2に記載の半導体装置。
【請求項4】
前記第1電極部分の一部は、前記第1方向において、前記第4部分領域と前記第5部分領域との間に設けられた、請求項2または3に記載の半導体装置。
【請求項5】
第2導電部材接続部をさらに備え、
前記第2導電部材接続部は、前記第2方向において前記第3電極と前記第2導電部材との間にあり、
前記第2導電部材接続部は、前記第2導電部材を前記第3電極と電気的に接続し、
前記第2導電部材接続部の前記第1方向における幅は、前記第2長よりも短く、前記第2導電部材の前記第1方向における第4長よりも短い、請求項1または2に記載の半導体装置。
【請求項6】
第1導電部材接続部をさらに備え、
前記第1導電部材接続部は、前記第1導電部材を前記第1電極と電気的に接続する、請求項1または2に記載の半導体装置。
【請求項7】
前記第1導電部材は、第2導電部分をさらに含み、
前記第2導電部分は、前記第1導電部分と連続し、
前記第2導電部材の少なくとも一部は、前記第2方向において、前記第3電極と前記第2導電部分との間にある、請求項1または2に記載の半導体装置。
【請求項8】
前記第1導電部材は、第2導電部分をさらに含み、
前記第2導電部分は、前記第1導電部分と連続し、
前記第2導電部分の前記第1方向における第2導電部分位置は、前記第1部分の前記第1方向における第1部分位置と、前記第2電極位置と、の間にあり、
前記第2部分の少なくとも一部は、前記第2方向において、前記半導体部材と前記第2導電部分と、の間にある、請求項1または2に記載の半導体装置。
【請求項9】
前記第1部分は、前記第2方向において、前記第3電極と、前記第2導電部材の一部と、の間に設けられた、請求項1または2に記載の半導体装置。
【請求項10】
前記第2半導体領域は、第3半導体部分をさらに含み、
前記第3半導体部分は、前記第2方向において、前記第3部分領域と前記第3電極との間にある、請求項1または2に記載の半導体装置。
発明の詳細な説明
【技術分野】
【0001】
本発明の実施形態は、半導体装置に関する。
続きを表示(約 2,100 文字)
【背景技術】
【0002】
例えば、トランジスタなどの半導体装置において、特性の向上が望まれる。
【先行技術文献】
【特許文献】
【0003】
特開2020-14441号公報
【発明の概要】
【発明が解決しようとする課題】
【0004】
本発明の実施形態は、特性を向上可能な半導体装置を提供する。
【課題を解決するための手段】
【0005】
本発明の実施形態によれば、半導体装置は、第1電極、第2電極、第3電極、半導体部材、第1導電部材、第2導電部材及び第1絶縁部材を含む。前記第3電極は、前記第1電極から前記第2電極への第1方向において、前記第1電極と前記第2電極との間に設けられる。前記第1導電部材は、前記第1電極と電気的に接続される。前記第2導電部材は、前記第3電極と電気的に接続される。前記半導体部材は、第1半導体領域及び第2半導体領域を含む。前記第1半導体領域は、Al
x1
Ga
1-x1
N(0≦x1<1)を含む。前記第1半導体領域は、第1部分領域、第2部分領域、第3部分領域、第4部分領域及び第5部分領域を含む。前記第1部分領域から前記第1電極への第2方向は、前記第1方向と交差する。前記第2部分領域から前記第2電極への方向は、前記第2方向に沿う。前記第3部分領域から前記第3電極への方向は、前記第2方向に沿う。前記第4部分領域は前記第1部分領域と前記第3部分領域との間にある。前記第5部分領域は前記第3部分領域と前記第2部分領域との間にある。前記第2半導体領域は、Al
x2
Ga
1-x2
N(x1<x2≦1)を含む。前記第2半導体領域は、第1半導体部分及び第2半導体部分を含む。前記第4部分領域から前記第1半導体部分への方向は、前記第2方向に沿う。前記第5部分領域から前記第2半導体部分への方向は、前記第2方向に沿う。前記第3電極は、前記第2方向において前記半導体部材と前記第2導電部材との間にある。前記第1絶縁部材の少なくとも一部は、前記第3部分領域と前記第3電極との間にある。前記第3電極は、前記第1方向において、前記第1絶縁部材と重ならない。前記第1導電部材は、第1導電部分を含む。前記第1導電部分の前記第1方向における第1導電部分位置は、前記第2導電部材の前記第1方向における第2導電部材位置と、前記第2電極の前記第1方向における第2電極位置と、の間にある。前記第1導電部分の少なくとも一部は、前記第1方向において前記第2導電部材と重なる。前記第2導電部材の少なくとも一部は、前記第2方向において前記第3電極と重なる。前記第1導電部分は、第1部分及び第2部分を含む。前記第1部分は、前記第2方向において、前記第3電極と重なる。前記第2部分は、前記第2方向において、前記第3電極と重ならない。前記第1導電部分の前記第1方向に沿う第1長は、前記第3電極の前記第1方向に沿う第2長よりも長い。
【図面の簡単な説明】
【0006】
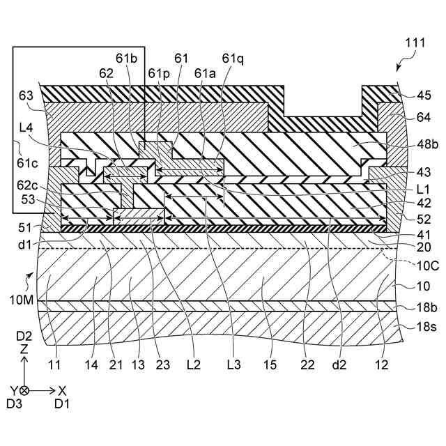
図1は、第1実施形態に係る半導体装置を例示する模式的断面図である。
図2は、第1実施形態に係る半導体装置を例示する模式的断面図である。
図3は、第1実施形態に係る半導体装置を例示する模式的断面図である。
図4は、第1実施形態に係る半導体装置を例示する模式的断面図である。
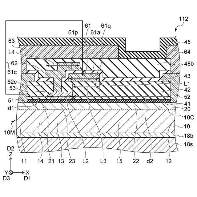
図5は、第2実施形態に係る半導体装置を例示する模式的断面図である。
図6は、第2実施形態に係る半導体装置を例示する模式的断面図である。
【発明を実施するための形態】
【0007】
以下に、本発明の各実施の形態について図面を参照しつつ説明する。
図面は模式的または概念的なものであり、各部分の厚さと幅との関係、部分間の大きさの比率などは、必ずしも現実のものと同一とは限らない。同じ部分を表す場合であっても、図面により互いの寸法や比率が異なって表される場合もある。
本願明細書と各図において、既出の図に関して前述したものと同様の要素には同一の符号を付して詳細な説明は適宜省略する。
【0008】
(第1実施形態)
図1は、第1実施形態に係る半導体装置を例示する模式的断面図である。
図1に示すように、実施形態に係る半導体装置110は、第1電極51、第2電極52、第3電極53、半導体部材10M、第1導電部材61及び第2導電部材62を含む。
【0009】
第1電極51から第2電極52への第1方向D1をX軸方向とする。X軸方向に対して垂直な1つの方向をZ軸方向とする。X軸方向及びZ軸方向に対して垂直な方向をY軸方向とする。
【0010】
第3電極53は、第1方向D1において、第1電極51と第2電極52との間に設けられる。
(【0011】以降は省略されています)
この特許をJ-PlatPat(特許庁公式サイト)で参照する
関連特許
株式会社東芝
電子源
7日前
株式会社東芝
真空バルブ
8日前
株式会社東芝
半導体装置
1日前
株式会社東芝
半導体装置
8日前
株式会社東芝
半導体装置
8日前
株式会社東芝
半導体装置
7日前
株式会社東芝
半導体装置
7日前
株式会社東芝
真空バルブ
3日前
株式会社東芝
光電流センサ
8日前
株式会社東芝
電気化学装置
7日前
株式会社東芝
スイッチギヤ
2日前
株式会社東芝
電気化学装置
2日前
株式会社東芝
半導体デバイス
8日前
株式会社東芝
半導体デバイス
8日前
株式会社東芝
物品方向転換装置
2日前
株式会社東芝
磁気ディスク装置
9日前
株式会社東芝
燃料電池システム
2日前
株式会社東芝
センサ及び電子装置
9日前
株式会社東芝
原子力設備冠水方法
7日前
株式会社東芝
電子機器、表示装置
3日前
株式会社東芝
燃料電池制御システム
3日前
株式会社東芝
回転子および回転電機
2日前
株式会社東芝
半導体装置の検査方法
1日前
株式会社東芝
電源装置及び電源制御方法
14日前
株式会社東芝
アンテナ装置及び無線装置
1日前
株式会社東芝
半導体装置及びその製造方法
9日前
株式会社東芝
レーザ表面溶融硬化処理方法
2日前
株式会社東芝
原子炉格納容器内検査作業装置
7日前
株式会社東芝
回転体のシールフィンの補修方法
7日前
株式会社東芝
水需要予測装置およびプログラム
1日前
株式会社東芝
燃料電池および燃料電池システム
1日前
株式会社東芝
情報処理装置、方法及びプログラム
1日前
株式会社東芝
交通管制装置、および、交通管制方法
7日前
株式会社東芝
電子源、電子装置、及び、電子放出方法
7日前
株式会社東芝
半導体駆動装置、及び、半導体モジュール
7日前
株式会社東芝
検査装置、検査システムおよびプログラム
8日前
続きを見る
他の特許を見る