TOP
|
特許
|
意匠
|
商標
特許ウォッチ
Twitter
他の特許を見る
10個以上の画像は省略されています。
公開番号
2025176489
公報種別
公開特許公報(A)
公開日
2025-12-04
出願番号
2024082673
出願日
2024-05-21
発明の名称
半導体装置
出願人
株式会社東芝
,
東芝デバイス&ストレージ株式会社
代理人
弁理士法人鈴榮特許綜合事務所
主分類
H01L
25/07 20060101AFI20251127BHJP(基本的電気素子)
要約
【課題】ノイズを低減できる半導体装置を提供する。
【解決手段】一実施形態の半導体装置1は、第1電極DE1及び第2電極SE1が設けられた第1スイッチング素子13と、第3電極SE2及び第4電極DE2が設けられた第2スイッチング素子14と、第3電極に接続された第1配線層25、第1電極に接続された第2配線層26、及び第1誘電体層51を含む第1コンデンサ15と、基板20と、第1配線層に接続され、第1電圧VDC-が印加される第3配線層22と、第2配線層に接続され、第2電圧VDC+が印加される第4配線層21と、第2及び第4電極に接続され、第3電圧VSWが印加される第5配線層23とを備える。第1コンデンサは第1及び第2スイッチング素子の間に配置される。第3電極は第1電極と向かい合って配置される。第4電極は、第2電極と向かい合って配置され、第2電極に直列に接続される。
【選択図】図4
特許請求の範囲
【請求項1】
表面に第1電極及び第2電極が設けられた第1スイッチング素子と、
表面に第3電極及び第4電極が設けられた第2スイッチング素子と、
前記第3電極に接続された第1配線層、前記第1電極に接続された第2配線層、及び前記第1配線層と前記第2配線層との間に配置された第1誘電体層を含む第1コンデンサと、
前記第1スイッチング素子、前記第2スイッチング素子、及び前記第1コンデンサが内蔵された基板と、
前記第1配線層に接続され、第1電圧が印加される第3配線層と、
前記第2配線層に接続され、前記第1電圧よりも高い第2電圧が印加される第4配線層と、
前記第2電極及び前記第4電極に接続され、前記第1電圧以上前記第2電圧以下の範囲の第3電圧が印加される第5配線層と
を備え、
前記第1コンデンサは、前記第1スイッチング素子と前記第2スイッチング素子との間に配置され、
前記第3電極は、第1方向において、前記第1電極と向かい合って配置され、
前記第4電極は、前記第1方向において、前記第2電極と向かい合って配置され、且つ前記第2電極に直列に接続される、
半導体装置。
続きを表示(約 1,400 文字)
【請求項2】
前記第1電極及び前記第2電極は、前記第1方向と交差する第2方向において、互いに対向して配置され、
前記第3電極及び前記第4電極は、前記第2方向において、互いに対向して配置される、
請求項1記載の半導体装置。
【請求項3】
前記第1誘電体層の厚さは、前記第1スイッチング素子の厚さよりも薄く、且つ前記第2スイッチング素子の厚さよりも薄い、
請求項1記載の半導体装置。
【請求項4】
前記第1誘電体層は、シリコンまたはチタン酸バリウムを含む、
請求項1記載の半導体装置。
【請求項5】
前記第2配線層の表面の面積は、前記第1スイッチング素子の前記表面の面積よりも大きく、
前記第1配線層の表面の面積は、前記第2スイッチング素子の前記表面の面積よりも大きい、
請求項1記載の半導体装置。
【請求項6】
前記第2配線層は、前記第2スイッチング素子よりも前記第1方向と交差する第2方向に沿って突出しており、
前記第1配線層は、前記第1スイッチング素子よりも前記第2方向に沿って突出している、
請求項1記載の半導体装置。
【請求項7】
前記第2配線層及び前記第4配線層に接続された第6配線層
を更に備え、
前記第1スイッチング素子の裏面は、少なくとも1つの第1ビアを介して前記第6配線層に接続され、
前記第2スイッチング素子の裏面は、少なくとも1つの第2ビアを介して前記第3配線層に接続される、
請求項1記載の半導体装置。
【請求項8】
表面に第5電極及び第6電極が設けられた第3スイッチング素子と、
表面に第7電極及び第8電極が設けられた第4スイッチング素子と、
前記第7電極に接続された第7配線層、前記第5電極に接続された第8配線層、及び前記第7配線層と前記第8配線層との間に配置された第2誘電体層を含む第2コンデンサと、
前記第7配線層に接続され、前記第1電圧が印加される第9配線層と、
前記第8配線層に接続され、前記第2電圧が印加される第10配線層と
を更に備え、
前記第3スイッチング素子、前記第4スイッチング素子、及び前記第2コンデンサは、前記基板に内蔵され、
前記第5配線層は、前記第6電極及び前記第8電極に接続され、
前記第2コンデンサは、前記第3スイッチング素子と前記第4スイッチング素子との間に配置され、
前記第7電極は、前記第1方向において、前記第5電極と向かい合って配置され、
前記第8電極は、前記第1方向において、前記第6電極と向かい合って配置され、且つ前記第6電極に直列に接続される、
請求項1記載の半導体装置。
【請求項9】
前記第5配線層の表面の面積は、前記第3配線層の表面の面積よりも小さい、
請求項1記載の半導体装置。
【請求項10】
前記第1スイッチング素子及び前記第2スイッチング素子は、nチャネルMOSFET、pチャネルMOSFET、GaNトランジスタ、SiC(炭化ケイ素)トランジスタ、IGBT(Insulated Gate Bipolar Transistor)、及びJFETのうちの少なくとも1つを含む、
請求項1記載の半導体装置。
(【請求項11】以降は省略されています)
発明の詳細な説明
【技術分野】
【0001】
本発明の実施形態は、半導体装置に関する。
続きを表示(約 2,600 文字)
【背景技術】
【0002】
電力の変換及び制御を行う半導体装置が知られている。
【先行技術文献】
【特許文献】
【0003】
特開2004-343021号公報
特開2006-032507号公報
特許第5447453号公報
【発明の概要】
【発明が解決しようとする課題】
【0004】
ノイズを低減できる半導体装置を提供する。
【課題を解決するための手段】
【0005】
実施形態に係る半導体装置は、表面に第1電極及び第2電極が設けられた第1スイッチング素子と、表面に第3電極及び第4電極が設けられた第2スイッチング素子と、第3電極に接続された第1配線層、第1電極に接続された第2配線層、及び第1配線層と第2配線層との間に配置された第1誘電体層を含む第1コンデンサと、第1スイッチング素子、第2スイッチング素子、及び第1コンデンサが内蔵された基板と、第1配線層に接続され、第1電圧が印加される第3配線層と、第2配線層に接続され、第1電圧よりも高い第2電圧が印加される第4配線層と、第2電極及び第4電極に接続され、第1電圧以上第2電圧以下の範囲の第3電圧が印加される第5配線層とを備える。第1コンデンサは、第1スイッチング素子と第2スイッチング素子との間に配置される。第3電極は、第1方向において、第1電極と向かい合って配置される。第4電極は、第1方向において、第2電極と向かい合って配置され、且つ第2電極に直列に接続される。
【図面の簡単な説明】
【0006】
第1実施形態に係る半導体装置の回路構成の一例を示す回路図。
第1実施形態に係る半導体装置の適用例を示す回路図。
第1実施形態に係る半導体装置における各スイッチング素子の構成の一例を示す回路図。
第1実施形態に係る半導体装置の構造の一例を示す斜視図。
第1実施形態に係る半導体装置の断面構造の一例を示す断面図。
第1実施形態に係る半導体装置の断面構造の他の一例を示す断面図。
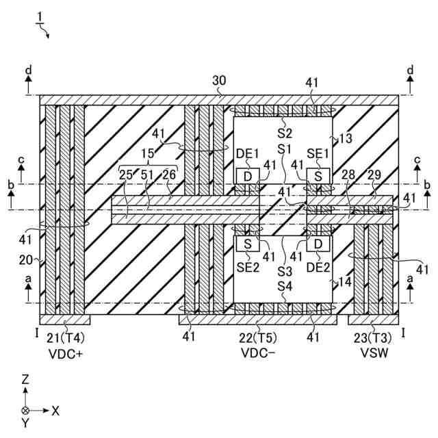
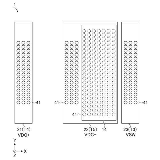
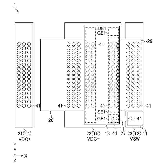
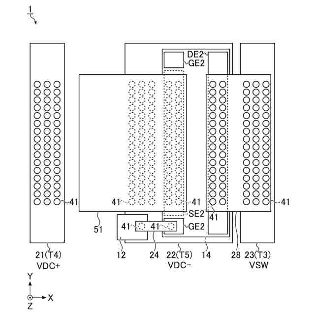
第1実施形態に係る半導体装置の平面構造の一例を示す、図5及び図6のa-a線の位置から見た平面図。
第1実施形態に係る半導体装置の平面構造の一例を示す、図5及び図6のb-b線の位置から見た平面図。
第1実施形態に係る半導体装置の平面構造の一例を示す、図5及び図6のc-c線の位置から見た平面図。
第1実施形態に係る半導体装置の平面構造の一例を示す、図5及び図6のd-d線の位置から見た平面図。
第1実施形態に係る半導体装置の高周波電流経路を示す図。
第2実施形態に係る半導体装置の回路構成の一例を示す回路図。
第2実施形態に係る半導体装置における各スイッチング素子の構成の一例を示す回路図。
第2実施形態に係る半導体装置の断面構造の一例を示す断面図。
第2実施形態に係る半導体装置の断面構造の他の一例を示す断面図。
第2実施形態に係る半導体装置の平面構造の一例を示す、図14及び図15のa-a線の位置から見た平面図。
第2実施形態に係る半導体装置の平面構造の一例を示す、図14及び図15のb-b線の位置から見た平面図。
第2実施形態に係る半導体装置の平面構造の一例を示す、図14及び図15のc-c線の位置から見た平面図。
第2実施形態に係る半導体装置の平面構造の一例を示す、図14及び図15のd-d線の位置から見た平面図。
第2実施形態に係る半導体装置の高周波電流経路、及び高周波電流により生じる磁束を示す図。
第3実施形態に係る半導体装置の回路構成の一例を示す回路図。
第3実施形態に係る半導体装置における各スイッチング素子の構成の一例を示す回路図。
第3実施形態に係る半導体装置の断面構造の一例を示す断面図。
第3実施形態に係る半導体装置の断面構造の他の一例を示す断面図。
第3実施形態に係る半導体装置の高周波電流経路を示す図。
第4実施形態に係る半導体装置の回路構成の一例を示す回路図。
第4実施形態に係る半導体装置における各スイッチング素子の構成の一例を示す回路図。
第4実施形態に係る半導体装置の断面構造の一例を示す断面図。
第4実施形態に係る半導体装置の断面構造の他の一例を示す断面図。
第4実施形態に係る半導体装置の高周波電流経路、及び高周波電流により生じる磁束を示す図。
【発明を実施するための形態】
【0007】
以下、実施形態について図面を参照して説明する。図面の寸法及び比率は、必ずしも現実のものと同一とは限らない。なお、以下の説明において、略同一の機能及び構成を有する構成要素は同一符号を付され、繰り返しの説明は省略される場合がある。同様の構成を有する要素同士を特に区別する場合、同一符号の末尾に、互いに異なる文字または数字を付加する場合がある。また、ある実施形態についての記述は全て、明示的にまたは自明的に排除されない限り、別の実施形態の記述としても当てはまる。
【0008】
1.第1実施形態
第1実施形態に係る半導体装置について説明する。以下では、2つのスイッチング素子を交互に駆動することにより、電力の変換及び制御を行う半導体装置を例に挙げて説明する。本実施形態に係る半導体装置は、例えば、AC-DCコンバータ、DC-ACインバータ、及びDC-DCコンバータ等に適用される。
【0009】
1.1 半導体装置の回路構成
半導体装置の回路構成について、図1を用いて説明する。図1は、半導体装置の回路構成の一例を示す回路図である。
【0010】
半導体装置1は、例えば、電源モジュールである。半導体装置1は、制御端子T1及びT2、ドライバ回路11及び12、入出力端子T3、T4、及びT5、スイッチング素子13及び14、並びにコンデンサ15を含む。
(【0011】以降は省略されています)
この特許をJ-PlatPat(特許庁公式サイト)で参照する
関連特許
株式会社東芝
モータ
2か月前
株式会社東芝
端子台
1か月前
株式会社東芝
電子装置
1か月前
株式会社東芝
吸音装置
2か月前
株式会社東芝
電子回路
1か月前
株式会社東芝
除去装置
28日前
株式会社東芝
電子装置
2か月前
株式会社東芝
半導体装置
1か月前
株式会社東芝
真空バルブ
1か月前
株式会社東芝
半導体装置
1か月前
株式会社東芝
半導体装置
1か月前
株式会社東芝
半導体装置
1か月前
株式会社東芝
半導体装置
14日前
株式会社東芝
半導体装置
1か月前
株式会社東芝
半導体装置
1か月前
株式会社東芝
半導体装置
1か月前
株式会社東芝
半導体装置
1か月前
株式会社東芝
半導体装置
1か月前
株式会社東芝
高周波回路
1か月前
株式会社東芝
半導体装置
1か月前
株式会社東芝
半導体装置
6日前
株式会社東芝
半導体装置
1か月前
株式会社東芝
真空バルブ
1か月前
株式会社東芝
半導体装置
今日
株式会社東芝
半導体装置
今日
株式会社東芝
真空バルブ
今日
株式会社東芝
半導体装置
2か月前
株式会社東芝
半導体装置
1か月前
株式会社東芝
半導体装置
1か月前
株式会社東芝
半導体装置
1か月前
株式会社東芝
半導体装置
1か月前
株式会社東芝
粒子加速器
2か月前
株式会社東芝
電子デバイス
2か月前
株式会社東芝
電子デバイス
2か月前
株式会社東芝
補修システム
1か月前
株式会社東芝
コントローラ
1か月前
続きを見る
他の特許を見る